
Installation
Instructions
CANADA only
Over the Range
Microwave Oven
CVM517P
The power cord of this appliance is equipped with a 125 Volt NEMA 5-20 three-prong plug which mates with a NEMA 5-20 three-prong (grounding) wall receptacle to minimize the possibility of electric shock hazard from this appliance.
ELECTRICAL REQUIREMENTS
Product Rating is 120 volts AC, 60 Hertz, 20 amps, and 1.75 kilowatts.
This product must be connected to a supply circuit of the proper voltage and frequency. Wire size must conform to the requirements of the National Electrical Code or the prevailing local code for this kilowatt rating.
The power supply cord and plug should be brought to a separate 20-ampere branch circuit single grounded outlet.
The outlet box should be located in the cabinet above the microwave oven. The outlet box and supply circuit should be installed by a qualified electrician and conform to the National Electrical Code or the prevailing local code.
BEFORE YOU BEGIN
Read these instructions carefully and completely.
- IMPORTANT – Save these instructions for the local inspector’s use.
- IMPORTANT – Observe all governing codes and ordinances.
- Note to Installer – Be sure to leave these instructions with Consumer.
- Note to Consumer – Keep these instructions for future reference.
- Skill level – Installation of this appliance requires basic mechanical and electrical skills.

READ CAREFULLY.
KEEP THESE INSTRUCTIONS.
31-2000103 09-18 GEA
Installation Instructions
IMPORTANT SAFETY INSTRUCTIONS
A qualified electrician must perform a ground beginning the installation to ensure that the grounded, or if the wall receptacle does not meet
WARNING
Risk of Electric Shock.
Can cause injury or death: Remove house fuse or open circuit breaker before beginning installation to avoid severe or fatal shock injury.
WARNING
Risk of Electric Shock.
Can cause injury or death: THIS APPLIANCE MUST BE PROPERLY GROUNDED to avoid severe or fatal shock.
The power cord of this appliance is equipped with a three-prong (grounding) plug which mates with a standard three-prong (grounding) wall receptacle to minimize the possibility of electric shock hazards from this appliance.
Where a standard two-prong wall receptacle is encountered, it must be replaced with a properly grounded three-prong wall receptacle, installed by a qualified electrician.
RISK OF ELECTRIC SHOCK
WARNING
Can cause injury or death: DO NOT, under any circumstances, cut, deform or remove any of the prongs from the power cord. Do not use an extension cord.
Failure to comply may cause a fire.
ELECTRICAL REQUIREMENTS
Product Rating is 120 volts AC, 60 Hertz, 15 amps, and 1.75 kilowatts. This product must be connected to a supply circuit of the proper voltage and frequency. Wire size must conform to the requirements of the National Electrical Code or the prevailing local code for this kilowatt rating. The power supply cord and plug should be brought to a separate 15- to 20-ampere branch circuit single grounded outlet. The outlet box should be located in the cabinet above the microwave oven. The outlet box and supply circuit should be installed by a qualified electrician and conform to the National Electrical Code or the prevailing local code.
FOR YOUR SAFETY:
CAUTION
For personal safety, the mounting surface must be capable of supporting the cabinet load, in addition to the added weight of this 63–85 pound product, plus additional oven loads of up to 50 pounds or a total weight of 113–135 pounds.
CAUTION
For personal safety, this product cannot be installed in cabinet arrangements such as an island or a peninsula. It must be mounted to BOTH a top cabinet AND a wall.
CAUTION
To avoid the risk of personal injury (back injury or other injuries due to excessive weight of the microwave oven) or property damage, you will need two people to install this microwave oven.
HOOD EXHAUST
127(: 5HDG WKHVH QH[W WZR SDJHV RQO\ iI \RX SODQ WR YHQW \RXU H[KDXVW WR WKH RXWViGH. II \RX SODQ WR UHFiUFXODWH WKH Diu EDFN into the room, proceed to page 11.
OUTSIDE TOP EXHAUST (EXAMPLE ONLY)
7KH IROORZiQJ FKDUW GHVFUiEHV DQ H[DPSOH RI QRH SRVViEOH ductwork installation.

| DUCT PIECES | EQUIVALENT NUMBER LENGTH x USED = | LENGTH | |
![]() | Roof Cap | 24 Ft x (1) = | 24 Ft |
| 12 Ft. Straight Duct (6″ Round) | 12 Ft. x (1) = – | 12 Ft. | |
| Rectangular-to-Round Transition Adaptor* | 5 Ft. x (1) = – | 5 Ft. | |
| Equivalent lengths of duct pieces are based on actual tests and reflect requirements for good venting performance with any vent hood. Total Length = | 41 Ft. | ||
* IMPORTANT: If a rectangular-to-round transition adaptor is used, the bottom corners of the damper will have to be cut to fit, using the tin snips, in order to allow free movement of the damper.
OUTSIDE BACK EXHAUST (EXAMPLE ONLY)
7KH IROORZiQJ FKDUW GHVFUiEHV DQ H[DPSOH RI QRH SRVViEOH ductwork installation.
NOTE: For back exhaust, care should be taken to align exhaust with space between studs, or wall VKRXOG EH SUHSDUHG DW WKH WiPH iW iV FRQVWUXFWHG E\ OHDYiQJ HQRXJK VSDFH EHWZHHQ WKH ZDOO VWXGV WR accommodate exhaust.
| DUCT PIECES | EQUIVALENT NUMBER LENGTH* x USED = | LENGTH | |
| Wall Cap | 40 Ft. x (1) = | 40 Ft. | |
![]() | 3 Ft. Straight Duct (31/4″ x 10″ Rectangular) | 3 Ft. x (1) = | 3 Ft. |
| 90° Elbow | 10 Ft. x (2) = | 20 Ft. | |
| Equivalent lengths of duct pieces are based on actual tests and reflect requirements for good venting performance with any vent hood. Total Length = | 63 Ft. | ||
NOTE: For back exhaust, care should be taken to align exhaust with space between studs, or wall accommodate exhaust.
Installation Instructions
NOTE: duct length of 3 1 4 duct should not exceed 140 equivalent feet.
NOTE: It is important that venting be installed using the most direct route and with as few elbows as possible. blockages. Also, make sure dampers swing freely and nothing is blocking the ducts.
Exhaust connection: a standard 3
1 4 If a round duct is required, a rectangular-to-round transition adaptor must be used. Do not use less than a 6 diameter duct.
Maximum duct length: 3 1 4 x 10 rectangular or 6 diameter round duct should not exceed 140 equivalent feet. Elbows, transitions, wall and roof caps, etc., present additional resistance to airflow and are equivalent to a section of straight duct which is longer duct length, add the equivalent lengths of all transitions and adaptors plus the length of all straight duct sections. equivalent ductwork length using the approximate feet of
| DUCT PIECES | EQUIVALENT LENGTH | NUMBER x USED | = | LENGTH | ||
![]() | Rectangular-to-Round Transition Adaptor* | 5 Ft. | x ( ) | = | Ft. | |
| Wall Cap | 40 Ft. | x ( ) | = | Ft. | ||
| 90° Elbow | 10 Ft. | x ( ) | = | Ft | ||
| 45° Elbow | 5 Ft. | x ( ) | = | Ft. | ||
| 90° Elbow | 25 Ft. | x ( ) | = | Ft. | ||
| 45° Elbow | 5 Ft. | x ( ) | = | Ft. | ||
| Roof Cap | 24 Ft. | x ( ) | = | Ft. | ||
| Straight Duct 6″ Round or 31A” x 10″ Rectangular | 1 Ft. | x ( ) | = | Ft. | ||
| Total Ductwork | = | Ft. |
IMPORTANT: If a rectangular-to-round transition adaptor is used, the bottom corners of the damper will have to be cut to fit, using the tin snips, in order to allow free movement of the damper. Equivalent lengths of duct pieces are based on actual tests
and reflect requirements for good venting performance with vent hood.
DAMAGE – SHIPMENT INSTALLATION
• If the unit is damaged in shipment, return the unit to the store in which it was bought for repair or replacement.
• If the unit is damaged by the customer, repair or
• If the unit is damaged by the installer (if another installer.
| PART | QUANTITY | |
![]() | Wood Screws (VC x 2″) | 2 |
| Toggle Bolts (and wing nuts) (3/46″ x 3″) | 2 | |
| Self-Aligning Machine Screws (1/4″-28 x 31/4″) | 3 | |
| Nylon Grommet (for metal cabinets) | 1 | |
You will find the installation hardware contained in a all these parts.
NOTE: Some extra parts are included.
ADDITIONAL PARTS
| PART | QUANTITY | |
![]() | Top Cabinet Template 1 | 1 |
| Rear Wall Template | 1 | |
| Installation Instructions | 1 | |
| Separately Packed Grease Filter 2 | 2 |
TOOLS YOU WILL NEED
MOUNTING SPACE
NOTES: 30 wide and free of obstructions.
- If the space between the cabinets is greater than 30 in the gap between the microwave oven and the cabinets. Your Owner’s Manual contains ranges up to 36 wide. exhaust duct preparation.
- When installing the microwave oven beneath smooth, flat cabinets, be careful to follow the instructions on the top cabinet template for power cord clearance.
- Models with top venting grilles: Do not allow cabinetry or other objects to block the airflow of the vent.
13” max: for standard installation, 15” cabinet depth requires additional steps using an additional installation kit JX15BUMPWW/ BB..
PLACEMENT OF THE MOUNTING PLATE 1
A. REMOVING THE MICROWAVE OVEN FROM THE CARTON/REMOVING THE MOUNTING PLATE
- Remove the installation instructions, filters, glass tray and the small hardware bag. Do not remove the foam protecting the front of the oven.
- Fold back all 4 carton flaps fully against carton sides. Then carefully roll the oven and carton over onto the top side. The oven should be resting in the foam.

- Pull the carton up and off the oven.
- Remove and properly discard plastic bags.

- Remove the 2 screws from the mounting plate. This plate will be used as the rear wall template and for mounting. You may discard these screws.
FINDING THE WALL STUDS 
- Find the studs, using one of the following methods: A. Stud finder — a magnetic device that locates nails.
OR B. Use a hammer to tap lightly across the mounting surface to find a solid sound. This will indicate a stud location. - After locating the stud(s), find the center by probing the wall with a small nail to find the edges of the stud. Then place a mark halfway between the edges. The center of any adjacent studs should be 16″ or 24″ from this mark.
- Draw a line down the center of the studs.
NOTE: THE MICROWAVE MUST BE CONNECTED TO AT LEAST ONE WALL STUD
DETERMINING WALL PLATE LOCATION UNDER YOUR CABINET
Plate position – beneath flat bottom cabinet

Plate position – beneath the recessed bottom cabinet with front overhang 
Plate position – beneath framed recessed cabinet bottom

Your cabinets may have decorative trim that interferes with the microwave installation. Remove the decorative trim to install the microwave properly and to make it level.
NOTE: THE MICROWAVE MUST BE LEVEL. Use a level to make sure the cabinet bottom is level.
If the cabinets have a front overhang only, with no back or side frame, install the mounting plate down the same distance as the front overhang depth. This will keep the microwave level.
- Measure the inside depth of the front overhang.
- Draw a horizontal line on the back wall an equal distance below the cabinet bottom as the inside depth of the front overhang.
- For this type of installation with front overhang only, align the mounting tabs with this horizontal line, not touching the cabinet bottom as described in Step D.
ALIGNING THE WALL PLATE D.
CAUTION
Wear gloves to avoid cutting fingers on sharp edges.
- Draw a vertical line on the wall at the center of the 30″ wide space.
- Use the mounting plate as the template for the rear wall. Place the mounting plate on the wall, making sure that the tabs are touching the bottom of the cabinet or the level line drawn in Step C for cabinets with front overhang. Line up the notch and centerline on the bottom of the mounting plate to the centerline on the wall.
- While holding the mounting plate with one hand, draw circles on the wall at holes A, B, C, and D (see illustration above/actual plate marked with arrows). Four holes must be used for mounting. 4
NOTE: Holes C and D are inside area E. If neither C nor D is in a stud, find a stud somewhere in area E and draw the fifth circle to line up with the stud. It is important to use at least one wood screw-mounted firmly in a stud to support the weight of the microwave. Set the mounting plate aside.
WARNING
Risk of electric shock. Can cause injury or death. Take care to not drill into electrical wiring inside walls or cabinets. Drill holes on the circles. If there is a stud, drill a 3/46″ hole for wood screws. For holes that don’t line up with a stud, drill a Y8″ hole for toggle bolts. Drill two 5/a” holes for toggle screws. NOTE: DO NOT MOUNT THE PLATE AT THIS TIME.
INSTALLATION TYPES (Choose A, B or C)
This microwave oven is designed for adaptation to the following three types of ventilation:
A. Outside Top Exhaust (Vertical Duct)
B.Outside Back Exhaust (Horizontal Duct)
C. Recirculating (Non-Vented Ductless)
NOTE: This microwave is shipped assembled for Outside Top Exhaust (except for non-vented models). Select the type of ventilation required for your installation and proceed to that section.
AN OUTSIDE TOP EXHAUST (VERTICAL DUCT)

B OUTSIDE BACK EXHAUST HORIZONTAL DUCT)
C RECIRCULATING (NON-VENTED DUCTLESS)
A Charcoal Filter Accessory Kit is required for the non-vented exhaust. (See your Owner’s Manual for the kit number.)
OUTSIDE TOP EXHAUST (Vertical Duct)
INSTALLATION OVERVIEW
Al. Attach Mounting Plate to Wall
A2. Prepare Top Cabinet
A3. Check Blower Motor Orientation
A4. Adapt Blower for Outside Ventilation
A5. Check Damper Operation
A6. Mount Microwave Oven
A7. Adjust Exhaust Adaptor
A8. Connect Ductwork.
A1 ATTACH THE MOUNTING PLATE TO THE WALL
Attach the plate to the wall using toggle bolts. At least one wood screw must be used to attach the plate to a wall stud.
- Recommended locations on the mounting plate are indicated by A, B, C and D. Remove the toggle wings from the bolts.
- Insert the bolts into the mounting plate through the holes designated to go into drywall and reattach the toggle wings to Y4″ onto each bolt.
To use toggle bolts: - Place the mounting plate against the wall and insert the toggle wings into the holes in the wall to mount the plate.

NOTE: Before tightening toggle bolts and wood screws, make sure the tabs on the mounting plate touch the bottom of the cabinet when pushed flush against the wall and that the plate is properly centered under the cabinet.
CAUTION
Be careful to avoid pinching fingers between the back of the mounting plate and the wall. Tighten all bolts. Pull the plate away from the wall to help tighten the bolts. Activate Go to Setter
A2. USE TOP CABINET TEMPLATE FOR PREPARATION OF TOP CABINET
You need to drill holes for the top support screws, a hole large enough for the power cord to fit through, and a cutout large enough for the exhaust adaptor..

- Read the instructions on the TOP CABINET TEMPLATE.
- Tape it underneath the top cabinet.
- Drill the holes, following the instructions on the TOP CABINET TEMPLATE.
NOTE: Wear safety goggles when drilling holes in the cabinet bottom.1 A3.
CHECK BLOWER MOTOR ORIENTATION
The blower fan blade opening should be facing the top of the microwave. If the fan opening is already facing the top of the microwave, skip to Step A5. Otherwise, continue to Step A4 to adjust the motor orientation. A4.
ADAPTING BLOWER FOR OUTSIDE VENTILATION
- Removes and saves the screws that hold the blower motor to the microwave oven.2

- Remove and save the metal blower shield on the top of the microwave by sliding it right.

- Attached is the metal blower shield to the backside of the microwave oven by sliding it down. Blower Shield

- Open the blower door by lifting it up at the back of the microwave oven.

- Carefully pull out the blower unit. The wires will extend far enough to allow you to adjust the blower unit.

- Roll the blower unit 90 so that the fan blade openings are facing the top.

NOTE: Make sure wires remain routed in the grooves of the motor frame.
A4. ADAPTING BLOWER FOR OUTSIDE VENTILATION (Cont.)
7. Place the blower unit back into the opening.

CAUTION
Do not pull or stretch the blower unit wiring. Make sure the wires are not pinched.
8. Close the blower door. Secure the blower to the microwave using the screws from Step 1. A5.
CHECK FOR PROPER DAMPER OPERATION
- Place the microwave in its upright position, with the top of the unit facing up.
- Make sure tape securing damper is removed and damper pivots easily before mounting microwave.
- Slide the damper into place. Make sure it catches in the retaining hooks to secure.
- You will need to make adjustments to assure proper alignment with your house exhaust duct after the microwave is installed.

- Place the microwave in its upright position, with the top of the unit facing up.
- Make sure tape securing damper is removed and damper pivots easily before mounting microwave.
- Slide the damper into place. Make sure it catches in the retaining hooks to secure.
- You will need to make adjustments to assure proper alignment with your house exhaust duct after the microwave is installed.
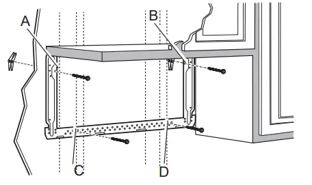
MOUNT THE MICROWAVE OVEN
CAUTION
FOR EASIER INSTALLATION AND PERSONAL SAFETY,
WE RECOMMEND THAT TWO PEOPLE INSTALL THIS MICROWAVE OVEN.
IMPORTANT: Do not grip or use the handle during installation.
NOTE: grommet around the power cord hole to prevent cutting of the cord.
NOTE: We recommend using filler blocks if the cabinet front hangs below the cabinet bottom shelf. IMPORTANT: If filler blocks are not used, case damage may occur from
overtightening screws.
NOTE: When mounting the microwave oven, thread the power cord through the hole in the bottom of top cabinet. Keep it tight throughout Steps 1–3. Do not pinch cord or lift the oven
1. forward, and hook slots at back bottom edge onto four lower tabs of the mounting plate.

3 Insert a self-aligning screw through top center turning the screw at least two full turns after Be sure to keep the power cord tight. Be careful not to pinch the cord, especially when mounting flush to the bottom of the cabinet.

5. Insert 3 self-aligning screws through outer top

7 Install grease filter. See the Owner’s Manual onc

A7. ADJUST THE EXHAUST ADAPTOR
Open the top cabinet and adjust the exhaust adaptor to connect to the house duct.

A8. CONNECTING DUCTWORK
1 Extend the house duct down to connect to the exhaust adaptor.
2. Seal exhaust duct joints using duct tape.
B OUTSIDE BACK EXHAUST (Horizontal Duct)
INSTALLATION OVERVIEW
Bl. Prepare Rear Wall
B2. Attach Mounting Plate to Wall
B3. Prepare Top Cabinet
B4. Adjust Blower
B5. Mount the Microwave Oven

B1. PREPARING THE REAR WALL
FOR OUTSIDE BACK EXHAUST
You need to cut an opening in the rear wall for outside exhaust.

- Read the instructions on the REAR WALL TEMPLATE.
- Tape it to the rear wall, lining up with the holes previously drilled for holes A and B in the wall plate.
- Cut the opening, following the instructions of the REAR WALL TEMPLATE.
B2. ATTACH THE MOUNTING PLATE TO THE WALL

Attach the plate to the wall using toggle bolts. At least one wood screw must be used to attach the plate to a wall stud. Recommended locations on the mounting plate are indicated by A, B, C and D.
Remove the toggle wings from the bolts.
Insert the bolts into the mounting plate through the holes designated to go into drywall and reattach the toggle wings to 3/4″ onto each bolt.
To use toggle bolts:

NOTE: Before tightening toggle bolts and wood screw, make sure the tabs on the mounting plate touch the bottom of the cabinet when pushed centered under the cabinet.
3 Place the mounting plate against the wall and insert the toggle wings into the holes in the wall to mount the plate.
NOTE: Before tightening toggle bolts and wood screw, make sure the tabs on the mounting plate touch the bottom of the cabinet when pushed flush against the wall and that the plate is properly centered under the cabinet.
CAUTION
Be careful to avoid pinching fingers between the back of the mounting plate and the wall.
Tighten all bolts. Pull the plate away from the wall to help tighten the bolts.
B3. USE TOP CABINET TEMPLATE FOR PREPARATION OF TOP CABINET
You need to drill holes for the top support screws and a hole large enough for the power cord to fit through.

- Read the instructions on the TOP CABINET TEMPLATE.
- Tape it underneath the top cabinet.
- Drill the holes, following the instructions on the TOP CABINET TEMPLATE.
CAUTION
Wear safety goggles when drilling holes in the cabinet bottom.
B4. ADAPTING MICROWAVE BLOWER FOR OUTSIDE BACK EXHAUST
1 screw that holds the blower motor to the microwave oven.

2. Open the blower door by lifting it up at the back of the microwave. Remove and save the blower shield on the back of the microwave by sliding it up. Remove and save the metal vent fan cover on the back of the microwave by sliding it up.
3. Carefully pull out the blower unit. The wires will extend far enough to allow you to adjust the blower unit. .003c– I ..04)

4. Rotate the blower unit counterclockwise 180°. C”.4 D

B4. ADAPTING MICROWAVE BLOWER FOR OUTSIDE BACK EXHAUST (cont.)
5 Gently remove the wires from the grooves. Reroute the wires through grooves on other side of the blower unit.
6. Roll the blower unit 90° so that fan blade openings are facing out the back of the microwave. 
7. Locate the two “knockout” plates, on the rear oven panel, near the top of the oven. Using tir snips, carefully cut the web area from the two holes side-by-side (that secure the knockouts to the oven). Cut all four webs on both rear knockouts; this will allow the ventilation fan airflow to exhaust out the rear of the oven.
CAUTION
Be sure to trim the sharp edges from the openings after removing the knockout plates.
Place the blower unit back into the opening. The blower unit exhaust openings should match exhaust openings on rear of microwave.
CAUTION
Do not pull or stretch the blower unit wiring. Make sure the wires are not pinched.

Close the blower door. Slide blower shield onto the top of the blower door opening. Secure the blower to the microwave oven using the blower retaining screws from Step 1 except the upper blower motor retaining screw
10 Slide the exhaust adaptor onto the back of the microwave oven, securing it into the lower locking tabs. Take care to ensure that the damper hinge is installed so that it is at the top and that the damper swings freely. Reinstall the upper blower motor screw through the adaptor and the blower door and into the back of the microwave oven.

MOUNT THE MICROWAVE OVEN
CAUTION
FOR EASIER INSTALLATION AND PERSONAL SAFETY, WE RECOMMEND THAT TWO PEOPLE INSTALL THIS MICROWAVE OVEN. IMPORTANT: Do not grip or use the handle during installation.
NOTE: If your cabinet is metal, use the nylon grommet around the power cord hole to prevent cutting of the cord.
NOTE: We recommend using filler blocks if the cabinet front hangs below the cabinet bottom shelf.
IMPORTANT: If filler blocks are not used, case damage may occur from overtightening screws.
Lift microwave, tilt it forward and hook slots at back bottom edge onto four lower tabs of the mounting plate.
NOTE: When mounting the microwave oven, thread the power cord through the hole in the bottom of top cabinet. Keep it tight throughout Steps 1-3. Do not pinch the cord or lift the oven by pulling the cord.
Rotate front of oven up against cabinet bottom.Insert a self-aligning screw through top center cabinet hole. Temporarily secure the oven by turning the screw at least two full turns after the threads have engaged. (It will be completely tightened later.) Be sure to keep power cord tight. Be careful not to pinch the cord, especially when mounting flush to the bottom of the cabinet.
4. Attach the microwave oven to the top cabinet.
5. Insert 3 self-aligning screws through outer top cabinet holes. Turn two full turns on each screw.
Self-Aligning Screws
6. Tighten the outer three screws to the top of the microwave oven. (While tightening screws, hold the microwave oven in place against the wall and the top cabinet.)
7. Install grease filter. See the Owner’s Manual packed with the microwave. 
RECIRCULATING (Non-Vented Ductless)
INSTALLATION OVERVIEW Cl. Attach Mounting Plate to Wall C2. Prepare Top Cabinet C3. Check Blower Motor Orientation C4. Adapt Blower for Recirculation C5. Mount the Microwave Oven C6. Install Charcoal Filter
ATTACH THE MOUNTING PLATE TO THE WALL
D Attach the plate to the wall using toggle bolts. At least one wood screw must be used to attach the plate to a wall stud. Recommended locations on the mounting plate are indicated by A, B, C and D. Remove the toggle wings from the bolts.Insert the bolts into the mounting plate through the holes designated to go into drywall and reattach the toggle wings to 3/4″ onto each bolt.
To use toggle bolts:
3 Place the mounting plate against the wall and insert the toggle wings into the holes in the wall to mount the plate.
NOTE: Before tightening toggle bolts and wood screw, make sure the tabs on the mounting plate touch the bottom of the cabinet when pushed flush against the wall and that the plate is properly centered under the cabinet.
CAUTION
Be careful to avoid pinching fingers between the back of the mounting plate and the wall. Tighten all bolts. Pull the plate away from the wall to help tighten the bolts.
USE TOP CABINET TEMPLATE FOR PREPARATION OF TOP CABINET
You need to drill holes for top support screws and a hole large enough for the power cord to fit through..

- Read the instructions on the TOP CABINET TEMPLATE.
- Tape it underneath the top cabinet.
- Drill the holes, following the instructions on the TOP CABINET TEMPLATE.
CAUTION
Wear safety goggles when drilling holes in the cabinet bottom.
CHECK BLOWER MOTOR ORIENTATION
The blower fan blade opening should be facing the front of the microwave. If the fan opening is already facing the front of the microwave, skip to Step C5. Otherwise, continue to Step C4 to adjust the blower orientation.
ADAPTING MICROWAVE BLOWER FOR RECIRCULATION
Remove and save screws that hold the blower motor to the microwave oven.
Open the blower door by lifting it up at the back of the microwave oven. 
Carefully pull out the blower unit. The wires will extend far enough to allow you to adjust the blower unit.
Roll the blower unit 90° so that fan blade opening I are facing toward the front of the microwave.
NOTE: Make sure wires remain routed in the grooves of the motor frame.
Place the blower unit back into the opening.
CAUTION
Do not pull or stretch the blower unit wiring. Make sure the wires are not pinched. 
ADAPTING MICROWAVE BLOWER FOR RECIRCULATION (cont.)
Remove the metal vent fan cover on the back of the microwave by sliding it up.

Close the blower door. Slide blower shield onto the top of the blower door opening.

Secure the blower to the microwave using the blower retaining screws from Step 1.
MOUNT THE MICROWAVE OVEN
CAUTION
FOR EASIER INSTALLATION AND PERSONAL SAFETY, WE RECOMMEND THAT TWO PEOPLE INSTALL THIS MICROWAVE OVEN. IMPORTANT: Do not grip or use the handle during installation.
NOTE: If your cabinet is metal, use the nylon grommet around the power cord hole to prevent cutting of the cord. NOTE: We recommend using filler blocks if the cabinet front hangs below the cabinet bottom shelf.
IMPORTANT: If filler blocks are not used, case damage may occur from overtightening screws.
NOTE: When mounting the microwave oven, thread the power cord through hole in the bottom of top cabinet. Keep it tight throughout Steps 1-3. Do not pinch the cord or lift the oven by pulling the cord.
I 1 Lift microwave, tilt it forward and hook slots at back bottom edge onto four lower tabs of the mounting plate. 
I Rotate the front of the oven up against the cabinet bottom.
C5. MOUNT THE MICROWAVE OVEN (cont.)
Insert a self-aligning screw through the top center turning the screw at least two full turns after the threads have engaged. (It will be Be sure to keep the power cord tight. Be careful not to pinch the cord, especially when mounting flush to the bottom of the cabinet.
Attach the microwave oven to the top cabinet.
Insert 3 self-aligning screws through outer top cabinet holes. Turn two full turns on each screw.
Tighten the outer three screws to the top of the microwave oven. (While tightening screws, hold the microwave oven in place against the wall and the top cabinet.)
Install grease filter. See the Owner’s Manual packed with the microwave. 
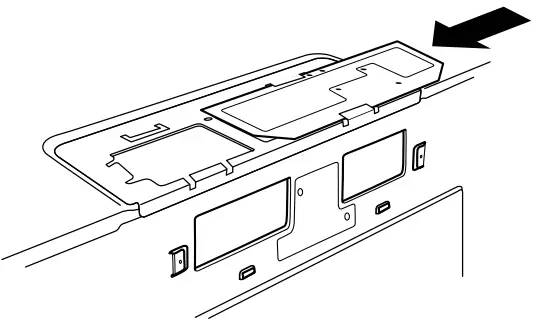
CHARCOAL FILTER
A charcoal filter is installed in all units. Follow the steps below to check the filter.
Open the filter door by pushing down 2 buttons on the top of the microwave just above the filter door.
Push the filter at the bottom until it comes free of the locking tabs. Slide the filter down and out.
Install the charcoal filter. When properly installed, the wire mesh of the filter should be visible from the front. 
Close the door.
BEFORE YOU USE YOUR MICROWAVE
- Make sure the microwave oven has been installed according to instructions.
- Remove all packing material from the microwave oven.
- Install turntable and ring in the cavity.

- Replace house fuse or turn breaker back

- Plug power cord into a dedicated 15- to 20-amp electrical outlet.

- Read the Owner’s Manual.

- KEEP INSTALLATION INSTRUCTIONS FOR THE LOCAL INSPECTOR’S USE.







































