midea MCM1817G1F Microwave Oven

Warning notices: Before using this product, please read this manual carefully and keep it for future reference.
The design and specifications are subject to change without prior notice for product improvement.
Consult with your dealer or manufacturer for details.
The diagram above is just for reference.
Please take the appearance of the actual product as the standard.
THANK YOU LETTER
Thank you for choosing Midea! Before using your new Midea product, please read this manual thoroughly to ensure that you know how to operate the features and functions that your new appliance offers in a safe way.
SAFETY INSTRUCTIONS
Intended Use
The following safety guidelines are intended to prevent unforeseen risks or damage from unsafe or incorrect operation of the appliance. Please check the packaging and appliance on arrival to make sure everything is intact to ensure safe operation. If you find any damage, please contact to Midea’s nominated commercial product suppliers. Please note modifications or alterations to the appliance are not allowed for your safety concern. Unintended use may cause hazards and loss of warranty claims.
Explanation of Symbols
Danger
This symbol indicates that there are dangers to the life and health of persons due to extremely flammable gas.
Warning of electrical voltage
This symbol indicates that there is a danger to life and health of persons due to voltage.
Warning
The signal word indicates a hazard with a medium level of risk which, if not avoided, may result in death or serious injury.
Caution
The signal word indicates a hazard with a low degree of risk which, if not avoided, may result in minor or moderate injury.
Attention
The signal word indicates important information (e.g. damage to property), but not danger.
Observe instructions
This symbol indicates that a service technician should only operate and maintain this appliance in accordance with the operating instructions.
Read these operating instructions carefully and attentively before using/commissioning the unit and keep them in the immediate vicinity of the installation site or unit for later use!
Precautions To Avoid Possible Exposure To Excessive Microwave Energy
- Do not attempt to operate this oven with the door open since this can result in harmful exposure to microwave energy. It is important not to break or tamper with the safety interlocks.
- Do not place any object between the oven front face and the door or allow soil or cleaner residue to accumulate on sealing surfaces.
- WARNING: If the door or door seals are damaged, the oven must not be operated until it has been repaired by a competent person.
Addendum
If the apparatus is not maintained in a good state of cleanliness, its surface could be degraded and affect the lifespan of the apparatus and lead to a dangerous situation.
Important Safety Instructions
WARNING
To reduce the risk of fire, electric shock, injury to persons or exposure to excessive microwave oven energy when using your appliance, follow basic precautions, including the following:
- Read and follow the specific:” PRECAUTIONS TO AVOID POSSIBLE EXPOSURE TO EXCESSIVE MICROWAVE ENERGY”.
- This appliance can be used by children aged from 8 years and above and persons with reduced physical, sensory or mental capabilities or lack of experience and knowledge if they have been given supervision or instruction concerning use of the appliance in a safe way and understand the hazards involved. Children shall not play with the appliance. Cleaning and user maintenance shall not be made by children without supervision.
- Keep the appliance and its cord out of reach of children less than 8 years.
- If the supply cord is damaged, it must be replaced by the manufacturer, its service agent or similarly qualified persons in order to avoid a hazard.
- WARNING: Ensure that the appliance is switched off before replacing the lamp to avoid the possibility of electric shock.
- WARNING: It is hazardous for anyone other than a competent person to carry out any service or repair operation that involves the removal of a cover which gives protection against exposure to microwave energy.
- WARNING: Liquids and other foods must not be heated in sealed containers since they are liable to explode.
- When heating food in plastic or paper containers, keep an eye on the oven due to the possibility of ignition.
- Only use utensils that are suitable for use in micro-wave ovens.
- If smoke is observed, switch off or unplug the appliance and keep the door closed in order to stifle any flames.
- WARNING: Microwave heating of beverages can result in delayed eruptive boiling, therefore care must be taken when handling the container.
- WARNING : The contents of feeding bottles and baby food jars shall be stirred or shaken and the temperature checked before consumption, in order to avoid burns.
- Eggs in their shell and whole hard-boiled eggs should not be heated in microwave ovens since they may explode, even after microwave heating has ended.
- The oven should be cleaned regularly and any food deposits should be removed.
- Failure to maintain the oven in a clean condition could lead to deterioration of the surface that could adversely affect the life of the appliance and possibly result in a hazardous situation.
- The appliance must not be cleaned with a water jet.(for appliances intended to stand on the floor and which are not at least IPX5)
- Only use the temperature probe recommended for this oven. (for ovens provided with a facility to use a temperature-sensing probe.)
- Metallic containers for food and beverages are not allowed during microwave cooking.
- The appliance shall not be cleaned with a steam cleaner.
READ CAREFULLY AND KEEP FOR FUTURE REFERENCE
To Reduce The Risk Of Injury To Persons Grounding Installation
DANGER
Electric Shock Hazard Touching some of the internal components can cause serious personal injury or death. Do not disassemble this appliance.
WARNING
Electric Shock Hazard
Improper use of the grounding can result in electric shock. Do not plug into an outlet until appliance is properly installed and grounded.
This appliance must be grounded. In the event of an electrical short circuit, grounding reduces the risk of electric shock by providing an escape wire for the electric current.
This appliance is equipped with a cord having a grounding wire with a grounding plug. The plug must be plugged into an outlet that is properly installed and grounded.
Consult a qualified electrician or serviceman if the grounding instructions are not completely understood or if doubt exists as to whether the appliance is properly grounded.
If it is necessary to use an extension cord, use only a 3-wire extension cord.
- A short power-supply cord is provided to reduce the risks resulting from becoming entangled in or tripping over a longer cord.
- If a long cord set or extension cord is used:
- The marked electrical rating of the cord set or extension cord should be at least as great as the electrical rating of the appliance.
- The extension cord must be a grounding-type 3- wire cord.
- The long cord should be arranged so that it will not drape over the counter top or tabletop where it can be pulled on by children or tripped over unintentionally.
Utensils
CAUTION
Personal Injury Hazard
It is hazardous for anyone other than a competent person to carry out any service or repair operation that involves the removal of a cover which gives protection against exposure to microwave energy.
See the instructions on “Materials you can use in microwave oven or to be avoided in microwave oven.” There may be certain non-metallic utensils that are not safe to use for microwaving.
If in doubt, you can test the utensil in question following the procedure below.
Utensil Test:
- Fill a microwave-safe container with 1 cup of cold water (250ml) along with the utensil in question.
- Cook on maximum power for 1 minute.
- Carefully feel the utensil. If the empty utensil is warm, do not use it for microwave cooking.
- Do not exceed 1 minute cooking time.
Materials You Can Use In Microwave Oven
| Utensils | Remarks |
| Browning dish | Follow manufacturer’s instructions. The bottom of browning dish must be at least 3/16 inch (5mm) above the turntable. Incorrect usage may cause the turntable to break. |
| Dinnerware | Microwave-safe only. Follow manufacturer’s instructions. Do not use cracked or chipped dishes. |
| Glass jars | Always remove lid. Use only to heat food until just warm. Most glass jars are not heat resistant and may break. |
| Glassware | Heat-resistant oven glassware only. Make sure there is no metallic trim. Do not use cracked or chipped dishes. |
| Oven cooking bags | Follow manufacturer’s instructions. Do not close with metal tie. Make slits to allow steam to escape. |
| Paper plates and cups | Use for short–term cooking/warming only. Do not leave oven unattended while cooking. |
| Paper towels | Use to cover food for reheating and absorbing fat. Use with supervision for a short-term cooking only. |
| Parchment paper | Use as a cover to prevent splattering or a wrap for steaming. |
| Plastic | Microwave-safe only. Follow the manufacturer’s instructions. Should be labeled “Microwave Safe”. Some plastic containers soften, as the food inside gets hot. “Boiling bags” and tightly closed plastic bags should be slit, pierced or vented as directed by package. |
| Plastic wrap | Microwave-safe only. Use to cover food during cooking to retain moisture. Do not allow plastic wrap to touch food. |
| Thermometers | Microwave-safe only (meat and candy thermometers). |
| Wax paper | Use as a cover to prevent splattering and retain moisture. |
Materials To Be Avoided In Microwave Oven
| Utensils | Remarks |
| Aluminum tray | May cause arcing. Transfer food into microwave-safe dish. |
| Food carton with metal handle | May cause arcing. Transfer food into microwave-safe dish. |
| Metal or metal-trimmed utensils | Metal shields the food from microwave energy. Metal trim may cause arcing. |
| Metal twist ties | May cause arcing and could cause a fire in the oven. |
| Paper bags | May cause a fire in the oven. |
| Plastic foam | Plastic foam may melt or contaminate the liquid inside when exposed to high temperature. |
| Wood | Wood will dry out when used in the microwave oven and may split or crack. |
SPECIFICATION
| Product Model | MCM1817G1F |
| Rated Voltage | 230-240 V~ 50 Hz |
| Microwave Input | 3000 W |
| Microwave Output | 1800 W |
- External Dimensions: 420x563x340mm
- Net Weight: Approx. 31.6 kg
- The order of dimensions is width x depth x height; the outline depth includes the length of the handle a stretched back plate while the height value includes the foot.
- The size of the cavity contains the stretch length, and the product of the width, depth and height is multiplied obtain the volume of the cavity. Due to continuous product upgrades, volume parameters and labeling data may differ, with a tolerance range of +12%.
- The actual parameters may be different from the labels as our products are subject to improvement. Please refer to the actual product for specific parameters.
PRODUCT OVERVIEW
Control Panel(with braille) and Features
- Defrost Button

- USB Button
- Power Level Button
- Time Entry Button
- Double Quantity Button
- Triple Quantity Button
- Number Buttons
- Stop Button
- Start Button
Setting Up Your Oven
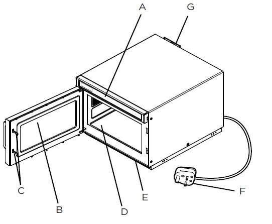
Names of Oven Parts and Accessories
Remove the oven and all materials from the carton and oven cavity.
Your oven comes with the following accessories:
User Manual 1

- A) Control panel
- B) Observation window
- C) Safety interlock system
- D) Ceramic board
- E) Filter
- F) Plug
- G) Ventilation
NOTE
- Don’t press the ceramic board forcibly.
- Take and put the utensils gently during the operation in order to avoid damage to the ceramic board.
- After using, don’t touch the ceramic board by hand in order to avoid high temperature scald.
PRODUCT INSTALLATION
Countertop Installation
Remove all packing material and accessories. Examine the oven for any damage such as dents or broken door. Do not install if oven is damaged.
Cabinet: Remove any protective film found on the microwave oven cabinet surface.
Installation
- Select a level surface that provide enough open space for the intake and/or outlet vents (Figure1).
A 10-cm spacing should be kept between the appliance and right and back walls, and a 30- cm spacing kept on the top. Never dismantle the appliance’s feet, nor block the air intake and exhaust opening. The left side must be open.- Blocking the intake and/or outlet openings can damage the oven.
- Place the oven as far away from radios and TV as possible.
Operation of microwave oven may cause interference to your radio or TV reception. - Plug your oven into a standard household outlet. Be sure the voltage and the frequency is the same as the voltage and the frequency on the rating label.
- Warning: The plug socket, electric appliances or the appliance which are liable effected by heat and moisture should be kept away from any vents on the oven.
- Stacking and installation of the microwave oven. The maximum height of stacking shall be two layers. Specific stacking installation is as follows
- Unscrew and remove the mounting plate, and then tighten the screws.
- Remove the four screws as shown in Figure.
- Mount the mounting plate to the lower position and fix the screws that are just loosened.

Installation (supplement)
- The switching operation of this microwave oven can cause voltage fluctuations on the supply line. The operation of this oven under unfavorable voltage supply conditions can have adverse effects. This device is intended for the connection to a power supply system with a maximum permissible system impedance Zmax of 0.2 Ohms at the interface point of the user’s supply. The user has to ensure that this device is connected only to a power supply system which fulfills the requirement above. If necessary, the user can ask the public power supply company for the system impedance at the interface point.
- If there is no equipotential bonding conductor in the electric supply, an external equipotential bonding conductor must be installed at the rear of the appliance (see symbol). This terminal shall be in effective electrical contact with all fixed exposed metal parts and shall allow the connection of a conductor having a nominal cross-sectional area up to 10 mm².

Symbol for the external connection of equipotential bonding conductors.
OPERATION INSTRUCTIONS
Appendix. A User Options
| Option | Setting | Description |
| 1 EOC Tone | OP:10 | Beeper sounds three times |
| OP:11 | Continuous beep | |
| OP:12 | 5 quick beeps(repeating) | |
| 2 Beeper Volume | OP:20 | Beeper Off |
| OP:21 | Low | |
| OP:22 | Medium | |
| OP:23 | High | |
| 3 Key Tone On/Off | OP:30 | Off |
| OP:31 | On | |
| 4 Keyboard Window | OP:40 | no operation in ready, pause or set state for 15sec, idle mode will be entered |
| OP:41 | No operation in ready, pause or set state for 30sec, idle mode will be entered | |
| OP:42 | No operation in ready, pause or set state for 60sec, idle mode will be entered | |
| OP:43 | No operation in ready, pause or set state for 120sec, idle mode will be entered | |
| 5 On the Fly | OP:50 | Pressing number keys can’t switch |
| OP:51 | Pressing number keys can switch | |
| 6 Door Reset | OP:60 | Open the door to enter pause mode |
| OP:61 | Open the door and return | |
| 7 Start Cook | OP:70 | After successfully scanning the menu, close the oven door and press “START” to start cooking. |
| OP:71 | After successfully scanning the menu, close the oven door and start directly. | |
| 8 Manual Programming | OP:80 | Manual Programming disabled |
| OP:81 | Manual Programming Enabled | |
| 0 Clean Filter | OP:00 | Off-Never Display Clean filter |
| OP:01 | Weekly-Display every 7 days | |
| OP:02 | Monthly-Display every 30 days | |
| OP:03 | Quarterly-Display every 90 days |
NOTE:
SEE ” USER OPTION MODE” FOR DETAILED SETTING STEPS.
Appendix. B Default Cook Times
Press the number key to quickly activate the preset time and firepower.
| Button | Display (Time) | Power |
| 1 | 0:10 | 100% |
| 2 | 0:20 | 100% |
| 3 | 0:30 | 100% |
| 4 | 0:45 | 100% |
| 5 | 1:00 | 100% |
| 6 | 1:30 | 100% |
| 7 | 2:00 | 100% |
| 8 | 2:30 | 100% |
| 9 | 3:00 | 100% |
| 0 | 3:30 | 100% |
Power Up
When the oven is electrified for the first time, “ ——- ” will display on the screen.
If the “
” button is pressed, the oven will enter Idle Mode
Idle Mode
In Idle Mode, the screen will display “ ECO ”.
NOTE:
- In Pause Mode or Ready Mode, if there is no operation of any button within 1 minute and you have set “OP:40”, “OP:41”, “OP:42” or “OP:43” , the oven will enter to Idle Mode after 15, 30, 60, or 120 seconds correspondingly.
- If you press the “
” button, a buzzer will ring, but nothing will work. .
Ready Mode
- In this mode, the oven is ready to begin a cook cycle.
- Opening and closing the door while the oven is in Idle Mode will put the oven into Ready Mode.
- During Ready Mode, “READY” will display.
Door Open Mode
When the furnace door is open, the oven will enter the Door Open Mode. “DOOR” and “OPEN” will display.
NOTE:
- When the door is open, if User Option OP:60 is selected and the oven was running a manual cook entry or preset program cook mode, the oven will enter Pause Mode. If User Option OP:61 is selected and the oven was running a manual cook entry or preset program cook mode, the oven will enter the Door Open Mode.
- In this mode, “TIME ENTRY” or “DEFROST” can not be pressed to enter cooking setting.
Pause Mode
- When the microwave oven is running in its own or preset cooking state, press “
” to enter Pause Mode. The screen will display remaining cooking time. - Press “
” to enter Ready Mode or press “
” to start cooking.
Manual Cook Entry Mode
- You can manually enter a cook time and power level while in this mode.
- Press “TIME ENTRY” and press number keys to enter cooking time. The maximum time is 60 minutes.
- Press “POWER LEVEL” and press number keys to enter power level 0-10.
- Press “
” to start cooking.
| Level | 10 | 9 | 8 | 7 | 6 | 5 | 4 | 3 | 2 | 1 | 0 |
| Power | 100% | 90% | 80% | 70% | 60% | 50% | 40% | 30% | 20% | 10% | 0% |
Preset Program Cook Mode
- This mode allows cooking of food items through a one pad touch operation. While in Ready Mode, pressing number buttons will cause the oven to run the Preset Program associated with that number button.
- During this mode, the screen displays the remaining cooking time. If it is multi-stage cooking, the total remaining cooking time displays not a particular stage cooking time.
- Press “
” to start cooking.
End of Cook Cycle Mode
- After the time has expired in a Manual Cook Entry Mode or Preset Program Cook Mode, the oven will enter the End of Cook Cycle Mode.
- During this mode, “DONE” will display.
- If the OP:11 or OP:12 is selected, the oven will continue to sound until you open the door or press “
”. If OP:10 is selected, the oven will sound three times.
On the Fly Cooking
- In Preset Program Cook Mode, if the OP:51 is set, press number key to select other preset program.
- Press “
” to start cooking.
Time Defrost Function
- In Ready Mode, press “DEFROST” button.
- Press number keys to enter time. The maximum time is 99 minutes and 99 seconds.
- Press “
” to start cooking,
Manual Preset Program Cook Mode
In this mode, you can specify the cooking time and power level.
- If you have set the user option “OP:81” mode, open the door and press “1” pad for 5 seconds, the buzzer will sound once and enter to this mode.
- “PROGRAM” displays on the screen.
- Press the number key “0-99” to select a preset program.
- The screen will display preset time and power level. Press number keys to set a new cooking time. The maximum time is 60 minutes.
- Press “POWER LEVEL” and press number keys to set a new power level.
- Press “
” to save.
NOTE:
- If the electricity is cut off, the saved program will not lost.
- If the program need to reset , just repeat the above steps.
- If press “
at the last step, it will turn back to Ready Mode. The setting is invalid.
Double/ Triple Quantity Cooking
- In Ready Mode, press “X2” or “X3”, the screen will display “DOUBLE” or “TRIPLE”. Press number keys to start the corresponding quantity cooking time.
For example, if the preset cooking time for 5 number key is 5 minutes, then it will change to 10 minutes if “X2” is pressed.
NOTE:
This function is only available for Preset Program Cook Mode.
Filter Cleaning Function
- If User Option OP:01 is selected and the setting time arrives, the oven will remind you to cleaning the filter.
NOTE: The oven must be electrified. - The screen will display “CLEAN FILTER”. At this time, opening the door will enter Ready Mode.
- If you do not need to clean the filter, press “
“ button and hold for 3 seconds.
Multi-Stage Cooking
You can set this mode in manual preset program cook mode or manual cook entry mode.
- Three stages can be set. After setting the power level and time for the first stage, press “TIME ENTRY” and then press number keys to set the time. Then press “POWER LEVEL” and the press number keys to set the power level for the second stage. The third stage is same operation.
- Press “
” to start cooking.
Example: In manual preset program cook mode, press number key “3” to set two stages The first stage is 70% and time is 1 minute 25 seconds. The second stage is 50% and 5 minutes and 40 seconds. The steps are follow.
- Open the door, press number key “1” for 5 seconds. “PROGRAM” displays.
- Press number button “3”, the screen will display “P:03”. After two seconds, the screen will display the related time “ :30”.
- Press “1”,”2”,”5” to input the cooking time. “1:25” displays.
- Press “POWER LEVEL” then press” 7”. The first stage is finished.
- Press “ TIME ENTRY “, “STAGE-2” displays.
- Press “5”, “4”,”0” key, “5:40” displays.
- Press “POWER LEVEL” then press “5”. The second stage is finished.
- Press “
button to start cooking.
User Option Mode
- Open the oven door and press “2” number key for 5 seconds. The buzzer sounds once and enter this mode.
- The screen will display “OP:–”.
- Press number keys to enter related mode setting. (See the appendix A )
- Press “
” to save.
Factory- default setting
- In Ready Mode, press “
” + “ 0 ”, the screen will display “CHECK”. - If it is in the factory-default setting, the screen will display “11”. If it is not in the factory-default setting, the screen will display “00”.
- Press “
” to enter factory-default setting. “CLEAR” will display.
USB Function
- During Ready Mode, insert the U disk which saved the “UTABLE” file.
- Press “USB” button to update the data of computer board. “LOADING” displays.
- If the update is successful, the screen will display “SUCCESS”. Otherwise, “FAIL” will display.
- Press “
or open the door to finish it.
How to set the U disk
- Insert the U disk to computer and open the file called “Setup”.

- Double-click “MenuEdit” to enter editable interface.
(Recommendation: Right-click and choose “Run as administrator ”)
- Set the maximum cooking time of single menu.

- Set the first menu, two stages of cooking can be maximumly set . And you can set the cooking time and power.

- Click “ New Line ” to create the second menu, the third menu , the forth menu … And 20 menus can be maximumly set.

- Click “ Export File ” to export the file to U disk. And the file will be named “UTABLE.C ”. Then click “ Save ”to finish the setting.

CLEANING
Be sure to unplug the appliance from the power supply.
- Clean the inside of the oven after using with a slightly damp cloth.
- Clean the accessories in the usual way in soapy water.
- The door frame and seal and neighboring parts must be cleaned carefully with a damp cloth when they are dirty.
Always keep the oven clean
- Cleaning the glass viewing window, the inner door panel and oven front face.
For best performance and to maintain the high degree of safety, the inner door panel and oven front face should be free of food or grease build-up. Wipe these parts with a mild detergent, rinse and wipe dry. Never use abrasive powders or pads. - Cleaning the control panel and plastic parts.
Do not apply a detergent or an alkaline liquid spray to the control panel and plastic parts, as this may cause damage to these parts.
Use a dry cloth (not a soaked cloth) to clean these parts. - Cleaning the oven interior
After use be sure to clean up spilled liquids, spattered oil and food debris as quickly as possible. If the oven is used when dirty, efficiency drops and the dirt gets stuck on the oven surface and may cause bad odours. Clean the interior with a cloth soaked in warm water with a mild detergent dissolved in it, then rinse the soap off with a damp cloth.
- Cleaning the oil blockage regularly, keep the oil blockage clear .Otherwise, the stain on the oil blockage will drop on the food.
- Cleaning the filter regularly, keep it clear .The appliance will over heat when the filter is blocked.
- When the appliance is operated, oil blockage and filter location must correct, avoiding to damage other parts(the installation in page 26).
CAUTION
Do Not wipe plastic and painted sections of the oven with bleach, thinners or other cleaning agents, as this may cause these parts to dissolve or change sharp.
Filter cleaning
The front filter serves as the air inlet; the filter should be cleaned on time to keep the chamber clean.
- Turn counterclockwise to unscrew and take down the filter ; and wash it with warm soap water;
- Install the filter screen Tighten clockwise the screws to fix the filter ;
- Make sure the filter is installed before use of the microwave oven;
- The factory setting has the function to remind the user of washing the filter every 30 days.
Splash shield cleaning
- Detaching: Hold the two buckle positions in front of the splash shield with your hands (as shown by the arrows). Exert your strength following the direction of the arrows and pull downwards after you have pulled out the buckles:
- Wash the splash shield:
- Installation: Pick up the splash shield and obliquely put it into the chamber in the way that insert the first pin at the rear into the positioning hole on the rear plate of chamber, then push the other side to insert all positioning pins into their positioning holes.
TROUBLE SHOOTING
| Normal | |
| Microwave oven interfering TV reception | Radio and TV reception may be interfered when microwave oven operating. It is similar to the interference of small electrical appliances, like mixer, vacuum cleaner, and electric fan. It is normal. |
| Dim oven light | In low power microwave cooking, oven light may become dim. It is normal. |
| Steam accumulating on door, hot air out of vents | In cooking, steam may come out of food. Most will get out from vents. But some may accumulate on cool place like oven door. It is normal. |
| Oven started accidentally with no food in. | It is forbidden to run the unit without any food inside. It is very dangerous |
| Trouble | Possible Cause | Remedy |
| Oven cannot be started. | • Power cord is not plugged in tightly. | • Unplug. Then plug again after 10 seconds. |
| • Fuse blowing or circuit breaker works. | • Replace fuse or reset circuit breaker (repaired by qualified technician only).) | |
| • Trouble with socket | • Test the socket with other electrical appliances. | |
| Oven does not heat-up. | • The door is not closed properly. | • Make sure the door is properly closed. |
According to Waste of Electrical and Electronic Equipment (WEEE) directive, WEEE should be separately collected and treated. If at any time in future you need to dispose of this product please do NOT dispose of this product with household waste. Please send this product to WEEE collecting points where available.
TRADEMARKS, COPYRIGHTS AND LEGAL STATEMENT
logo, word marks, trade name, trade dress and all versions thereof are valuable assets of Midea Group and/or its affiliates (“Midea”), to which Midea owns trademarks, copyrights and other intellectual property rights, and all goodwill derived from using any part of an Midea trademark. Use of Midea trademark for commercial purposes without the prior written consent of Midea may constitute trademark infringement or unfair competition in violation of relevant laws.
This manual is created by Midea and Midea reserves all copyrights thereof. No entity or individual may use, duplicate, modify, distribute in whole or in part this manual, or bundle or sell with other products without the prior written consent of Midea.
All the described functions and instructions were up to date at the time of printing this manual. However, the actual product may vary due to improved functions and designs.
DISPOSAL AND RECYCLING
Important instructions for environment
Compliance with the WEEE Directive and Disposing of the Waster Product:
This product complies with EU WEEE Directive (2012/19/EU). This product bears a classification symbol for waster electrical and electronic equipment (WEEE).
This symbol indicates that this product shall not be disposed with other household wastes at the end of its service life. Used device must be returned to official collection point for recycling of electrical electronic devices. To find these collection systems please contact to your local authorities or retailer where the product was purchased. Each household performs important role in recovering and recycling of old appliance. Appropriate disposal of used appliance helps prevent potential negative consequences for the environment and human health.

Compliance with RoHS Directive
The product you have purchased complies with EU RoHS Directive (2011/65/EU). It does not contain harmful and prohibited materials specified in the Directive.
Package information
Packaging materials of the product are manufactured from recyclable materials in accordance with our National Environment Regulations. Do not dispose of the packaging materials together with the domestic or other wastes. Take them to the packaging material collection points designated by the local authorities.

www.mideahk.com
Midea (HK) 2022 all rights reserved


Danger
Warning of electrical voltage
Warning
Caution
Attention
Observe instructions
A 10-cm spacing should be kept between the appliance and right and back walls, and a 30- cm spacing kept on the top. Never dismantle the appliance’s feet, nor block the air intake and exhaust opening. The left side must be open.






















