MaxLite SECS15UCSBPC SECS Series Guardmax Slim Profile Outdoor Security Light

Picture is for illustration purposes only. Your model may vary.
SECS Series
- Operating Temperature: -40°C to 45°C
- Rated Voltage: 120-277 Vac 50/60Hz
General Safety Information
- To reduce the risk of death, personal injury or property damage from fire, electric shock, falling parts, cuts/abrasions, and other hazards read all warnings and instructions included with and on the fixture box and all fixture labels.
- Before installing, servicing, or performing routine maintenance upon this equipment, follow these general precautions.
- Commercial installation, service and maintenance of luminaires should be performed by a qualified licensed electrician.
- For Residential installation: If you are unsure about the installation or maintenance of the luminaires, consult a qualified licensed electrician and check your local electrical code.
- DO NOT INSTALL DAMAGED PRODUCT!
- This fixture is intended to be connected to a properly installed and grounded UL listed junction box.
WARNING:
RISK OF ELECTRICAL SHOCK
- Turn off electrical power at fuse or circuit breaker box before wiring fixture to the power supply.
- Turn off the power when you perform any maintenance.
- Verify that supply voltage is correct by comparing it with the luminaire label information.
- Make all electrical and grounded connections in accordance with the National Electrical Code and any applicable local code requirements.
- All wiring connections should be capped with UL approved wire connectors.
- Do not handle energized fixture when hands are wet, when standing on wet or damp surfaces, or in water.
CAUTION: RISK OF INJURY
- Wear gloves and safety glasses at all times when removing luminaire from carton, installing, servicing or performing maintenance.
- Avoid direct eye exposure to the light source while it is on.
- Account for small parts and destroy packing material, as these may be hazardous to children.
CAUTION: RISK OF FIRE
- Keep combustible and other materials that can burn away from luminaire and lamp/lens
- MIN 90°C SUPPLY CONDUCTORS.
Setting Wattage & Color Temperature

Use CCT swith to adjust color temperature. (3000K or 4000K or 5000K.

Use internal wattage select dial to choose desired wattage. (30W WCS models only.)
General Wiring Diagram

CAUTION: Turn off electrical power at fuse or circuit breaker box before wiring fixture to the power supply.
Installation Instructions – Method 1
Disconnect the power by turning off the circuit breaker or by removing the appropriate fuse at the fuse box. Turning the power off using the light switch is not sufficient to prevent electrical shock.
Note: There is an “UP” label on the fixture’s backplate to indicate proper orientation.
Note: Add a bead of exterior grade silicone sealant around the perimeter of the wall pack on the wall to inhibit any moisture from attachment bolts.
- Turn off the power.

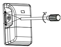
- Loosen the four screws shown in diagram below.

- Remove the 1/2 end cap.

- Peel off the yellow sticker and apply it to the round area of the bottom plate.

- Fix the bottom plate to the round plate.

- Make your wiring connections.

- If you do not wish to use the photocell, unplug connector located at the top of fixture housing.

- For CCT and Wattage selectable models, set preferences before closing up the fixture.

- Replace bottom plate and tighten the four screws.

- Turn on the power after making sure all screws are tightend and the wire connections are properly made.

Installation Instructions – Method 2
Disconnect the power by turning off the circuit breaker or by removing the appropriate fuse at the fuse box. Turning the power off using the light switch is not sufficient to prevent electrical shock.
Note: There is an “UP” label on the fixture’s backplate to indicate proper orientation.
Note: Add a bead of exterior grade silicone sealant around the perimeter of the wall pack on the wall to inhibit any moisture from attachment bolts.
- Turn off the power.

- Loosen the four screws shown in diagram below.

- Peel off the black sticker and apply it to the round area of the bottom plate.

- Screw the bottom plate into the wall.

- Remove one of the 1/2 end caps and retrieve wire.

- Make your wiring connections.

- If you do not wish to use the photocell, unplug connector located at the top of fixture housing.

- For CCT and Wattage selectable models, set preferences before closing up the fixture.

- Replace bottom plate and tighten the four screws.

- Turn on the power after making sure all screws are tightend and the wire connections are properly made.

Warranty Information
MaxLite Inc. warrants its products for a minimum period of FIVE (5) years from the date of original purchase from MaxLite or its authorized distributor/dealer (the “Warranty Period”), as follows: If a Product fails to operate during the Warranty Period as a result of defects in materials or workmanship, MaxLite will, at its option, repair it, replace it with the same or like Product.
Please refer to Maxlite’s website (at http://maxlite.com/resources/warranties) for the complete terms and conditions of our warranty.
Limitation of Liability
THE FOREGOING WARRANTY IS EXCLUSIVE, AND IS THE SOLE REMEDY FOR ANY AND ALL CLAIMS, WHETHER IN CONTRACT, IN TORT OR OTHERWISE ARISING FROM THE FAILURE OF PRODUCT AND IS IN LIEU OF ALL OTHER WARRANTIES, EXPRESS OR IMPLIED, INCLUDING ALL WARRANTIES OF MERCHANTABILITY OR FITNESS FOR A PARTICULAR PURPOSE, WHICH WARRANTIES ARE HEREBY EXPRESSLY DISCLAIMED TO THE EXTENT PERMITTED BY LAW AND, IN ANY EVENT, SHALL BE LIMITED TO THE WARRANTY PERIOD SPECIFIED ABOVE. THE LIABILITY OF MAXLITE SHALL BE LIMITED TO THE TERMS OF THE EXPRESS WARRANTY SET FORTH HEREIN. IN NO EVENT WILL MAXLITE BE LIABLE FOR ANY SPECIAL, INCIDENTAL OR CONSEQUENTIAL DAMAGES INCLUDING, WITHOUT LIMITATION, DAMAGES RESULTING FROM LOSS OF USE, PROFITS, BUSINESS OR GOODWILL, LABOR COSTS, REMOVAL OR INSTALLATION COSTS, DECREASE IN THE LIGHT OUTPUT OF THE LAMP, AND/OR DETERIORATION IN THE LAMP’S PERFORMANCE, WHETHER OR NOT MAXLITE HAS BEEN ADVISED OF THE POSSIBILITY THEREOF. UNDER NO CIRCUMSTANCES SHALL MAXLITE’S ENTIRE LIABILITY FOR A DEFECTIVE PRODUCT EXCEED THE PURCHASE PRICE OF THAT PRODUCT. WARRANTY SERVICES PROVIDED UNDER THESE TERMS AND CONDITIONS DO NOT ENSURE THE UNINTERRUPTED OPERATION OF PRODUCTS; MAXLITE SHALL NOT BE LIABLE FOR DAMAGES CAUSED BY ANY DELAYS INVOLVING WARRANTY SERVICE.
This Limited Warranty gives you specific legal rights and you may also have other rights that may vary from state to state. Because some states or jurisdictions do not allow the exclusion or limitation of liability for consequential or incidental damages, this limitation may not apply to you.







































