
ASSEMBLY & INSTALLATION
SOLAR MOTION ACTIVATED SECURITY LIGHT
ITM. / ART. 1600329 MODEL : 82193

To be used for mounting on common surfaces such as wood, drywall, brick, etc. For any other mounting options, please visit your local hardware store.
IMPORTANT, RETAIN FOR FUTURE REFERENCE: READ CAREFULLY
Questions, problems, missing parts?
For assistance with assembly or instruction, parts, and customer service, call: S.A. & Canada only: 1-888-478-6435 English/French/Spanish language services). ….30 am – 5 pm Monday-Friday, Eastern Standard Time or email: [email protected] www.sunforceproducts.com
CAUTIONS: SAFETY INFORMATION
- Your motion light is not a toy. Keep it out of reach of small children.
- Your motion light and solar panel are both weather-resistant.
- You can mount your motion light indoors, but your solar panel must be installed outdoors to receive light from the sun.
- If using a step ladder, you may require a second person to help install the solar motion light.
- Prior to installation, layout all components to ensure they correspond to the parts diagram on the cover page.
- Never look directly into the solar motion light when illuminated.
CAUTIONS: BATTERY INSTRUCTIONS
- USE RECHARGEABLE BATTERIES ONLY.
- Always purchase the correct size and grade of battery most suitable for the intended use: for this product use two rechargeable 18650 3.7V lithium-ion batteries.
- Always replace the whole set of batteries at one time, taking care not to mix old and new ones or batteries of different types.
- Clean the battery contacts and also those of the device prior to the battery installation.
- Ensure the batteries are installed correctly with regard to polarity (+ and -).
- Remove batteries from equipment that are not to be used for an extended period of time.
- Remove any defective or ‘dead’ batteries immediately and replace them.
For recycling and disposal of batteries to protect the environment, please check the Internet or your local phone directory for local recycling centers and/or follow local government regulations. For more information on battery housing and location, refer to Step 7 on page 3.
CARE & MAINTENANCE
- From time to time, ensure the plug between the solar panel and light is securely connected.
- It is advisable to adjust the angle of the solar panel to optimize the exposure to the sun during the winter months.
- The solar panel should be cleaned with a damp cotton cloth on a regular basis. This will ensure optimal performance and battery charging. Periodically, utilize the same technique to clean the lenses of the motion light.
- Never let any abrasive material come into contact with the solar panel.
PRODUCT FEATURES
- Super bright white LEDs
- Adjustable time and distance settings
- Dual brightness settings
- Adjustable motion sensor
- Solar panel with 4.5 m / 14.7 ft wire
- Frosted lenses
- Easy mounting solution
PRE-INSTALLATION
- TEST allows the motion light to operate in daylight. Prior to installation select test and the light will come on, and then it will turn off. This is normal. After the light has turned off, wave your hand in from of the motion sensor and the light should activate again. The light is working and you can proceed with the installation.
- Remember it is important to make sure the light is only in TEST mode during initial installation or when troubleshooting.
- REFER TO STEP 6.
INSTALLATION

- Ensure your solar panel is placed so that its exposure to the sun is optimized. Be aware of the objects such as trees or property overhangs that may impede the panel’s ability to generate a charge.
Optional: Use a power drill (not included) to create the holes on your chosen mounting surface.
Use 3 of the included wall plugs and screws to fasten the solar panel to the surface. - Using 2 wall plugs and screws, fix the mounting bracket to the chosen surface.

- Slide the unit to fit securely onto the mounting bracket.
NOTE: To disconnect the light from the mounting bracket, depress the release tab on the bottom of the mounting bracket. With the tab firmly pressed, slide the light upwards and free of the bracket. Some force may be required to remove the light from the bracket. 
- Connect the wire from the solar panel into the socket located under the light fixture. Your solar motion light will now begin to charge.

- Prior to using your solar motion light, the solar panel needs to be connected to the light for a period of three days. This initial charge should be done in the OFF position.
After the third day, your included batteries will be fully charged and your solar motion light is ready for operation. Select the desired brightness of the light, either 1000 lumens (I’m) or 2000 lumens (I’m), and proceed to select TIME and DISTANCE. Your solar motion light is ready to operate at night.
Once the motion light is installed, the lamp heads can be adjusted independently in a variety of ways for optimal lighting coverage.
Note: Never look directly into the light when turned on or when the light could be activated.
Two different control switches adjust the light’s illumination time and range of motion detection.
TIME: Determines the duration of the light once motion is detected: 30 seconds, 60 seconds, or 120 seconds.
• Test: Allows the positioning of the light’s motion sensor to be tested day or night. Once the motion sensor is in the desired position, attempt to trigger the light by moving in the intended detection zone. If the light illuminates, the motion sensor is positioned correctly. You are now ready to move the switch to the preferred duration option. The light will now only tum on in darkness.
DISTANCE: Controls the distance of the range of motion detection: low, medium, or high.
DUAL BRIGHTNESS FUNCTION: This solar security light allows for the changing of lumen output by sliding this switch.
2000 LM is maximum brightness
1000 LM is the minimum brightness
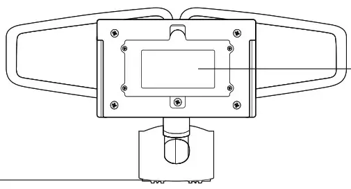
Batteries are located in the battery housing behind the light fixture. Select the OFF position on the light prior to opening the battery housing. Remove the four screws to reveal the batteries.
Refer to CAUTIONS: BATTERY INSTRUCTIONS on page 2 for information on replacing the batteries.
FREQUENTLY ASKED QUESTIONS
|
|
Distributed by:
Costco Wholesale Corporation
P.O. Box 34535
Seattle, WA 98124-1535
USA
1-800-774-2678
vvww.costco.com
Costco Wholesale Iceland ehf.
Kauptim 3-7, 210 Gardabaer
Iceland
www.costco.is
Costco Wholesale UK Ltd /
Costco Online UK Ltd
Hartspring Lane
Watford, Herts
WD25 8JS
United Kingdom
01923 213113
www.costco.co.uk
![]() | ![]() | ![]() |

NOTE: To disconnect the light from the mounting bracket, depress the release tab on the bottom of the mounting bracket. With the tab firmly pressed, slide the light upwards and free of the bracket. Some force may be required to remove the light from the bracket. 

After the third day, your included batteries will be fully charged and your solar motion light is ready for operation. Select the desired brightness of the light, either 1000 lumens (I’m) or 2000 lumens (I’m), and proceed to select TIME and DISTANCE. Your solar motion light is ready to operate at night.
Once the motion light is installed, the lamp heads can be adjusted independently in a variety of ways for optimal lighting coverage.
Two different control switches adjust the light’s illumination time and range of motion detection.





















