hykolity Shield Series LED Security Light Instruction Manual
SPECIFICATIONS
- Color Temperature: 5000K
- Night Light: 2000K
- Wattage: 39W-+Night Light SW
- Efficacy: 100LM/W
- Input Voltage: AC 120V
- Lifespan: 50,000 hours
- Beam Angle: 270°
- PF: >09
- Dimming: Triac Dim
- Sensor Type: Motion Sensor
- CRI: >80
- Housing Color: Grey/White
- Waterproof Rating: WET (IP65)
- Bulb Type: LED
- Operating Temperature: 4°F ~ 104°F
- Warranty: 3 Years
HARDWARE CONTENTS
Note: Hardware shown actual size.
| Parts | Description | Quntity |
| A | Fixture | 1 |
| B | B Dusk-to-Dawn Sensor | 1 |
| C | Motion Sensor | 1 |
| D | Wall Plate | 1 |
SAFETY INFORMATION
IMPORTANT SAFETY INSTRUCTIONS
- Turn power OFF before installing or servicing.
- Do NOT touch, operate, or install fixture while in contact with standing water.
- Do NOT remove the protective LED lens.
- Do NOT look directly at lighted LEDs for any length of time.
- Do NOT leave bare wires exposed outside the wall canopy enclosure.
- Electrical requirements: 120 V AC, 60 Hz. Minimum 90° supply conductors.
- Suitable for wall or eave mounting onto recessed electrical boxes rated for wet locations. Not suitable for ground mount installations or surface mounted electrical boxes.
- Do NOT allow the sensor head to touch the LED light head housing. Maintain at leasta 1 in. spacing between the LED heads and the sensor head.
- For proper operation and protection against water damage, the motion sensor adjustment controls MUST be facing downward.
- Do NOT mount below 5 ft.
- Do not mount near other light sources that can compromise the dusk to dawn sensor.
- This device complies with Part 15 of the FCC rules. Operation is subject to the following two conditions: (1) This device may not cause harmful interference, and (2) this device must accept any interference received, including interference that may cause undesired operation.
Select the installation location carefully. Do not install in areas having pedestrian or motorized traffic, pools or bodies of water, or trees/bushes that move in the wind. All of these will trigger the motion sensor security light and may be disruptive to the intended operation of the light. Do NOT install near other sources of light. The other light sources can fool the dusk to dawn sensor into thinking it is daylight.
PRE PARATION
Before beginning installation of product, make sure all parts are present. Compare parts with package contents list and hardware contents list. If any part is missing or damaged, do not attempt to install the product.
Estimated Assembly Time: 45 minutes.
Tools Required for Assembly (not included): Phillips screwdriver and silicone caulking.
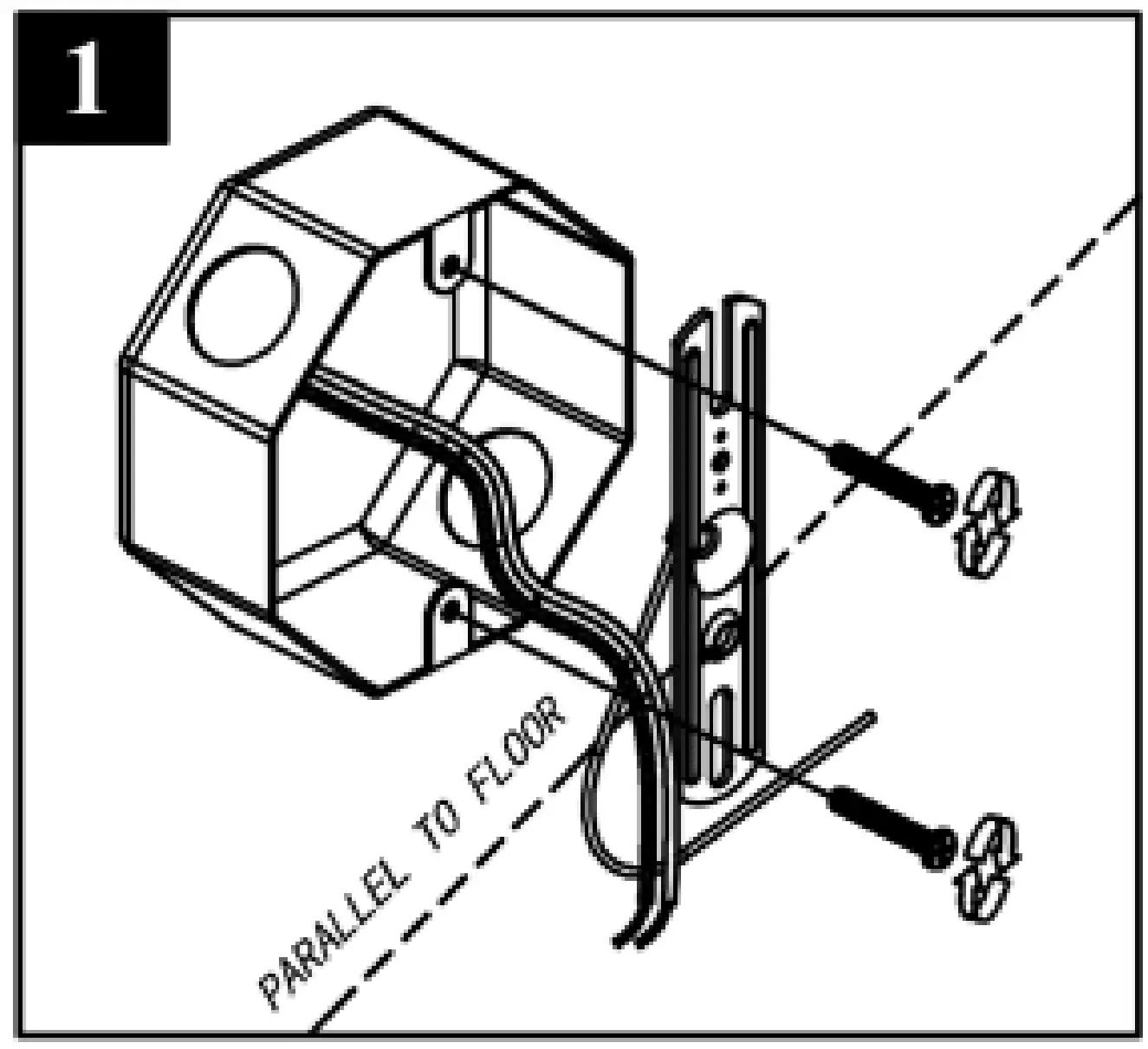
- Fix the mounting bracket on the J-BOX as shown in Figure 1;

- Connect the wires with the wiring cap as shown in Figure 2, black-black, white-white, green-green;

- As shown in Figures 3 and 4, pull up and take out the installation cover of the fixture;


- Fix the mounting cover on the mounting bracket as shown in Figure 5;

- Connect the fixture body and the installation cover as shown in Figure 6;

- As shown in Figure 7, the sensor mode can be adjusted according to your needs before installation. The sensor has 2 buttons, which refer to:

- Sensitivity: The sensing distance can be adjusted, the range is 10ft-60ft. After setting, the sensor will work within the set range, and will not work beyond the range;
- Timer Minutes: The delay time of the sensor can be adjusted, the range is: Imin-10min. After setting, the sensor can not detect motion at the set time, and it will automatically keep the night light 2000K;
- The sensor has dusk to dawn function, it will not work during the day, and the illuminance is less than 120Lux, and the fixture will automatically turn on.
- As shown in Figure 8, adjust the angle of the sensor as needed. The side of the sensor with the knob needs to be down to avoid water in as improper operation. Once you have confirmed that the security light is working properly, apply a small bead of silicone caulking (not included) around the perimeter of the rear housing cover to prevent water seepage into the electrical compartment;

- The light becomes 5000K when it senses the human body at night. And it will recover 2000K automatically if it cannot sense the person at the set time.
DEMENSIONS

READ PRIOR TO ATTEMPTING INSTALLATION
ALWAYS TURN OFF MAIN POWER BEFORE INSTALLATION INSTALLATION SHOULD BE CARRIED OUT BY YOUR LOCAL ELECTRICIAN
!WARNING – Risk of fire or electric shock. LED Kit installation requires knowledge of luminaires electrical systems. If not qualified, do not attempt installation. Contact a qualified electrician.
!WARNING – Risk of fire or electric shock. Install this kit only in luminaires that have the construction features and dimensions shown in the photographs and / or drawings and where the input rating of the retrofit kit does not exceed the input rating of the luminaire.
!WARNING – To prevent wiring damage or abrasion, do not expose wiring to edges of sheet metal or other sharp objects.
!WARNING -This equipment is intended to be installed only by qualified personnel. The installation must be made in accordance with the current edition to the National Electric Code and all applicable state and local building codes. The final installation must be approved by the appropriate qualified electrical/building inspector(s). Improper installation may result in a fire or electrical hazard. Be sure the electrical power to the circuit has been disconnected before installing this electrical system.
[email protected]
www.hykolity.com
+1 (562) 456-0507


























