Fontastic 260391 Magic Car Holder and Wireless Charger

Thank you for choosing the ,,Magic” universal mount with wireless charger from the Fontastic Exclusive line.
Please read the user manual carefully before operating the device and observe the safety instructions.
Please keep the operating instructions for future reference.
Package contents
- Car holder and wireless charger ,,Magic”.
- USB Type-C™ cable
- Ventilation clip
- Mounting nut
- User manual
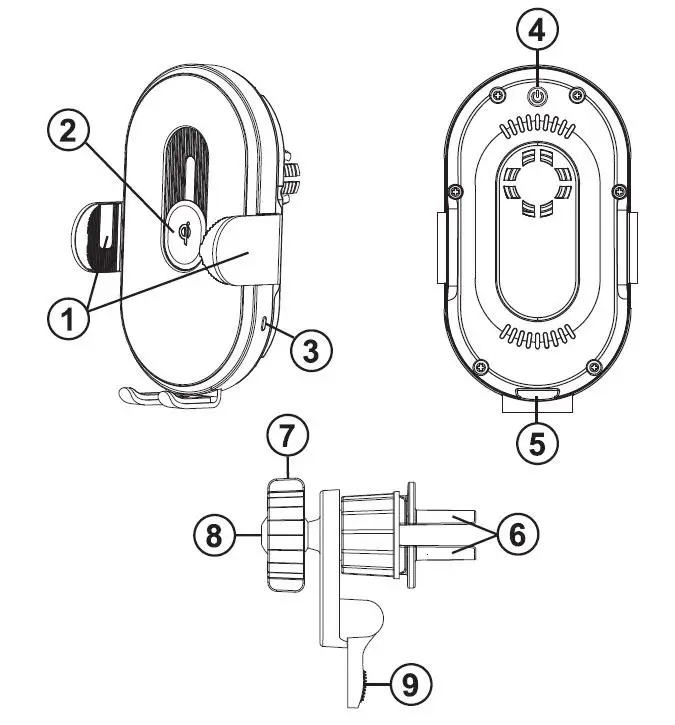
Overview
- Clamp arms
- Movable loading coil
- Status LED
- Button to release or lighten the clamp arms
- USB Type-C connector
- Ventilation clip
- Mounting nut
- Multi-angle rotary ball
- Bracket
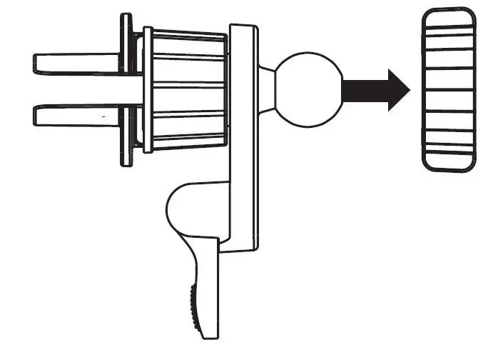
Installation
- Please put the rotary ball into the mounting nut first (fig.1 ).

- Then press the rotary ball and the nut into the holder (Fig.2).

- Finally, lighten the nut according to individual needs (Fig.3).
Fastening the holder and inserting the smartphone
- Loosen the mounting nut of the ventilation clip and place the clip on a slat of the ventilation grille.
- Tighten the mounting nut firmly.
- Insert the USB Type-C™ plug of the cable into the connector of the cradle, the clamp arms will open automatically.
- Put the smartphone into the cradle, the clamp arms will close automatically.
The holder scans the smartphone and aligns the charging coil at the optimal position. The charging process starts.
NOTE: There should be no metallic objects between the charger and the smartphone. Charging will be affected if the phone is equipped with ring holders, covers or other items that increase the thickness of the phone.
Memory function
After the first coil alignment, the selling for the inserted smartphone is saved. The smartphone is charged immediately when ii is placed in the holder again.
Remove smartphone
Touch the button on the top of the car mount when needed, the clamp arms will open automatically.
NOTE: Clamp arms open automatically, please do not remove the smartphone by force.
Backup battery
The holder has an internal battery that ensures automatic opening and closing of the clamp arms, even when the holder is not directly powered.
Safety instructions
- Never open the device.
- Do not immerse the device in water and protect it from moisture.
- Never connect the device by force.
- Unplug electronic equipment when not in use for a longer time.
- Do not place cards with magnetic strips, magnetic recording media or metal objects on the charging surface and your smartphone; charging does not take place and can lead to overheating!
- If necessary, remove the cover before inserting your smartphone into the charging base.
- Wearers of pacemakers should keep a sufficient distance between the device and the pacemaker. Consult the attending physician in case of doubt.
- This product may impair the function of medical equipment. Therefore, do not use it in clinics and medical facilities.
- Never use the product if ii shows visible damage.
No liability is accepted for any damage which may occur through improper operation.
If you require technical support, please contact our support team via email at [email protected].
Technical Data
- Place of use: Car ventilation grille
- For devices from 4. 7 to 6. 7 inches
- Input: 5.0V/2A;9.0V/2A; 12V/2A max.
- Output: 5V/1A; 9.0V/1.1A; 12V/1.25A
- Total power: 15 watts
- Transmission distance: s 8mm
- Standard: Wireless charging standard
- Material: aluminum alloy+ electroplated tempered glass+ ABS +.PC+ Silicone
Accessory Recommendation
To ensure fast charging with ” Magic”, we recommend the Fantastic 30 watt aluminum car charger ,,Alo” item no. 254932 preferably.
Registration and Safety
Certification/General Information
We hereby declare, that this device carries the CE mark in accordance with the RED 2014/53/EU.
The full text of the EU declaration of conformity is available at the following internet address:
www.d-parts.de/Konfo
Note on environmental protection:
After the implementation of the European Directive 2012/19/EC in the national legal system, the following applies: Electrical and electronic devices may not be disposed of with domestic waste. Consumers are – obliged by law to return electrical and electronic devices at the end of their service lives to the public collecting points set up for this purpose or point of sale.
Details of this are defined by the national law of the respective country. This symbol on the product, the instruction manual or the package indicates that a product is subject to these regulations. By recycling, re-using the materials or other forms of utilising old devices, you are making an important contribution to protecting our environment.
























