Streaming Camera with Light
User guide
GSSK07 1080p High Definition with LED Light Streaming Camera
Need Help?
Have any questions or comments? Need help getting set up? Contact us at https://care.gamestop.com
What’s Included
- USB HD Webcam with Mounting Bracket
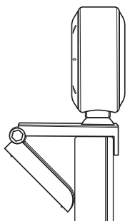
Setting Up the Webcam
- Plug USB end into a laptop or computer. The webcam will automatically power on. The webcam is plug and play and should work immediately with both Windows and Mac.
- Open the mounting bracket on the webcam and place it onto your monitor.
- Press the lip on the bracket to the front of the monitor.
- Press the back of the bracket into the back of the monitor. To avoid damage to your monitor do not press hard.

- You can also use the screw on the bottom of the bracket to mount the webcam to a tripod.
- When using the camera for the first time be sure to remove the protective film from the front of the camera.
- Adjust the brightness of the ring light using the adjustment dial on the USB cable.
Troubleshooting
- Camera not default? Go into your Camera Privacy settings and ensure the app you are trying to use has access to your camera.
- When recording you should be able to cycle through the cameras you have available and find the USB camera.
- Ensure you have your camera plugged in prior to opening the app that you would like to use to record or video conference with.

Webcam Model: GSSK07 Input: 5V
200mA Max
Important Safety Instructions
WARNING When using this product, basic precautions should always be followed, including the following:
Read these instructions carefully.
All cautions and warnings should be followed.
Protect equipment from humidity.
Do not use chemical detergents to clean your device, use a soft dry cloth.
To avoid damage from electrical peaks unplug the device when it is not in use.
If one of the following situations arise, equipment has to be checked by qualified service personnel:
- Liquid has penetrated into the equipment.
- Equipment has been exposed to humidity.
- Equipment has been dropped and/or is damaged.
- Equipment has obvious sign of breakage.
- Equipment does not work well or you cannot get it working according to user’s manual.
SAVE THESE INSTRUCTIONS
This device complies with Part 15 of the FCC rules. Operation is subject to the following two conditions: t) this device may not cause harmful interference, and 2) this device most accept any interference received, including interference that may cause undesired operation. Warning: Changes or modifications to this unit not expressly approved by the party responsible for compliance could void the user’s authority to operate the equipment.
NOTE: This equipment has been tested and found to comply with the limits for a Class B digital device, pursuant to Part 15 of the FCC Rules. These limits are designed to provide reasonable protection against harmful interference in a residential installation. This equipment generates, uses and can radiate radio frequency energy and, if not installed and used in accordance with the instructions, may cause harmful interference to radio communications. However, there is no guarantee that interference will not occur in a particular installation. If this equipment does cause harmful interference to radio or television reception, which can be determined by turning the equipment off and on, the user is encouraged to try to correct the interference by one or more of the following measures:
- Reorient or relocate the receiving antenna.
- Increase the separation between the equipment and receiver.
- Connect the equipment into an outlet on a circuit different from that to which the receiver is connected.
- Consult the dealer or an experienced radio/TV technician for help. Shielded cables most be used with this unit to ensure compliance with the Class B FCC limits.
TIRIX. Geeknet, Inc. 625 Westport Pkwy, Grapevine, TX 76051 Phone: 855-474-7717

















