PHILIPS TAB5306 5000 Series Wireless Soundbar Speaker

IMPORTANT
Read and understand all instructions before you use your product If damage is caused by failure to follow instructions, the warranty does not apply.
Help and support
For extensive online support, visit: www.philips.com/support to:
- Download the user manual and the quick start guide
- Watch video tutorials (available only for selected models)
- Find answers to frequently answered questions (FAQs)
- Email us a question
- Chat with our support representative.
Follow the instructions on the website to select your language, and then enter your product model number:
Alternatively, you can contact Consumer Care in your country. Before you contact, note down the model number and serial number of your product. You can find this information on the back or bottom of your product.
Important safety instructions
- Read these instructions.
- Keep these instructions.
- Heed all warnings.
- Follow all instructions.
- Do not use this apparatus near water.
- Clean only with dry cloth.
- Do not block any ventilation openings.
- Install in accordance with the manufacturer’s instructions.
- Do not install near any heat sources such as radiators, heat registers, stoves, or other apparatus (including amplifiers) that produce heat.
- Do not defeat the safety purpose of the polarized or grounding-type plug. A polarized plug has two blades with one wider than the other: A grounding type plug has two blades and a third grounding prong. The wide blade or the third prong are provided for your safety. If the provided plug does not fit into your outlet, consult an electrician for replacement of the obsolete outlet.
- Protect the power cord from being walked on or pinched, particularly at plugs, convenience receptacles, and the point where they exit from the apparatus.
- Only use attachments/accessories specified by the manufacturer:
- Use only with the cart, stand, tripod, bracket or table specified by the manufacturer or sold with the apparatus.
When a cart is used, use caution when moving the cart/apparatus combination to avoid injury from tip-over: - Unplug this apparatus during lightning storm or when unused for long periods of time.
- Refer all servicing to qualified service personnel. Servicing is required when the apparatus has been damaged in any way, such as power-supply cord or plug is damaged, liquid has been spilled or objects have fallen into the apparatus, the apparatus has been exposed to rain or moisture, does not operate normally, or has been dropped.
- Battery usage CAUTION -To prevent battery leakage which may result in bodily injury, property damage, or damage to the unit:
- Install all batteries correctly,+ and – as marked on the unit
- Do not mix batteries (old and new or carbon and alkaline, etc.).
- Remove batteries when the unit is not used for a long time.
- The batteries shall not be exposed to excessive heat such as sunshine, fire or the like.
- Perchlorate Material – special handling may apply See www.dtsc.ca.gov/ hazardous waste/perchlorate.
- The product/remote control may contain a coin/button type battery, which can be swallowed. Keep the battery out of reach of children at all times!
- If swallowed, the battery can cause serious injury or death. Severe internal buns can occur within two hours of ingestion. If you suspect that a battery has been swallowed or placed inside any part of the body, seek immediate medical attention.
- When you change the batteries, always keep all new and used batteries out of reach of children.
- Ensure that the battery compartment is completely secure after you replace the battery. If the battery compartment cannot be completely secured, discontinue use of the product. Keep out of reach of children and contact the manufacturer
- Apparatus shall not be exposed to dripping or splashing.
- Do not place any sources of danger on the apparatus (for example. liquid filled objects, lighted candles).
- This apparatus may contain lead and mercury. Dispose according to local, State or Federal laws. For disposal or recycling information, please contact your local authorities. For additional assistance on recycling options, please contact www.mygreenelectronics.com or www.eiae.org or www.recycle.philips.com
- Where the MAINS plug or an appliance coupler is used as the disconnect device, the disconnect device shall remain readily operable.
- Do not place this apparatus on the furniture that is capable of being tilted by a child and an adult leaning, pulling, standing climbing n it. A falling apparatus can cause serious injury or even death.
- This apparatus should not be placed in a built-in installation such as a bookcase or rack unless proper ventilation is provided. Make sure to leave a space of /8 inches (20cm) or more ardund this apparatus.
Class II equipment symbol
This symbol indicates that the unit has a double insulation system.
Know these safety symbols
This ‘bolt of lightning indicates uninsulated material within your unit may cause an electrical shock For the safety of everyone in your household, please do not remove product covering The ‘exclamation point’ calls attention to features for which you should read the enclosed literature closely to prevent operating and maintenance problems.
WARNING: To reduce the risk ot fire or electric shock, this apparatus should not be exposed to rain or moisture and objects field with liquids, such as vases, should not be placed on this apparatus.
CAUTION: TO prevent electric shock, match wide blade of plug to wide slot, fully insert
Care for your product Use only microfiber cloth to clean the product.
Care of the environment Disposal of your old product and battery Your product is designed and manufactured with high quality materials and components, which can be recycled and reused.
This product may contain lead and mercury. Disposal of these materials may be regulated due to environmental considerations. For disposal or recycling information, please contact your local authorities.
This product contains batteries:
- Dispose of batteries properly. Do not incinerate. Batteries may explode if overheated.
- Do not warp in metal or aluminum foil. Warp in newspaper before discarding.
- It is suggested that you contact your local town or city to determine proper battery redemption site(s) in your area.
- Please visit www.call2recycle. org for additional information on a recycling center in your area for rechargeable batteries.
What’s in the Box
Check and identify the item in the package
- Soundbar x1
- Wireless Subwooter x1
- Remote control x1
- AC adaptor (for Soundbar) x1
- Power cord (tor Subwoofer) x1
- Wall Mount Kit x1 (Wall Brackets x2,Screws x6, Dowels x2)
- Quick Start Guide/Warranty Card/
- Safety Sheet x1
- AAA Batteries x2

Your SoundBar
Congratulations on your purchase, and welcome to Philips! To fully benefit from the support that Philips offers, register your SoundBar at www.philips.com/support.
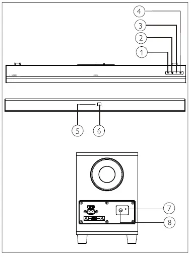
Main unit
This section includes an overview of the main unit.
- -(Volume) Decrease volume.
- +(Volume) Increase volume.
- (SOURCE)
Select an input source for the soundbar. - Switch the soundbar on or to standby.
- Multi-color LED indicator: Source/Standby
- Remote sensor
- Subwoofer’s LED indicator
- PAIR
Remote control
This section includes an overview of the remote control.
- Standby-On)
- Switch the SoundBar on or to standby
- +(Volume)
- Increase volume.
- Skip to the previous track in Bluetooth mode.
- Play, pause or resume play in Bluetooth mode. )
- BT/PAIR
- Press to switch to the Bluetooth mode.
- Press and hold to the disconnect the currently connected Bluetooth device and start a new pairing.
- EQ Switch between three EQ modes: Movie, Music and News.
- AUX Switch your audio source to the AUX connection.
- Mute or restore volume,
- Skip to the next track in Bluetooth mode. -(Volume) .
- Decrease volume.
- HDMI (ARC) Switch your audio source to the HDMI(ARC) connection.
- OPTICAL Switch your audio source to the optical Connection.
Connectors
This section includes an overview of the connectors available on your SoundBar
- HDMI (ARC)
Connect to the HDMI input on the 1V - SERVICE
For software upgrade. - AUXIN
Audio input from, for example, an MP3 player (3.5mm jack). - OPTICAL
Connect to an optical audio output on the TV or a digital device. - DCIN
Connect the Soundbar to the power supply. - ACIN
Connect the Subwoofer to the power supply.
Connect
This section helps you connect your SoundBar to a TV and other devices.
For information about the basic connections of your SoundBar and accessories, see the quick start guide.
Note
- For identification and supply ratings, refer to the type plate at the back or bottom of the product.
- Before you make or change any connections, make sure that all devices are disconnected from the power outlet.
Placement
Place your SoundBar and Subwoofer as shown below.

Connect the SoundBar and Subwoofer 
Connect the SoundBar and Subwoofer through Bluetooth.
- The Subwoofer will be connected with the Sound Bar via Bluetooth signal.
- The Subwoofer’s indicator will blink red before connected with the SoundBar, and will turn solid blue after connected with the SoundBar.
- If the SoundBar and the Subwoofer has been paired before, when you again plug in and power on the SoundBar, the Subwoofer will be automatically paired with the SoundBar with normal sound output and solid blue indicator.And the Subwoofer will go into standby automatically after the SoundBar is powered off
Pair the Subwoofer manually
- If no audio is heard from the Subwoofer or the Subwoofer’s indicator does not show Blue, follow the steps below to reset and pair up the subwoofer again:
- Press the PAIR button on the Subwoofer when the Subwoofer is in Disconnected status (blinking red slowly ( once per second), and then the Subwoofer’s indicator will blink red quickly (twice per second).
- Switch the Soundbar source to AUX, and then press and hold <.!.) on the Soundbar for five seconds. The Soundbarwill reset and go into standby automatically.
- Press on the Soundbar: The Sound bar will pair with the Subwoofer automatically. The connection is successful when the Subwoofer’s indicator turns solid blue. Note: Once the Sound bar is reset, you should clear the Bluetooth list in your phone before you pair your phone with the Soundbar.
When the Sound bar and Subwoofer are connected, you can press and hold-E) and + (Volume) on the Soundbar for five seconds to disconnect them.
Subwoofer indicator
- Pairing: Fast blinking red
- Connected: Solid blue
- Disconnected: Slow blinking red
- Standby: Solid red
Connect audio from TV and other devices
Option 1: Connect audio through a digital optical cable
Best quality audio.

- Using an optical cable, connect the OPTICAL connector on your Sound Bar to the OPTICAL OUT connector on the 1V or other device.
- The digital optical connector might be labeled SPDIF or SPDIF OUT.
NOTE: The TV audio output must be set to PCM.
- The digital optical connector might be labeled SPDIF or SPDIF OUT.
Option 2: Connect audio through a 3.5mm stereo audio cable

- Using a 3.5mm stereo audio cable, connect the AUX IN connector on your SoundBar to the AUX connector on the 1V or other device.
Option 3 : Connect to HDMI (ARC) Socket
Your Soundbar supports HDMI with Audio Return Channel (ARC). lfyour1V is HDMI ARC compatible, you can listen to the 1V audio through your Soundbar by using a single HDMI cable.
- Using a High Speed HDMI cable, connect the HDMI OUT (ARC)-TOTV connector on your Soundbar to the HDMI ARC connector on the 1V
- The HDMI ARC connector on the 1V might be labeled differently. For details, see the 1V user manual.
- On your TY, turn on HDMI-CEC operations. For details, see the 1V user manual.
NOTE: The TV audio output must be set to PCM.
Use your SoundBar
This section helps you use the Sound Bar to play audio from connected devices.
Before you start
- Make the necessary connections described in the Quick Start Guide or the User Manual.
- Switch the Sound Bar to the correct source for other devices.
Power on/off
Connect the Sound Barto the power supply, and the red standby indicator lights up. Press to power on the Sound Bar. The Sound bar’s indicator lights up white, and then will show the status of the last selected source. Press again to switch the Sound Barto standby.
- Standby: The indicator is solid red.
Volume control
Press+/- (Volume) to increase or decrease the volume level.
- To mute sound, press on the remote control.
- To restore the sound, press again or press +/- (Volume).
Indicator status
- Decrease /Increase volume/Mute: Blinking red.
- Maximum/Minimum volume: Solid red for three seconds.
- When you press + (Volume) to increase the volume, the Sound Bar’s indicator will blink red, and the volume will return to the normal state. The Soundbar’s indicator will show solid red for three seconds when the volume reaches the maximum.
- When you press – (Volume) to decrease the volume, the SoundBar’s indicator will blink red, and the volume will return to the normal state. The Soundbar’s indicator will show solid red for three seconds when the volume reaches the minimum.
Source selection
Press on the Soundbar repeatedly or the corresponding buttons (BT/PAIR, AUX, HDMI (ARC), OPTICAL) on the remote control to switch between different sources.
- AUX IN: Solid green
- Bluetooth-pairing: Blinking blue
- Bluetooth-connected: Solid blue
- OPTICAL: Solid yellow
- HDMI (ARC) : Solid purple
EQ setting
Press EQ on the remote control to select Music, Movie or News mode.
- Music: Sound bar’s indicator blinks white for 3 seconds.
- Movie: Sound bar’s indicator blinks green for 3 seconds.
- News: Sound bar’s indicator blinks red for 3 seconds .
- Stadium: Soundbar’s indicator blinks cyan for 3 seconds.
AUX audio source
You can play audio from an external device (smart phone, tablet, etc.) via a 3.5mm audio cable.
- Connect the external device to your Soundbarvia the 3.5 mm stereo audio cable (not included). Refer to Page 8 for steps of AUX connection.
- Press AUX on the remote control.
- The Soundbar’s indicator turns solid green.
- Play audio on the external device (refer to the user manual of the device).
Optical audio source
You can play audio from a TV via an optical cable.
- Connect the TV to your Soundbar via the optical cable (not included). Refer to Page 8 for steps of OPTICAL connection.
- Press OPTICAL on the remote control.
- The Soundbar’s indicator turns solid yellow.
Note: The TV audio output must be set to PCM signal.
- The Soundbar’s indicator turns solid yellow.
HDMl(ARC) audio source
ARC (Audio Return Channel) is used in digital audio output of liquid crystal display television in order to get the optimal synchronous sound quality.
- Connect the TV to your Sound bar via the HDMI cable (not included). Refer to Page 8 for steps of HDMI (ARC) connection.
- Press HDMl(ARC) on the remote control.
- The Sound bar’s indicator turns solid purple.
Note: TheTV audio output must be set to PCM signal and ARC on (refer to the manual of the TV).
- The Sound bar’s indicator turns solid purple.
Play audio through Bluetooth
Through Bluetooth, connect the Sound Bar with your Bluetooth device (such as an iPad, iPhone, iPod touch, Android phone, or laptop), and then you can listen to the audio files stored on the device through your SoundBar.
What you need
- A Bluetooth device which supports Bluetooth profile A2DP and AVRCP, and with Bluetooth version 4.2 or above.
- The operational range between the SoundBar and a Bluetooth device is approximately 4 meters (13 feet).
- Press BT/Pair on the remote control to switch the Sound Bar to Bluetooth mode.
The soundbar’s indicator blinks blue. - On the Bluetooth device, switch on Bluetooth, search for and select Philips to start connection (see the user manual of the Bluetooth device on how to enable Bluetooth).
During connection, the soundbar’s indicator blinks blue. - Wait until the soundbar’s indicator becomes solid blue and a beep sound will be heard upon a successful connection.
If the connection fails, the indicator blinks continually. - Select and play audio files or music on your Bluetooth device.
- During play, if a call comes in, music play is paused.
- If your Bluetooth device supports AVRCP profile, on the remote control you can press ◄ ►►to skip to a track, or press ►to pause/resume play.
- To exit Bluetooth, switch your Sound bar to another source.
- When your switch back to Bluetooth mode, Bluetooth connection remains active.
Disconnect from the current device: - If you want to connect your Sound Bar with another Bluetooth device, press and hold BT/PAIR on the remote control to disconnect the currently connected Bluetooth device.
- When your switch back to Bluetooth mode, Bluetooth connection remains active.
Indicator status
- Waiting to connect: Blinking blue
- Connected: Solid blue
- Disconnected: Blinking blue
Note
- The music streaming may be interrupted by obstacles between the device and SoundBar, such as wall, metallic casing that covers the device, or other devices nearby that operate in the same frequency.
Auto standby
This product automatically switches to standby after 15 minutes of button inactivity and no audio play from a connected device.
Apply factory settings
You can reset your Sound Bar to the default setting mode.
In AUX mode, press and hold on the remote control for 5 seconds.
The factory settings is restored.
Wall mount
Note
- Improper wall mounting may result in accident, injury or damage. If you have any query, contact Consumer Care in your country.
- Before wall mounting, make sure the wall can support the weight of your SoundBar.
Screw length/diameter
Depending on the type of wall mounting your
Sound Bar; make sure that you use screws of a suitable length and diameter.

See the illustration in the quick start guide on how to wall mount the SoundBar.
- Drill two holes on the wall.
- Secure the dowels and screws in the holes.
- Hang the Sound Bar on the fastening screws.
Product specifications
Note
- Specifications and design are subject to change without notice.
Amplifier
- RMS total output power: 70W RMS(+/- 0.5 dB, 10%THD)
- Frequency response: 50 Hz-15 kHz ±3 dB
- Signal-to-noise ratio: > 65 dB (CCIR) / (A-weighted) I
- Total Harmonic Distortion: <1 %
- Input sensitivity:
- AUX IN: 500mV +/-50mV
Bluetooth
- Bluetooth profiles: A2DP, AVRCP
- Bluetooth version: 4.2
- Frequency band/Output power 2402 – 2480 MHz/~ 20 dBm
Main unit
Soundbar
- Power supply: 100-240V-, 50/60 Hz
- Power consumption: 15V/1.6A
- Standby power consumption: ~0.5W
- Dimensions (W x H x D): 900 x 65.5 x 91 mm
- Weight: 1.53kg
- Driver: 2 x full range (52 mm/2″, 4 ohm)
Subwoofer
- Power supply: 100-240V-, 50/60 Hz
- Power consumption: 20W
- Standby power consumption: ~2W
- Dimensions (W x H x D): 150 x 225 x 267 mm
- Weight 2 .1 kg
- Driver:1 x low frequency (118 mm/4.5″, 6 ohm)
Remote control batteries
- 2 x AAA-R03-1.5 V
Troubleshooting
Warning
- Risk of electric shock Never remove the casing of the product.
To keep the warranty valid, never try to repair the product yourself
If you have problems using this product, check the following points before you request service.
If you still have a problem, get support at www.philips.com/support.
Main unit
The buttons on the SoundBar do not work.
- Disconnect the Sound Bar from the power supply for a few minutes, then reconnect.
Sound
No sound from SoundBar speakers.
- Connect the audio cable from your
- Sound Bar to your TV or other devices.
- Reset your Sound Bar to its factory settings.
- On the remote control, select the correctaudio input
- Make sure that the SoundBar is not muted.
Distorted sound or echo.
- If you play audio from the TV through the Sound Bar, make sure that the TV is muted.
Bluetooth
A device cannot connect with the SoundBar.
- The device does not support the compatible profiles required for the SoundBar.
- You have not enabled the Bluetooth function of the device. See the user manual of the device on how to enable the function.
- The device is not correctly connected. Connect the device correctly. (see ‘Play audio through Bluetooth’ on page 10)
- The SoundBar is already connected with another Bluetooth device. Disconnect the connected device, then try again.
Quality of audio play from a connected Bluetooth device is poor.
- The Bluetooth reception is poor. Move the device closer to the Sound Bar; or remove any obstacle between the device and the SoundBar.
The connected Bluetooth device connects and disconnects constantly.
- The Bluetooth reception is poor. Move the device closer to the Sound Bar; or remove any obstacle between the device and the SoundBar.
- Turn offWi-Fi function on the Bluetooth device to avoid interference.
- For some Bluetooth, the Bluetooth connection can be deactivated automatically to save power. This does not indicate any malfunction of the SoundBar.
FCC information
NOTE: This equipment has been tested and found to comply with the limits for a Class B digital device, pursuant to Part 15 of the FCC Rules. These limits are designed to provide reasonable protection against harmful interference in a residential installation. This equipment generates, uses and can radiate radio frequency energy and, if not installed and used in accordance with the instructions, may cause harmful interference to radio communications.
However, there is no guarantee that interference will not occur in a particular installation. If this equipment does cause harmful interference to radio or television reception, which can be determined by turning the equipment o and on, the user is encouraged to try to correct the interference by one or more of the following measures:
- Reorient or relocate the receiving antenna.
- Increase the separation between the equipment and receiver.
- Connect the equipment into an outlet on a circuit deferent from that to which the receiver is connected.
- Consult the dealer or an experienced radio/TV technician for help.
This device complies with part 15 of the FCC Rules. Operation is subject to the following two conditions:
- This device may not cause harmful interference, and
- This device must accept any interference received, including interference that may cause undesired operation.
IC-Canada : CAN ICES-3(B)/ NMB-3(B)
This device contains license-exempt transmitter(s)/receiver(s) that comply with Innovation, Science and Economic Development Canada’s license-exempt RSS(s). Operation is subject to the following two conditions:
- This device may not cause interference.
- This device must accept any interference, including interference that may cause undesired operation of the device.
The device for operation in the band 51505250 MHz is only for indoor use to reduce the potential for harmful interference to co-channel mobile satellite systems.
FCC& IC Radiation Exposure Statement: This equipment complies with FCC and Canada radiation exposure limits set forth for an uncontrolled environment. This equipment should be installed and operated with a minimum distance of 20cm between the radiator and your body. This transmitter.
Warning: Any changes or medications made to this device that are not expressly approved by MMD Hong Kong Holding Limited may void the user’s authority to operate the equipment.
Model number: TAB5306/37 Trade name: PHILIPS Responsible party: TPV USA Corp.
6525 Morrison Blvd #200 Charlotte, NC 28211, USA
The Roku TV Ready logo is a trademark of Roku, Inc.
TAB5306_37_UM_V1.0
















