ENSEN

Good To Know
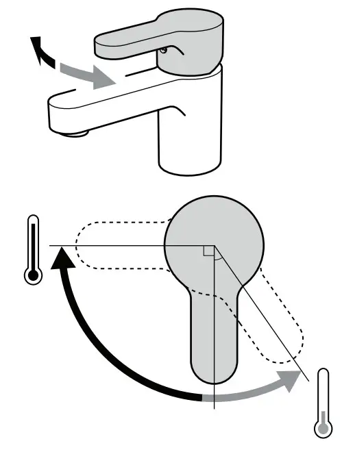
Usually, you turn on a tap by lifting the lever straight up. If you lift the lever on an ordinary tap this way, both cold and hot water are released. But often, the hot water does not reach the entire way out but stops in the valve – unnecessarily. When you lift the lever straight up on this mixer tap, only cold water is released, which reduces any waste of hot water. To release the hot water, you lift the lever to the left.
© Inter IKEA Systems B.V. 2020
AA-2163167-3
















