SORDIN SUPREME PRO Hearing Protection Headset

PRODUCT FEATURES
The product is designed to protect against harmful noise. Supreme is a hearing protector equipped with electronics for reproducing ambient sound. Two externally mounted microphones picks up the ambient sound (figure A1).
Speakers inside the hearing protector reproduce the sound in stereo. The sound reproduction is limited to a maximum of 82 dB(A) to prevent damage to hearing. Supreme is part of a range of products developed to improve your working environment or leisure whenever you are exposed to noise. To ensure your complete satisfaction with the product it is important that you read the user’s instructions carefully. If this product does not meet your expectations, please return it without delay to the point of sale and your money will be refunded.
Note! This guarantee will be invalidated if the product has been in use.
PRO LINE:
- Supreme Pro Headband: 75302: Pro version, headband and water protected.
- Supreme Pro-X Headband: 75302-X: Pro version, headband and waterproof. Supreme Pro-X LED
- Headband: 75302-X LED: Pro version, headband, waterproof and led light function.
- Supreme Pro Neckband: 76302: Pro version, neckband and water protected.
- Supreme Pro-X Neckband: 76302-X: Pro version, neckband and waterproof.
Note! All models might not be available on all markets.
USER’S INSTRUCTIONS
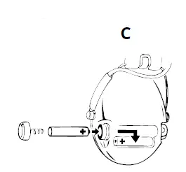
PRO-LINE: ACTIVATING THE HEARING PROTECTOR/BATTERY INSTALLATION/REPLACEMENT (figure C)
The hearing protector requires two standard alkaline 1.5V AAA/LR03 batteries. Rechargeable batteries, for example, NiMH 1.2 V or NiCd 1.2 V, should not be used as they may significantly reduce the operating time of the product. The batteries are protected from moisture and dirt by our unique battery compartment. You can easily install and replace batteries by following the instructions (figure C): Unscrew the battery cover. Insert the first battery with the (–) pole facing inwards. Shake the earmuff lightly so that the battery falls into place inside the earmuff. Then insert the second battery with the (+) pole facing inwards. Refit the battery cover. Note! Always switch off the product before replacing batteries. Make sure that the battery’s polarities are inserted correctly and secure that the battery lid is completely tightened.
FUNCTION KEYS (figure D)

On and off, (O) Press key (O) to activate the electronic functions. To switch off, hold the same key (O) pressed in for 1 second.
Volume adjustment, (+/-)
Short presses on the volume keys adjust the volume of the ambient sound, i.e., down (–) or up (+). The volume starts in the mode at which it was switched off. The volume can be adjusted in six steps. The output signal from the sound reproduction system of the product will not exceed known risk levels for damage to hearing. Sound via the speakers is limited to a maximum 82 dB(A) equivalent sound level.
Battery–saving mode
This product is provided with a battery economy function to ensure the maximum life of the batteries. The function automatically switches the product off after 4 hours if no key is activated during this period. To restart, push the key located at the middle of the keypad (O). About 2 minutes before the automatic switch-off a tone will be heard as a warning that the product will be switched off. Press any key to delay the switch-off by a further 4 hours.
HEADBAND VERSION
Folding the hearing protector (figure E)

Extend the headband as far as it will go. Then press the top of the headband to fold the hearing protectors together. Make sure that the cushions lie flat against each other and that there are no creases in them.
Note! Do not store the hearing protectors in this positions.
Use and fit (figure F)

Brush excess hair back and out from beneath the cushions with your hand as much as possible. Be certain that the cushions seal tightly against the head with no interference from objects such as respirator headbands or spectacle frame, in order to obtain the best performance. With the headband over the head, place the ear cups so as to completely enclose the ears. The ear cups may be adjusted up or down the headband to adjust for a firm, comfortable fit. This safety requirement is satisfied for the sizes: ![]()
NECKBAND VERSION
Use and fit (figure G)

Brush excess hair back and out from beneath the cushions with your hand as much as possible. With the neckband behind the head, place the ear cups so as to completely enclose the ears. Be certain that the cushions seal tightly against the head with no interference from objects such as respirator headbands or spectacle frame, in order to obtain the best performance. Adjust the net over the head so the hearing protector don’t fall off. Note! Do not pull the net to tight because it will affect the cushions seal, the net shall only hold the hearing protector in place, not pull the hearing protector upwards. This safety requirement is satisfied for the sizes: S M L
Amplification
At the two highest volume stages the hearing protectors amplifies the ambient sound.
Battery warning
A tone will be heard when about 40 hours battery life remains. The battery warning will be heard after 10 seconds in connection with starting up the electronics and will be repeated every 30 min.
Connection
The product has one input, 3.5 mm, for connecting an external acoustic source, e.g.: communication radio, hunting radio, mobile phone, etc. We recommend that you connect the angled jack plug to the hearing protectors as this gives the most secure connection and is least interfering. Refer to the operating instructions for the external audio equipment to ensure that it is correctly connected. The circuit must not be subjected to a signal greater than 5 volts to prevent permanent damage. Input signal level level for which the mean plus one standard deviation equals 82 dB(A): 225 mVrms. Note! Please see Table 1 for more detailed information.
THE FOLLOWING SUPPLEMENTARY INFORMATION APPLIES ONLY TO VERSIONS 75302-X LED LED LIGHT (figure H)

Your hearing protector is equipped with a LED light. To activate the LED light press the + and – buttons at the same time, to inactivate the LED light press the + and – buttons at the same time. The LED light automatically shut off after three minutes. THE FOLLOWING SUPPLEMENTARY INFORMATION APPLIES ONLY TO VERSIONS 7*302-X and 7*302-X LED (figure H)
Audio Profiles
Your hearing protector is equipped with four different audio profiles:
Hunting
- Main audio profile
- User situations: General hunting profile for various forms of hunting When switched on, press the (O) button (figure D) to switch between Hunting and Shooting mode. You will hear one short beep when entering Hunting mode.
Shooting
- Comfort profile with a lower gain and reduced frequency spectrum
- Adapted for face to face communication
- User situations: Shoot training and recreational shooting When switched on, press the (O) key (figure D) to switch between Hunting and Shooting mode. You will hear two short beeps when entering Shooting mode.
Focus
- Higher sound amplification and wider frequency spectrum. For higher situational awareness
- User situations: Low sound environment where high gain is requested When switched on, set the volume to max and then press and hold the + button (figure D) until three short high-pitch beeps are heard. The Focus profile is only available in Hunting profile.
Communication (Comms)
- Passive sound attenuation only
- AUX input on, enabling connection to communication radios by 3.5 mm AUX cable without the ambient sound.
- User situations: High noise environments
When switched on, set the min volume and then long press the – button (figure D) until 3 short low-pitch beeps are heard.
Note! If the hearing protector is switched off in Focus or Comms audio profiles, the start mode will return to Hunting when switching the hearing protector on next time.
MAINTENANCE
The outside of the muff and the cushion can easily be cleaned with soap and water. Earmuffs and in particular cushions may deteriorate with use and ageing and should be inspected regularly for cracks and leakage. The cushions are filled with foam or gel and are replaceable. Worn or damaged parts are easily replaced (figure B). Use only hygiene kits from the manufacturer, designed for electronics, order number 60089-S or 60092-S. The hygiene kit should be replaced at least twice a year for standard use to ensure that the noise attenuation performances are maintained. The fitting of hygiene covers to the cushions may affect the acoustic performance of the hearing protectors. This product may be adversely affected by certain chemical substances. Further information should be sought from the manufacturer. The user must ensure that the hearing protector:
- fits properly and is adjusted and maintained in compliance with our instructions
- are worn at all the time in noisy environments
- is inspected regularly to ensure good condition.
Moisture may occur inside the hearing protector muffs if used for long periods. To avoid long term affects of moisture on the electronic components it is recommended that the acoustic inserts are regularly removed to allow the muffs to dry, e.g., overnight (figure B).
When removing the cushion and insert take great care not to touch the electronics board or cables. Changes in position of cables could cause disturbance in the system. Do not subject the hearing protector to rough handling, which can damage the electronics.
The hearing protectors must not be immersed in water! fits properly and is adjusted and maintained in compliance with our instructions
- are worn at all the time in noisy environments
- is inspected regularly to ensure good condition.
Moisture may occur inside the hearing protector muffs if used for long periods. To avoid long term affects of moisture on the electronic components it is recommended that the acoustic inserts are regularly removed to allow the muffs to dry, e.g., overnight (figure B). When removing the cushion and insert take great care not to touch the electronics board or cables. Changes in position of cables could cause disturbance in the system. Do not subject the hearing protector to rough handling, which can damage the electronics.
The hearing protectors must not be immersed in water!
STORAGE
When the hearing protector is not in use, the headband or neckband should not be extended or the cushions compressed. Keep the muffs dry and clean and keep them in normal room temperature. Do not allow the hearing protector to lie in direct sunlight. If the product is to be stored for a longer period it is recommended that the batteries be removed from the battery holder to prevent damage. If the above recommendations for the hearing protectors are not adhered, the attenuation values ability could deteriorate considerably.
LIMITED TROUBLE SHOOTING/CARE ADVICE
If the electronics cease to function it may be easy to rectify the problem. Please check the following:
- Replace the batteries with new ones.
- Ensure that the batteries are correctly fitted in the hearing protector.
- Ensure that the battery plates make good contact with the batteries.
- Ensure that the battery plates have not become coated with verdigris. If these measures do not help, consult the point of sale.
WARNING!
- The noise attenuation of the product will be severely impaired if you do not follow the instructions in this operator’s manual.
- The wearer should ensure that the hearing protectors are worn at all times in noisy environments.
- When exceeding the specified limits a risk of hearing impairment exists.
- This hearing protector is not aimed to be used with entertainment devices.
- These hearing protectors reproduce ambient sound electronically. The user must check the function before using the product. If distortion or other fault is detected, follow the instructions for changing and maintenance of the batteries. If this does not help, consult an authorized agent.
- The function can deteriorate in step with discharging of the battery. In normal use, the estimated life of the batteries is about 400 hours.
- The estimated A-weighed sound level inside the muff, with consideration taken to attenuation values (table 2 & 3), shall not exceed 82 dB(A).
- Remember that hearing protectors generally can block out ambient sound, such as warning shouts, alarms, and other important signals. Therefore, be extra cautious of your surroundings when wearing hearing protectors.
- The integrated microphones for reproduction of ambient sound increase safety considerably in your daily work. Note! It is possible to disconnect the level dependent function, which means that warning signals and warning shouts will be much more difficult to hear. To minimize the risk of accidents we therefore recommend that the level dependent function is switched on all times.
- The output signal from the level dependent function can exceed the actual external sound level.
- The output of the electrical audio circuit of this hearing protector may exceed the daily limit sound level.
- Do not put the product in storage at temperatures above +55°C and below -20°C.
- Only use the product between temperatures -20°C and +55°C.
- The level dependent function may deteriorate in rain or moist conditions and the user should therefore be aware of the possible deterioration. If deterioration occurs, immediately allow the microphones in the hearing protector to dry (with open muffs for 24 h) until the function is fully restored.
- The fitting of hygiene covers to the cushions may affect the acoustic performance of the hearing protectors.
- The symbol on the product indicates that this product may not be treated as household waste. Instead, it shall be handed over to the applicable collection point for the recycling of electrical and electronic equipment. By ensuring this product is disposed of correctly, you will help prevent potential negative consequences for the environment and human health, which could otherwise be caused by inappropriate waste handling of this product. For more detailed information about recycling of this product, please contact your local council office, your household waste disposal service, or the shop where you purchased the product.
- The hearing protector is provided with safety-related audio input. The user should check correct operation before use. If distortion or failure is detected, the user should refer to the manufacturer’s advice for maintenance.
- Never use the hearing protector longer than 10 years from the manufacturing date stated on the packaging.
- When transporting the product ensure they are protected from chemical and/or physical damage.
TESTS AND APPROVAL
The products meets the Essential Health and Safety Requirements as laid out in Annex II and conforms with quality assurance of the production process, module D, laid out in Annex VIII of the PPE-regulation (EU) 2016/425. CE marking are in accordance with EN352-1:2002, EN352-4:2001/A12005 and EN352-6:2002. The products are approved to modules B and D by BSI (NB 2797), BSI Group The Netherlands B.V. Say Building, John M. Keynesplein 9, 1066 EP Amsterdam, The Netherlands. All products has also been tested and approved according to the EMC directive 2014/30/EU.
APPROVAL
The products meet the Essential Health and Safety Requirements as laid out in Annex II and conforms with quality assurance of the production process, module D, laid out in Annex VIII of the Regulation 2016/425 on personal protective equipment, as amended to apply in GB. UKCA markings are in accordance with the designated standards as listed above under Tests and Approval. The products are approved to modules B and D by BSI Assurance UK Limited (AB 0086), Kitemark Court, Davy Avenue, Knowlhill, Milton Keynes, MK5 8PP. The UKCA declarations of Conformity (DoC) can be found on www.sordin.com (search for UKCA).
WARNING!
Hearing protectors complying with EN 352-1 are of ‘medium size range’, ‘small size range’ or ‘large size range’. ‘Medium size range’ hearing protectors will fit the majority of wearers. ‘Small size range’ or ‘large size range’ are designed to fit wearers for whom ‘medium size range’ hearing protectors are not suitable.
ATTENUATION DATA (table 2 & 3)
The attenuation values of the hearing protectors are tested according to EN 4869-2:2018 (with the electronics switched off) and the results are noted in the table 2 & 3.
Explanation:
- 75302 Supreme Pro Headband (Table 2)
- 75302-X Supreme Pro-X Headband (Table 2)
- 75302-X LED Supreme Pro-X LED Headband (Table 2)
- 76302 Supreme Pro Neckband (Table 3)
- 76302-X Supreme Pro-X Neckband (Table 3)
Attenuation value explanation:
- f = Frequencies where attenuation value is measured
- Mf = Mean value
- sf = Standard deviation
- APV (Mf–sf) = Assumed Protection Value
- H = High frequency attenuation value (predicted noise level reduction for noise with LC–LA = –2 dB)
- M = Medium frequency attenuation value (predicted noise level reduction for noise with LC–LA = +2 dB) L = Low frequency attenuation value (predicted noise level reduction for noise with LC–LA = +10 dB) SNR = Single Number Rating (the value which is subtracted from the measured C-weighed sound pressure level, LC, in order to estimate the effective A-weighted sound pressure level inside the ear)
- W = Gross weight of the hearing protector in gram, not including batteries
CRITERION LEVELS (table 4) Supreme Basic Line / Supreme Pro Line
Typical values in accordance with EN 352-4:2001/A1:2005, appendix A, with the volume set to maximum. Table 4 key:
- H = High-frequency sound pressure level (LC–LA = 1,2 dB)
- M = Medium frequency sound pressure level (LC–LA = 2 dB)
- L = Low-frequency sound pressure level (LC–LA = 6 dB)
Additional information about the hearing protectors, such as the Declaration of Conformity, can be found on www.sordin.com or from Sordin AB, Rörläggarvägen 8, SE-331 53 VÄRNAMO, Sweden.
THE FOLLOWING SUPPLEMENTARY INFORMATION APPLIES TO SUPREME, ONLY IN USA/CAN:
Tested according to ANSI Specifications, ANSI S3.19-1974 Information required by E.P.A: The level of noise entering a person’s ear, when hearing protection is worn as directed, is closely approximated by the difference between the A-weighted environmental level and the NRR. Example: The environmental noise level at the ear is 92 dB(A). The NRR is 23 decibels (dB). The level of noise entering the ear is approximately equal to 69dB(A).
CAUTION:
For noise environments dominated by frequencies below 500 Hz, the C-weighted environmental noise level should be used. Improper fit of this device will reduce its effectiveness in attenuating noise. Although hearing protection can be recommended for protection against the harmful effect of impulse noise, the Noise Reduction Rating (NRR) is based on the attenuation of continuous noise and may not be an accurate indicator of the protection attainable against impulsive noise, such as gunfire.
MATERIAL SPECIFICATION

ATTENUATION DATA – Supreme Pro

ATTENUATION DATA – Supreme Pro

TABLE 1.1
Corrected ATF A-weighted diffuse field related sound pressure level (Supreme Basic Line)
| Corrected ATF A-weighted diffuse field related sound pressure level (dB(A)) | Signal level (mVrms) |
| 68.9 | 46 |
| 74.0 | 82 |
| 78.8 | 146 |
| 82.9 | 260 |
| 85.9 | 462 |
| 88.2 | 821 |
TABLE 2
Supreme Pro Line Headband, 753XX
| F (Hz) | 125 | 250 | 500 | 1000 | 2000 | 4000 | 8000 |
| MF (dB ) | 13.5 | 15.5 | 23.7 | 24.1 | 30.4 | 36.6 | 38.6 |
| Sf (dB ) | 3.2 | 1.9 | 3.9 | 2.7 | 3.2 | 4.4 | 4.2 |
| APV = M f-sf (dB ) | 10.3 | 13.6 | 19.8 | 21.4 | 27.2 | 32.2 | 34.4 |
H = 28 dB, M = 21 dB, L = 16 dB, SNR = 25 dB
TABLE 3
Supreme Pro Line Neckband, 763XX
| F (Hz) | 125 | 250 | 500 | 1000 | 2000 | 4000 | 8000 |
| MF (dB ) | 11.0 | 16.0 | 23.0 | 24.6 | 27.4 | 38.8 | 41.1 |
| Sf (dB ) | 3.9 | 2.1 | 2.0 | 3.1 | 3.1 | 3.8 | 3.7 |
| APV = M f-sf(dB ) | 7.1 | 13.9 | 21.0 | 21.5 | 24.3 | 35.0 | 37.4 |
H = 26 dB, M = 21 dB, L = 15 dB, SNR = 24 dB
TABLE 4
| Model | H (dB(A)) | M (dB(A)) | L (dB(A)) |
| Supreme Pro Headband (75302) | 113 | 104 | 91 |
| Supreme Pro-X Headband (75302-X) | 112 | 105 | 94 |
| Supreme Pro-X LED Headband (75302-X LED) | |||
| Supreme Pro Neckband (76302) | 113 | 101 | 88 |
| Supreme Pro-X Neckband (76302-X) |


















