
AEG AWUSO20B5B 5000 Series 82 cm Integrated Refrigerator

FOR PERFECT RESULTS
Thank you for choosing this AEG product. We have created it to give you impeccable performance for many years, with innovative technologies that help make life simpler – features you might not find on ordinary appliances. Please spend a few minutes reading to get the very best from it.
Visit our website to:
- Get usage advice, brochures, troubleshooter, service, and repair information: www.aeg.com/support
- Register your product for better service: www.registeraeg.com
- Buy Accessories, Consumables, and Original spare parts for your appliance: www.aeg.com/shop
CUSTOMER CARE AND SERVICE
Always use original spare parts. When contacting our Authorised Service Centre, ensure that you have the following data available: Model, PNC, Serial Number. The information can be found on the rating plate. Warning / Caution-Safety information general information and tips Environmental information Subject to change without notice.
SAFETY INFORMATION
Before the installation and use of the appliance, carefully read the supplied instructions. The manufacturer is not 2 www.aeg.com responsible for any injuries or damage that are the result of incorrect installation or usage. Always keep the instructions in a safe and accessible location for future reference.
Children and vulnerable people’s safety
- This appliance can be used by children aged 8 years and above and persons with reduced physical, sensory or mental capabilities or lack of experience and knowledge if they have been given supervision or instruction concerning the use of the appliance in a safe way and understand the hazards involved.
- Children aged from 3 to 8 years are allowed to load and unload the appliance provided that they have been properly instructed.
- This appliance may be used by persons with very extensive and complex disabilities provided that they have been properly instructed.
- Children of less than 3 years of age should be kept away from the appliance unless continuously supervised.
- Children should be supervised to ensure that they do not play with the appliance.
- Children shall not carry out cleaning and user maintenance of the appliance without supervision.
- Keep all packaging away from children and dispose of it appropriately.
General Safety - This appliance is for storing food and beverages only.
- This appliance is designed for single household domestic use in an indoor environment.
- This appliance may be used in, offices, hotel guest rooms, bed & breakfast guest rooms, farm guest houses, and other similar accommodations where such use does not exceed (average) domestic usage levels.
- Use this appliance for the storage of wine only.
- To avoid contamination of food respect the following
instructions:- do not open the door for long periods; clean regularly surfaces that can come in contact with food and accessible drainage systems;
- WARNING: Keep ventilation openings, in the appliance enclosure or in the built-in structure, clear of obstruction.
- WARNING: Do not use mechanical devices or other means to accelerate the defrosting process, other than those recommended by the manufacturer.
- WARNING: Do not damage the refrigerant circuit.
- WARNING: Do not use electrical appliances inside the food storage compartments of the appliance, unless they are of the type recommended by the manufacturer.
- Do not use water spray and steam to clean the appliance.
- Clean the appliance with a moist soft cloth. Only use neutral detergents. Do not use abrasive products, abrasive cleaning pads, solvents, or metal objects.
- When the appliance is empty for long period, switch it off, defrost, clean, dry and leave the door open to prevent mold from developing within the appliance.
- Do not store explosive substances such as aerosol cans with a flammable propellant in this appliance.
- If the supply cord is damaged, it must be replaced by the manufacturer, its Authorised Service Centre or similarly qualified persons in order to avoid a hazard.
SAFETY INSTRUCTIONS
- Remove all the packaging.
- Do not install or use a damaged appliance.
- Do not use the appliance before installing it in the built-in structure due to safety manner.
- Follow the installation instructions supplied with the appliance.
- Always take care when moving the appliance as it is heavy. Always use safety gloves and enclosed footwear.
- Make sure the air can circulate around the appliance.
- At first installation or after reversing the door wait at least 4 hours before connecting the appliance to the power supply. This is to allow the oil to flow back in the compressor.
- Before carrying out any operations on the appliance (e.g. reversing the door), remove the plug from the power socket.
- Do not install the appliance close to radiators or cookers, ovens or hobs.
- Do not expose the appliance to the rain.
- Do not install the appliance where there is direct sunlight.
- Do not install this appliance in areas that are too humid or too cold.
- When you move the appliance, lift it by the front edge to avoid scratching the floor.
- The appliance contains a bag of desiccants. This is not a toy. This is not food. Please dispose of it immediately.
Electrical connection
The appliance must be earthed.
- Make sure that the parameters on the rating plate are compatible with the electrical ratings of the main power supply.
- Always use a correctly installed shockproof socket.
- Make sure not to cause damage to the electrical components (e.g. mains plug, mains cable, compressor). Contact the Authorised Service Centre or an electrician to change the electrical components.
- The main cable must stay below the level of the main plug.
- Connect the mains plug to the mains socket only at the end of the installation. Make sure that there is access to the mains plug after the installation.
- Do not pull the main cable to disconnect the appliance. Always pull the mains plug.
Use
The appliance contains flammable gas, isobutane (R600a), natural gas with a high level of environmental compatibility. Be careful not to cause damage to the refrigerant circuit containing isobutane.
- Do not change the specification of this appliance.
- Any use of the built-in product as freestanding is strictly prohibited.
- Do not put electrical appliances (e.g. ice cream makers) in the appliance unless they are stated applicable by the manufacturer.
- If damage occurs to the refrigerant circuit, make sure that there are no flames and sources of ignition in the room. Ventilate the room.
- Do not let hot items to touch the plastic parts of the appliance.
- Do not store flammable gas and liquid in the appliance.
- Do not put flammable products or items that are wet with flammable products in, near or on the appliance.
- Do not touch the compressor or the condenser. They are hot.
Internal lighting
Concerning the lamp(s) inside this product and spare part lamps sold separately: These lamps are intended to withstand extreme physical conditions in household appliances, such as temperature, vibration, humidity, or are intended to signal information about the operational status of the appliance. They are not intended to be used in other applications and are not suitable for household room illumination.
Care and cleaning
Before maintenance, deactivate the appliance and disconnect the mains plug from the mains socket.
- This appliance contains hydrocarbons in the cooling unit. Only a qualified person must do the maintenance and the recharging of the unit.
- Regularly examine the drain of the appliance and if necessary, clean it. If the drain is blocked, defrosted water collects in the bottom of the appliance.
Service
- To repair the appliance contact the Authorised Service Centre. Use original spare parts only.
- Please note that self-repair or nonprofessional repair can have safety consequences and might void the guarantee.
- The following spare parts will be available for 7 years after the model
INSTALLATION
has been discontinued: thermostats, temperature sensors, printed circuit boards, light sources, door handles, door hinges, trays and baskets. Please note that some of these spare parts are only available to professional repairers, and that not all spare parts are relevant for all models. Door gaskets will be available for 10 years after the model has been discontinued.
Disposal
- Disconnect the appliance from the main supply.
- Cut off the main cable and discard it.
- Remove the door to prevent children and pets to be closed inside of the appliance.
- The refrigerant circuit and the insulation materials of this appliance are ozone-friendly.
- The insulation foam contains flammable gas. Contact your municipal authority for information on how to discard the appliance correctly.
- Do not cause damage to the part of the cooling unit that is near the heat exchanger.
Dimensions

the height, width and depth of the appliance without the handle the height, width and depth of the appliance including the handle, plus the space necessary for free circulation of the cooling air, plus the space necessary to allow door opening to the minimum angle permitting removal of all internal equipment
| Overall dimensions ¹ | ||
| H1 | mm | 820 |
| W1 | mm | 295 |
| D1 | mm | 571 |
| Space required in use ² | ||
| H2 | mm | 822 |
| W2 | mm | 300 |
| D2 | mm | 648 |
| Overall space required in use ³ | ||
| H2 | mm | 822 |
| W3 | mm | 348 |
| D3 | mm | 855 |
Location
To ensure the appliance’s best functionality you should not install the appliance in a nearby of heat source (oven, stoves, radiators, cookers, or hobs) or in a place with direct sunlight. Make sure that air can circulate freely around the back of the cabinet. This appliance should be installed in a dry, well-ventilated indoor position. This appliance is intended to be used at ambient temperatures ranging from 16°C to 38°C. The correct operation of the appliance can only be guaranteed within the specified temperature range. If you have any doubts regarding where to install the appliance, please turn to the vendor, to our customer service or to the nearest Authorised Service Centre It must be possible to disconnect the appliance from the mains power supply. The plug must therefore be easily accessible after installation
Electrical Connection
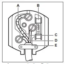
The wires in the mains lead are coloured in accordance with the following code:

- A – green and yellow: Earth
- C – Brown: Live
- D – blue: Neutral
As the colors of the wires in the mains lead of this appliance may not correspond with the colored markings identifying the terminals in your plug, proceed as follows:
- Connect the wire colored green and yellow to the terminal marked either with the letter “E“ or by the earth symbol or colored green and yellow.
- Connect the wire colored blue to the terminal either marked with the letter “N“ or colored black.
- Connect the wire colored brown to the terminal either marked with the “L“ or colored red.
- Check that no cut, or stray strands of wire is present and the cord clamp (E) is secure over the outer sheath. Make sure the electricity supply voltage is the same as that indicated on the appliance rating plate.
- Switch on the appliance. The appliance is supplied with a 13 amp fuse (B). In the event of having to change the fuse in the plug supplied, a 13 amp ASTA approved (BS 1362) fuse must be used.
Leveling
When placing the appliance make sure that it stands level. This can be achieved by two adjustable feet at the bottom in front.
Installing the upper bracket
Fasten your appliance:
- Use two screws to install the upper bracket on the top of the appliance.
- Put the appliance in the cupboard and use two screws to fix the upper bracket on the cupboard.

Door reversibility
Tools you need
- cross-shaped screwdriver,
- putty knife or thin-blade screwdriver.

- Make sure the appliance stands upright.
- Open the door and remove all wine bottles from the shelves. Close the door.
- Unscrew the 4 screws that connect the bottom hinge. Put the bottom hinge in a safe place together with the screws.
- Remove the door and put it on a soft surface.
- Unscrew the screws that connect the upper hinge at the top right corner of the appliance. Put the upper hinge in a safe place together with the screws.
- Use a putty knife or a thin blade screwdriver to remove 3 screw hole covers from the left upper corner of the appliance. Transfer and insert the covers to screw holes at the other side.
- Screw the top hinge on the left side of the appliance.
- Set the door into its new place.
- Secure the lower hinge and do not tighten the screws, until the door is in the closed position and leveled.
- Wait at least 4 hours before connecting the appliance to the power supply.




PRODUCT DESCRIPTION
Product overview

- Control panel
- Shelves
- Feet
- Decorative frame
- Tempered glass door
- Handle
- Gasket
OPERATION
Switching on
- Insert the plug into the wall socket.
- Press the power button if the display is off.
- The display shows the set default temperature (12°C). To select a different set temperature, refer to the “Temperature regulation” section.
Switching off - Press the power button for 5 seconds.
- The display switches off.
- To disconnect the appliance from the power, remove the plug from the power socket.
Light button
To turn the light on and off, press the light button. The light has no negative effect on the quality of the wine.
Temperature regulation
The default set temperature for the wine cabinet is 12°C.
DAILY USE
Wine storage This appliance is intended to be used exclusively for the storage of wine. Wine storage compartment is the one marked (on the rating plate).The storage time for wine depends on age, alcoholic content, type of grapes and level of fructose and tannin in it. At the time of purchase, check if the wine is already aged or if it will improve over time.
Recommended storage temperatures:
- For champagne and sparkling wines, between +6°C and +8°C.
- For white wines, between +10°C and +12°C.
- For rose and light red wines, between +12°C and +16°C.
- Aged red wines, between +14°C and +16°C. The appliance is designed to store up to 20 Bordeaux bottles (0.75 l) by placing:
- 5 bottles on level 1,
- 3 bottles on level 2,3,4,5,6.

Humid box
Humid box is located on the top shelf of the wine cabinet. It is detachable. Pour some water into the humid box to prevent too low air humidity level.
Top shelf can fit:
- 2 bottles with the humid box,
- 3 bottles without the humid box.

Removing and installing shelves
To remove any shelf from the wine cabinet: - Open the wine cabinet doors completely.
- Pull the wooden shelf until its notch is under the wine cabinet plastic post.
- Lift slightly the front of the shelf and detach it from the appliance. To put the shelf back into its initial position, follow the above steps in reverse order.

HINTS AND TIPS
Hints for energy saving
- The internal configuration of the appliance is the one that ensures the most efficient use of energy.
- Do not open the door frequently or leave it open longer than necessary.
- Ensure a good ventilation. Do not cover the ventilation grilles or holes.
CARE AND CLEANING
Cleaning the interior Before using the appliance for the first time, the interior and all internal accessories should be washed with lukewarm water and some neutral soap to remove the typical smell of a brand-new product, then dried thoroughly.
Periodic cleaning
The equipment has to be cleaned regularly:
- Clean the inside with lukewarm water and baking soda solution. The solution should be about 2 tablespoons of baking soda to a quart of water.
- Wring excess water out of a sponge or cloth when cleaning the area of the controls, or any electrical parts.
- Clean the outside of the appliance with warm water and some neutral soap.
- Regularly check the door seals and wipe them clean to ensure they are clean and free from debris.
- Rinse and dry thoroughly.
Periods of non-operation When the appliance is not in use for long periods, take the following precautions: - . Disconnect the appliance from the electricity supply.
- Remove all items.
- Clean the appliance and all accessories.
- Leave the door open to prevent unpleasant smells. When the appliance is not in use due to power failure:
- Most power failures are corrected within a few hours and don’t affect the temperature of your appliance if you minimize the door opening.
- If the power is going to be off for a longer time, you need to take the proper steps described above.
TROUBLESHOOTING
What to do if…
| Problem | Possible cause | Solution |
| The appliance does not op‐ erate. | The appliance is switched off. | Switch on the appliance. |
| The mains plug is not con‐ nected to the mains socket correctly. | Connect the mains plug to the mains socket correctly. | |
| There is no voltage in the mains socket. | Connect a different electrical appliance to the mains socket. Contact a qualified electrician. | |
| The circuit breaker tripped or a blown fuse. | Turn on the circuit breaker or change the fuse. |
| Problem | Possible cause | Solution |
| The compressor operates continually. | Temperature is set incor‐ rectly. | Refer to “Operation” chapter. |
| The room temperature is too high. | Refer to “Installation” chapter. | |
| The door is opened too of‐ ten. | Do not keep the door open longer than necessary. | |
| The door is not closed cor‐ rectly. | Refer to “Closing the door” section. | |
| The light does not work. | The appliance is not plug‐ ged in. | Connect the appliance. |
| The circuit breaker tripped or a blown fuse. | Turn on the circuit breaker or change the fuse. | |
| The lamp is defective. | Contact the service. | |
| The light button is not op‐ erating. | Contact the service. | |
| Too much vibration. | The appliance is not sup‐ ported properly. | Check if the appliance stands stable. |
| The appliance is noisy. | The appliance is not sup‐ ported properly. | Check if the appliance stands stable. |
| Water flows on the rear plate of the appliance. | During the automatic de‐ frosting process, frost melts on the rear plate. | This is correct. |
| Water flows inside the wine cabinet. | Products prevent that wa‐ ter flowing into the water collector. | Make sure that products do not touch the rear plate. |
| The temperature in the wine cabinet is too low or too high. | The temperature regulator is not set correctly. | Set a higher or lower temperature. |
| The door is not closed correctly. | Refer to the “Closing the door” section. |
NOISES

TECHNICAL DATA
The technical information is situated in the rating plate on the internal side of the appliance and on the energy label. The QR code on the energy label supplied with the appliance provides a web link to the information related to the performance of the appliance. Keep the energy label for reference together with the user manual and all other documents provided with this appliance.
INFORMATION FOR TEST INSTITUTES
Installation and preparation of the appliance for any EcoDesign verification shall be compliant with BS EN 62552. Ventilation requirements, recess dimensions, and minimum rear clearances shall be as stated in this User Manual at Chapter 3. Please contact the manufacturer for any other further information, including loading plans.
ENVIRONMENTAL CONCERNS
Recycle materials with the symbol . Put the packaging in relevant containers to recycle it. Help protect the environment and human health by recycling waste of electrical and electronic appliances. Do not dispose of appliances marked with the symbol with the household waste. Return the product to your local recycling facility or contact your municipal office.






















