INSIGNIA Compact Refrigerator NS-CF12V17BK1 User Guide

IMPORTANT SAFETY INSTRUCTIONS
WARNING: To reduce the risk of fire, explosion, electric shock, or injury when using your refrigerator, follow these basic safety precautions:
- This refrigerator must be properly installed and located in accordance with the Installation Instructions before it is used.
- Disconnect the refrigerator from main power supply at rear of unit, remove refrigerator circuit fuse, or turn off circuit breaker before making repairs or cleaning.
- NOTE: Power to the refrigerator cannot be disconnected by any setting on the control panel.
- NOTE: Repairs must be performed by a qualified Service Professional.
- Replace all parts and panels before operating.
- Do not store or use gasoline or other flammable vapours and liquids in the vicinity of this or any other appliance.
- Do not store explosive substances such as aerosol cans with a flammable propellant in this appliance.
- Do not use an extension cord. Use only continuous supply wires connected directly between the DC voltage source or distribution panel and the refrigerator.
- To prevent suffocation and entrapment hazards to children, remove the fresh food and freezer doors from any refrigerator before disposing of it or discontinuing its use.
- To avoid serious injury or death, children should not stand on, or play in or with the appliance.
- Children and persons with reduced physical, sensory or mental capabilities or lack of experience and knowledge can use this appliance only if they are supervised or have been given instructions on safe use and understand the hazards involved.
- This appliance is intended to be used in household and similar applications such as: staff kitchen areas in shops, offices and other working environments; farm houses; by clients in hotels, motels, bed & breakfast and other residential environments; catering and similar non-retail applications.
- Do not apply harsh cleaners to the refrigerator. Certain cleaners will damage plastic which may cause parts such as the door or door handles to detach unexpectedly. See the Care and Cleaning section for detailed instructions.
CAUTION: To reduce the risk of injury when using your refrigerator, follow these basic safety precautions.
- Do not clean glass shelves or covers with warm water when they are cold. Glass shelves and covers may break if exposed to sudden temperature changes or impact, such as bumping or dropping. Tempered glass is designed to shatter into many small pieces if it breaks.
- Keep fingers out of the “pinch point” areas; clearances between the doors and between the doors and cabinet are necessarily small. Be careful closing doors when children are in the area.
- Do not touch the cold surfaces in the freezer compartment when hands are damp or wet, skin may stick to these extremely cold surfaces
- Do not refreeze frozen foods which have thawed completely.
IMPORTANT SAFETY INFORMATION READ ALL INSTRUCTIONS BEFORE USING
INSTALLATION
WARNING: EXPLOSION HAZARD Keep flammable materials and vapours, such as gasoline, away from refrigerator. Failure to do so can result in fire, explosion, or death.
WARNING: ELECTRICAL SHOCK HAZARD Failure to follow these instructions can result in death, fire, or electrical shock.
- A 12 volt DC, 15-20-amp fused, grounded electrical supply is required. This provides the best performance and also prevents overloading RV wiring circuits which could cause a fire hazard from overheated wires.
- Do not connect the refrigerator to AC voltage circuits, or to AC outlet of inverter.
- The refrigerator should always be connected to its own individual electrical branch leading directly to the main DC voltage source or distribution panel.
- Immediately discontinue use if the main power supply line has been damaged. If the supply line is damaged, it must be repaired by a qualified service professional.
- When removing the refrigerator away from the wall, be careful not to roll over or damage the main power supply line.
PROPER DISPOSAL OF YOUR OLD REFRIGERATOR
WARNING: SUFFOCATION AND ENTRAPMENT HAZARD Failure to follow these disposal instructions can result in death or serious injury.
IMPORTANT: Child entrapment and suffocation are not problems of the past. Junked or abandoned refrigerators or freezers are still dangerous even if they will sit for “just a few days.” If you are getting rid of your old refrigerator or freezer, please follow the instructions below to help prevent accidents.
Before You Throw Away Your Old Appliance
- Take off the fresh food and freezer doors.
- Leave the shelves in place so that children may not easily climb inside.
Refrigerant and Foam Disposal: Dispose of refrigerator in accordance with Federal and Local Regulations. Flammable insulation material used requires special disposal procedures. Contact your local authorities for the environmentally safe disposal of your refrigerator.
Features
Package contents
- 1.6 Cu. Ft. 12 Volt Compact Refrigerator
- User Guide
Dimensions

Refrigerator parts

Installing your refrigerator
Before using your refrigerator
- Remove the exterior and interior packing.
- Let your refrigerator stand upright for approximately four hours before connecting it to power. This reduces the possibility of a malfunction in the cooling system from incorrect handling during transportation.
- Clean the interior surface with lukewarm water using a soft cloth.
Finding a suitable location
CAUTION: Your refrigerator is not designed for a recessed installation.
- Place your refrigerator on a floor that’s strong enough to support your refrigerator when it is fully loaded.
- Allow 1 in. (2.5 cm) of space between the back and sides of your refrigerator and any surrounding walls. This allows the correct air ventilation. Adjust the feet to keep your refrigerator level.
- Locate your refrigerator away from direct sunlight and sources of heat (stove, heater, radiator, and so on). Direct sunlight may affect the acrylic coating and heat sources may increase electrical consumption. Ambient temperature below 50° F (10° C) or above 85° F (29.4° C) hinders the performance of your refrigerator. Your refrigerator is not designed for use in a garage or any other outside installation.
- Avoid locating your refrigerator in moist areas.
Minimum space requirements
Note: The door should protrude at least 1 in. (2.5 cm) beyond the surrounding cabinets.

Providing correct ventilation
Place your refrigerator at lease 1 inch (2.5 cm) from the wall to make sure that the airflow to the compressor is adequate. Don’t place your refrigerator near any heat sources, such as a heater or stove, because this may put a strain on the compressor.
Connecting power
WARNING: ELECTRICAL SHOCK HAZARD Failure to follow these instructions can result in death, fire, or electrical shock.
Selecting the correct type wire
Long lengths for DC voltage supply lines combined with small gauge wiring can lead to excessive voltage drop at the refrigerator connection. This decreases the cooling performance of the refrigerator and cause the wires to overheat possibly causing a fire.

Note: Your refrigerator is not equipped with a power source. Purchase a power source from an authorized dealer.
- Disconnect power by removing the refrigerator circuit fuse or turning off the circuit breaker in the DC voltage distribution panel.
- Turn the thermostat control knob to the 0 position.
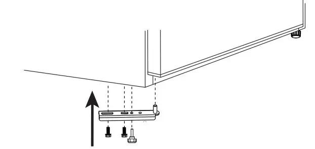
- Remove the four screws in the lower rear refrigerator cover using a Phillips screwdriver.

- Locate the power supply connection terminal block on the right side of the compressor compartment.

- Unsnap the clear plastic cover over the terminal block to access the terminal screws.
- Loosen the terminal screws on the lower side of the block with a Phillips screwdriver.
- Connect a power supply wire to the + terminal (1). See Selecting the correct type wire on page 8.
- Connect a power supply wire to the terminal (2).
- If you install your refrigerator in an RV, connect a power supply wire to the GND (3) terminal and to a metal portion of the RV.
- Tighten the terminal block screws, then replace the plastic cover.
- Align the rear refrigerator cover with the screw holes, then route the supply wires through the slot on the lower right of the cover.
- Replace the screws you removed previously.
- Connect the power supply wires to the DC power supply. See the documentation that came with the supply.
- Move your refrigerator into its final position. Make sure that you don’t roll over or damage the main power supply line.
- Turn on your refrigerator by replacing refrigerator circuit fuse or turning on circuit breaker in the DC voltage distribution panel.
- Return the control knob to the 7 position.
Reversing the door position
CAUTIONS:
- To avoid serious injury or death from electrical shock, disconnect the main DC power source before you reverse the door.
- To remove the door, you have to tilt your refrigerator backwards. To avoid personal injury and property damage, get another person to tilt your refrigerator while you reverse the door. You can also lean your refrigerator against something solid, like a chair, just below the top panel.
- DO NOT lay your refrigerator flat because you may damage the coolant system.
You need the following tools to reverse the door:

- Unplug your refrigerator, then remove all contents.
- Adjust the levelling feet to their highest positions.
- Remove the screw holding the top hinge cover to the top of your refrigerator, then remove the cover.
- Remove the screws and pin holding the top hinge to your refrigerator, then remove the hinge.

- Remove the screw hole covers from the other side of your refrigerator.

- Pull the door upward and remove it from your refrigerator.
- Remove the levelling foot from the bottom left of your refrigerator.
- Remove the screws that secure the bottom hinge bracket.

- Install the levelling foot on the right side of your refrigerator, then tighten the foot.

- Install the bottom hinge and the door stopper on the left bottom of your refrigerator using the screws you removed previously. Tighten the screws.

- Align the door bottom so that the pin on the hinge slides into the hole in the door bottom.
- Align the hinge with the screw holes on the door and the hole in the top edge of the door. Slide the pin through the hole in the hinge and into the hole on the top edge of the door. Use the screws to attach the hinge to your refrigerator, but don’t tighten the hinge screws.

- Place the hole covers over the hinge openings on the other side of the door.

- Make sure that the door seals are snug on all sides when the door is closed, then tighten the upper hinge screws.
- Place the hinge cover over the upper hinge, then secure the cover with the screw you removed previously.

- Adjust the levelling feet to level your refrigerator.
Leveling your refrigerator
- Your refrigerator must be level in order to function correctly. If your refrigerator isn’t levelled during installation, the doors may not close or seal correctly and cause cooling, frost, or moisture problems.
- To level your refrigerator, turn the levelling foot clockwise to raise a side to your refrigerator or turn it counter-clockwise to lower a side.
Note: Having someone push against the top of your refrigerator helps to take some weight off the levelling foot and makes it easier to adjust.
Setting the thermostat
Note: Your refrigerator’s temperature ranges from 32° to 46.4° F (0° to 8° C).
- The first time you turn your refrigerator on, adjust the thermostat to 7 and let your refrigerator cool at least 2 hours before putting foods inside. This makes sure that the cabinet is thoroughly chilled before food is put in.

- After it is fully cooled, test the temperature and adjust towards 1 to make it less cool or towards 7 to make it cooler, as needed. The 4 setting should be appropriate for home or office refrigerator use.

- To turn off your refrigerator, set the thermostat to 0.
Notes:
- Turning the thermostat to 0 stops the cooling cycle but doesn’t shut off the power to your refrigerator.
- If your refrigerator is unplugged or loses power, you must wait three to five minutes before restarting it. If you try restart before this time delay, your refrigerator won’t start.
- Large amounts of food lower the cooling efficiency of your refrigerator.
- When changing the thermostat setting, adjust it one increment at a time. Wait several hours for temperature to stabilize between adjustments.
Maintaining your refrigerator
Your refrigerator is designed for year-round use with only minimal cleaning and maintenance. When you first receive it, wipe the case with a mild detergent and warm water, then wipe dry with a dry cloth. Do this periodically to keep your refrigerator looking new.
CAUTION: To prevent damage to the finish, don’t use:
- Gasoline, benzine, thinner, or other similar solvents.
- Abrasive cleaners.
Cleaning the interior of your refrigerator:
- Turn off your refrigerator and disconnect the power by removing the refrigerator circuit fuse or turning off circuit breaker in the DC voltage distribution panel.
- Remove all food.
- Wash the inside with a damp warm cloth soaked in a solution of one quart of lukewarm water to two tablespoons of baking soda solution.
- Make sure that you keep the door gasket (seal) clean to keep your refrigerator running efficiently.
- Dry the interior and exterior with a soft cloth.
Shutting down your refrigerator
- Turn off your refrigerator and disconnect the power by removing the refrigerator circuit fuse or turning off circuit breaker in the DC voltage distribution panel.
- Remove all food.
- Clean your refrigerator.
- Leave the door open slightly to avoid possible formation of condensation, meld, or door.
CAUTION: Use extreme caution with children. Your refrigerator shouldn’t be accessible to child’s play.
Moving Your Refrigerator
- Turn off your refrigerator and disconnect the power by removing the refrigerator circuit fuse or turning off circuit breaker in the DC voltage distribution panel.
- Remove all food.
- Securely tape down all loose items inside your refrigerator.
- Tape the doors shut.
- Make sure that your refrigerator stays in the upright position during transportation.
Tips on saving energy
- Let hot foods cool before placing them in your refrigerator. Overloading your refrigerator forces the compressor to run longer. Foods that freeze too slowly may lose quality or spoil.
- Wrap foods correctly and wipe containers dry before placing them in your refrigerator. This cuts down on frost build-up inside your refrigerator.
- Organize and label food to reduce door openings and extended searches.
Troubleshooting
CAUTION: Don’t try to repair your refrigerator yourself. Doing so invalidates the warranty.


Specifications

ONE-YEAR LIMITED WARRANTY INSIGNIA
Definitions:
The Distributor* of Insignia branded products warrants to you, the original purchaser of this new Insignia-branded product (“Product”), that the Product shall be free of defects in the original manufacturer of the material or workmanship for a period of one (1) year from the date of your purchase of the Product (“Warranty Period”). For this warranty to apply, your Product must be purchased in the United States or Canada from a Best Buy branded retail store or online at www.bestbuy.com or www.bestbuy.ca and is packaged with this warranty statement.
How long does the coverage last?
The Warranty Period lasts for 1 year (365 days) from the date you purchased the Product. Your purchase date is printed on the receipt you received with the Product.
What does this warranty cover?
During the Warranty Period, if the original manufacture of the material or workmanship of the Product is determined to be defective by an authorized Insignia repair centre or store personnel, Insignia will (at its sole option): (1) repair the Product with new or rebuilt parts; or (2) replace the Product at no charge with new or rebuilt comparable products or parts. Products and parts replaced under this warranty become the property of Insignia and are not returned to you. If service of Products or parts are required after the Warranty Period expires, you must pay all labour and parts charges. This warranty lasts as long as you own your Insignia Product during the Warranty Period. Warranty coverage terminates if you sell or otherwise transfer the Product.
How to obtain warranty service?
If you purchased the Product at a Best Buy retail store location or from a Best Buy online website (www.bestbuy.com or www.bestbuy.ca), please take your original receipt and the Product to any Best Buy store. Make sure that you place the Product in its original packaging or packaging that provides the same amount of protection as the original packaging. To obtain warranty service, in the United States and Canada call 1-877-467-4289. Call agents may diagnose and correct the issue over the phone.
Where is the warranty valid?
This warranty is valid only in the United States and Canada at Best Buy branded retail stores or websites to the original purchaser of the product in the country where the original purchase was made.
What does the warranty not cover?
This warranty does not cover:
- Food loss/spoilage due to failure of refrigerator or freezer
- Customer instruction/education
- Installation
- Set up adjustments
- Cosmetic damage
- Damage due to weather, lightning, and other acts of God, such as power surges
- Accidental damage
- Misuse
- Abuse
- Negligence
- Commercial purposes/use, including but not limited to use in a place of business or in communal areas of a multiple dwelling condominium or apartment complex, or otherwise used in a place of other than a private home.
- Modification of any part of the Product, including the antenna
- Display panel damaged by static (non-moving) images applied for lengthy periods (burn-in).
- Damage due to incorrect operation or maintenance · Connection to an incorrect voltage or power supply
- Attempted repair by any person not authorized by Insignia to service the Product
- Products sold “as is” or “with all faults”
- Consumables, including but not limited to batteries (i.e. AA, AAA, C etc.)
- Products where the factory applied serial number has been altered or removed
- Loss or Theft of this product or any part of the product
- Display panels containing up to three (3) pixel failures (dots that are dark or incorrectly illuminated) grouped in an area smaller than one tenth (1/10) of the display size or up to five (5) pixel failures throughout the display. (Pixel based displays may contain a limited number of pixels that may not function normally.)
- Failures or Damage caused by any contact including but not limited to liquids, gels or pastes. REPAIR REPLACEMENT AS PROVIDED UNDER THIS WARRANTY IS YOUR EXCLUSIVE REMEDY FOR BREACH OF WARRANTY. INSIGNIA SHALL NOT BE LIABLE FOR ANY INCIDENTAL OR CONSEQUENTIAL DAMAGES FOR THE BREACH OF ANY EXPRESS OR IMPLIED WARRANTY ON THIS PRODUCT, INCLUDING, BUT NOT LIMITED TO, LOST DATA, LOSS OF USE OF YOUR PRODUCT, LOST BUSINESS OR LOST PROFITS. INSIGNIA PRODUCTS MAKES NO OTHER EXPRESS WARRANTIES WITH RESPECT TO THE PRODUCT, ALL EXPRESS AND IMPLIED WARRANTIES FOR THE PRODUCT, INCLUDING, BUT NOT LIMITED TO, ANY IMPLIED WARRANTIES OF AND CONDITIONS OF MERCHANTABILITY AND FITNESS FOR A PARTICULAR PURPOSE, ARE LIMITED IN DURATION TO THE WARRANTY PERIOD SET FORTH ABOVE AND NO WARRANTIES, WHETHER EXPRESS OR IMPLIED, WILL APPLY AFTER THE WARRANTY PERIOD. SOME STATES, PROVINCES AND JURISDICTIONS DO NOT ALLOW LIMITATIONS ON HOW LONG AN IMPLIED WARRANTY LASTS, SO THE ABOVE LIMITATION MAY NOT APPLY TO YOU. THIS WARRANTY GIVES YOU SPECIFIC LEGAL RIGHTS, AND YOU MAY ALSO HAVE OTHER RIGHTS, WHICH VARY FROM STATE TO STATE OR PROVINCE TO PROVINCE.
Contact Insignia:
For customer service please call 1-877-467-4289
www.insigniaproducts.com
INSIGNIA is a trademark of Best Buy and its affiliated companies.
Distributed by Best Buy Purchasing, LLC
7601 Penn Ave South, Richfield, MN 55423 U.S.A. ©2020 Best Buy. All rights reserved.
![]()
www.insigniaproducts.com
1-877-467-4289 (U.S. and Canada) or 01-800-926-3000 (Mexico)
INSIGNIA is a trademark of Best Buy and its affiliated companies. Distributed by Best Buy Purchasing, LLC 7601 Penn Ave South, Richfield, MN 55423 U.S.A. ©2020 Best Buy. All rights reserved.
V2 ENGLISH 20-0425





























