KFi PRODUCTS 106326 SQ Push Tube 6 Inch Leveling Kit

Product Information
The SQ Push Tube 6 Leveling Kit is a plow accessory that helps in leveling the push tube. The kit comes with a leveling ear, gusset plate, push tube extension spacer, 3/4 – 10 X 15 Threaded Rod, and a hardware kit (HK-397). The hardware kit includes a 3/8-16 x 1.25 Hex Bolt Flange, 3/8-16 Hex Flange Nylock Nut, 3/4 Hex Nut, 3/4 Flat Washer, 3/4 Lock Washer, 5/16-18 X 1.00 Hex Bolt, and 5/16-18 Hex Flange Nylock Nut.
Product Usage Instructions
- Make sure all hardware needed to complete the mount is in the package.
- If pin attachment brackets have not yet been installed, skip to step 2.
- Remove the existing pin attachment brackets and hardware as shown in Figure 1. Note: Hardware will be reused in a later step.
- Assemble leveling ear, gusset plate, and spacer in place of pin attachment brackets removed in step 1. Secure using hardware reused from step 1, bolts, and nuts as shown in Figure 2. NOTE: gusset plate will be assembled on the inside of the tube.
- Assemble nuts and lock washers onto the threaded rod as shown in Figure 3.
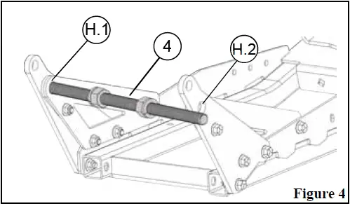
- Slide one end of the threaded rod into hole (H.1) at an angle as shown in Figure 4. Take the other end of the rod and slide it into hole (H.2).
- Assemble nuts, lock washer, and flat washer to end of a threaded rod as shown in Figure 5.
- Tighten inner nuts and lock washers outward against gusset plate shown in Figure 5.
- Adjust the leveling tab distance to 11-5/8 inside to inside by tightening or loosening nuts on the threaded rod as shown in Figure 6.
- Tighten all hardware evenly.
PART DESCRIPTION

| Item # | Qty. | Description |
| 1 | 2 | 6” Push Tube Leveling Ear |
| 2 | 2 | 6” Gusset Plate |
| 3 | 2 | Push Tube Extension Spacer |
| 4 | 1 | 3/4” – 10 X 15” Threaded Rod |
| 5 | 1 | Hardware Kit (HK-397) |
| 5.1 | 2 | 3/8”-16 x 1.25 Hex Bolt Flange |
| 5.2 | 2 | 3/8”-16 Hex Flange Nylock Nut |
| 5.3 | 4 | 3/4” Hex Nut |
| 5.4 | 2 | 3/4” Flat Washer |
| 5.5 | 4 | 3/4” Lock Washer |
| 5.6 | 2 | 5/16”-18 X 1.00 Hex Bolt |
| 5.7 | 2 | 5/16”-18 Hex Flange Nylock Nut |
INSTALLATION INSTRUCTIONS
- Note: Make sure all hardware needed to complete this mount is in the package. Thoroughly read through and understand the instructions before installing.
- Note: If pin attachment brackets have not yet been installed, skip to step 2.
- Remove the existing pin attachment brackets (C) and hardware (A and B) as shown in Figure 1. Note: Hardware will be reused in a later step.

- Assemble leveling ear (1) gusset (2) and spacer (3) in place of pin attachment brackets removed in step 1. Secure using hardware (A&B) reused from step 1, bolts (5.1, 5.6) and nuts (5.2, 5.7) as shown in Figure 2. NOTE: gusset (2) will be assembled on the inside of the tube.

- Assemble nuts (5.3) and lock washers (5.5) onto the threaded rod (4) as shown in Figure 3

- Slide one end of threaded rod (4) into hole (H.1) at an angle as shown in Figure 4. Take the other end of the rod and slide it into hole (H.2).

- Assemble nuts (5.3) lock washer (5.5) and flat washer (5.4) to end of threaded rod as shown in Figure 5
- Tighten inner nuts (5.3) and lock washers (5.5) outward against gusset (2) shown in Figure 5

- Adjust the leveling tab distance to 11-5/8” inside to inside by tightening or loosening nuts (5.3) on the threaded rod (4) as shown in Figure 6

- Tighten all hardware evenly.
©2022 Copyright Kappers Fabricating, Inc. All rights reserved.






















