
102000 Rear Double Tube Bumper
Instruction Manual
102000 Rear Double Tube Bumper

Rear Double Tube Bumper
PART #102000
| Item # | Qty. | Description |
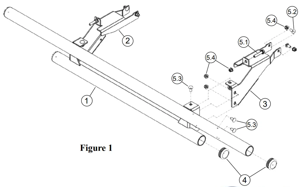
| 1 | 1 | Rear Bumper |
| 2 | 1 | Bumper Bracket (driver side) |
| 3 | 1 | Bumper Bracket (passenger side) |
| 4 | 4 | Bumper Tube Cap |
| 5 | 1 | Hardware Kit (HK-412) |
| 5.1 | 2 | 5/16”-18 x 1.75 Hex Flange Bolt |
| 5.2 | 4 | 5/16”-18 x .75 Carriage Bolt |
| 5.3 | 6 | 5/16”-18 x .75 Carriage Bolt (black) |
| 5.4 | 12 | 5/16”-18 Hex Flange Niblock Nut |
![]()
INSTALLATION INSTRUCTIONS
Note: Make sure all hardware needed to complete this mount is in the package. Thoroughly read through and understand the instructions before installing.
- Assemble bumper tube caps (4) as shown in Figure 1.

- Remove plastic wire clip (A) on drivers side bed frame hinge shown in Figure 2.
- Using an 11/32” drill bit, drill holes (B) on both driver and passenger side bed frame hinges shown in Figure 2.

- Set bumper brackets (2 & 3) inside of the bed frame hinges and fasten to the hinge using bolts (5.2) and nuts (5.4) as shown in Figure 4.
- Swing brackets (2&3) into position and install to bed frame using bolts (5.1) and nuts (5.3) as shown in Figure 4.
NOTE: It may be easier to remove tailgate before installing bolts. - Reinstall plastic wire clip (A) removed in step 2.
- Set rear bumper (1) onto bumper brackets (2 & 3) and secure using bolts (5.3) and nuts (5.4) as shown in Figure 5.

- Tighten all hardware evenly.
©2022 Copyright Kippers Fabricating, Inc.
All rights reserved
















