17 A
User Manual
INTRODUCTION
1-1 Unpacking and Inspection
Upon removing your new Digital Multimeter from its packing, you should have the following items:
- Digital Multimeter.
- Test lead (one black).
- Test probe set.
- Instruction manual.
- Test Clip (black)
- Carrying case.
1-2 Meter Safety
Terms as Marked on Equipment
ATTENTION — Refer to manual.
DOUBLE INSULATION — Protection Class II
DANGER — Risk of electric shock
Symbols in This Manual
This symbol indicates where cautionary or other information is found in the manual.
Battery
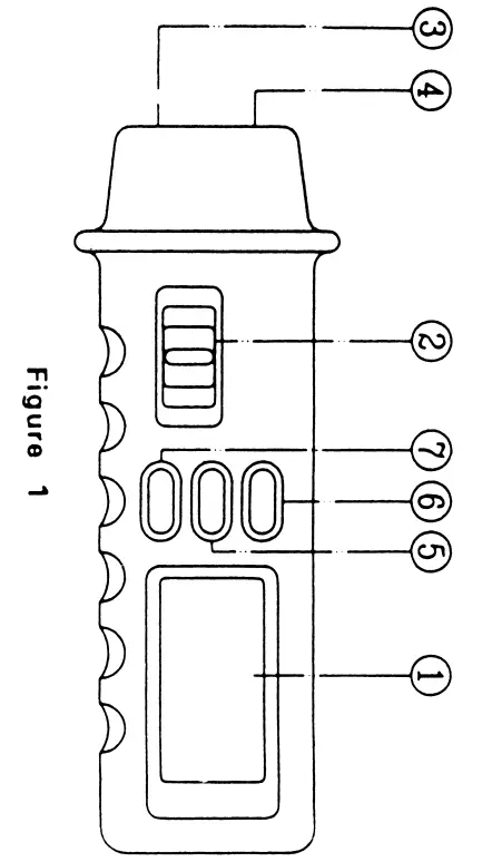
1-3 Front Panel
Refer to Figure 1 and to the following numbered steps to familiarize yourself with the meter’s front panel controls and connectors.
- Digital Display – The digital display has 4200 counts LCD readout with auto polarity, decimal point ”
” AC 、 DC 、 RANGE, HOLD 、 REL 、
M Ω or K Ω or Ω and Unit annunciators. - Function Switch – Select the Function and Range desired.
- COM Input Terminal – Ground input connector.
- V—Ω Input Terminal – Positive input connector for Volts, Ohms and Diode.
- Range Switch (Manual Range) – ”
RANGE ” switch is pushed to select manual ranging and to change ranges. When ”
RANGE ” switch is pushed once, ” RANGE ” annunciator on the LCD is appeared. Push ”
RANGE ” switch to select appropriate range to be used. Push ” RANGE ” switch and hold 2 seconds to return to Autorunning.
、
、ADP and Ω Selection Switch
In
、
、ADP mode — Push the blue switch alternately to measure AC voltage or DC Voltage. Push the blue switch 2 seconds this switch will work in ADP mode, then push the blue key alternately to select ADP functions of clamp AC current ; CLAMP annunciator display on, and temperature of °C and °F ; TEMP annunciator display on, and relative humidity ; RH annunciator display on, and capacitance ; CX annunciator display on, and carbon monoxide concentration; CO annunciator display on, and anemometry ; ANEMO annunciator display on, and light lux; LIGHT annunciator display on. Push the blue switch 2 seconds to return back to
and
voltage function.
In Ω
mode — Push the blue switch altenately to measure resistance or continuity or diode.- H/
Switch – This switch has two modes one is data hold the other is relative. This switch default works in data hold mode. Pressing the / Switch 2 seconds this switch will work in relative mode. Data hold mode – This mode is used to hold measured value for all functions, push this switch then HOLD annunciator is displayed, Conversions are made but the display is not updated.
Relative mode – In the relative mode, the value shown on the LCD is always the difference between the stored reference value and the present reading. For example, if the reference value is 0.04 ohm and the present reading is 15.05 ohm, the display will indicate 15.01 ohm.
SPECIFICATIONS
2-1 General Specifications
This instrument has been designed in accordance with UL 3111 and IEC publication 1010 Pt 1, Class II, Safety Requirements for Electrical Equipment for measurement, Control and laboratory use. This level of safety can only be guaranteed while the lilts of 2.2 are observed.
Display : The Liquid crystal Display (LCD) with a maximum reading of 4200.
Polarity Indication :
Automatic, positive implied, negative indicated.
Overage Indication : ” OL ” or “-OL”.
Low Battery Indication : “
” is displayed when the battery voltage drops below operating Voltage.
Sampling : 2 times / sec.
Auto Power Off : Approx. 30 minutes.
2-2 Environmental Conditions Indoor use.
Maximum Altitude : 2000 meter.
Installation Category : IEC 1010, 600V Cat II. 300V Cat III .
Pollution Degree : 2
Operating Ambient : 0°C to 50°C, 0 to 80% R.H.
Storage Temperature : -20°C to 60°C, 0 to 80% R.H. when battery removed from meter .
Temperature Coefficient : 0.15 x (Spec. Acc’y) / °C, < 18°C or > 28°C.
Power Requirements : IEC LR03, AM4 or AAA size 1.5Vx2.
Battery Life : Alkaline 800 hours.
Dimensions (Wx H x D): 42mm x 145mm x24mm
Accessories : Battery and instruction manual.
2-3 Electrical Specifications
Accuracy is + (%reading + number of digits) at 23°C + 5°C, less than 80% R.H.
DC Volts
| Range | Resolution | Accuracy | Over voltage protection |
| 4.2V | 1mV | 600V DC or 600V rms | |
| 42V | 10mV | ±(0.5`)/0 | |
| 420V | 100mV | + 2dgt) | |
| 600V | 1V |
Input Impedance: ≥9M Ω
AC Volts
| Range | Resolution | Accuracy | Over voltageprotection |
| 4.2V | 1mV | ± + 1.5%r5dgt)*dg ( | |
| 42V | 10mV | 600V DC or 600V rms | |
| 420V | 100mV | ± (1.5%rdg + 5dgt) 40Hz to 500Hz | |
| 600V | 1V |
* Frequency Response :
40Hz ~ 300Hz for 4.2V Range.
Input Impedance : 9M Ω // less than 100pF.
The reading will be a little rolling approximately 2 ~ 5 counts over 200V.
ADP
| Function | Range | Resolution | Scale |
| CLAMP (AC)HEAD | 420.0A | 0.1 A | 1mV/0.1A |
| 600A | 1 A | 1mV/0.1A | |
| TAMP HEAD | 420.0°C | 0.1°C | 1mV/°C |
| 420.0°F | 0.1°F | 1mV/°F | |
| 4200°C | 1°C | 1mV/°C | |
| 4200°F | 1°F | 1mV/°F | |
| RH HEAD | 100.% | 0.1% | 1M V/ % |
| Function | Accuracy | Over voltageprotection |
| CLAMP (AC)HEAD | ± (1.5%rdg + 5dgt) 40Hz to 300Hz | 600V DC or |
| TAMP HEAD , | ± %rdg + 2dgt) | 600 V rms |
| RH HEAD | (0.5 |
| Function | Range | Resolution | Scale |
| pA HEAD | 420.0 pA | 0.1 pA | 1mV/pA |
| 4200 pA | 1 pA | ||
| CAP HEAD | 420.0 pF | 0.1 pF | 1mV/pF |
| 4200 pF | 1 pF | ||
| ANEMO HEAD | 420.0 m/s | 0.1m/s | 1mV/S |
| CO HEAD | 4200 ppm | 1 ppm | 1 mV/ppm |
| LIGHT HEAD | 4.200 KLux | 1 Lux | 0.1 mV/Lux |
| 42.00 KLux | 10 Lux |
| Function | Accuracy | Over voltage protection |
| pA HEAD | 600V DC or 600 V rms | |
| CAP HEAD | ||
| ANEMO HEAD | ± (0.5%rdg + 2dgt) | |
| CO HEAD | ||
| LIGHT HEAD |
Resistance
| Range | Resolution | Accuracy | Over voltage protection |
| 4200 | 0.1 Ω | ±(1.2%rdg + 8ddt) *1 *4 | |
| 4.2 K0 | 1Ω | ±(0.9%rdg + 4dgt) *2 | 600V DC or |
| 42 KO | 10Ω | ||
| 420 KO | 100Ω | ± (1.2%rdg 600V rms | |
| 4.2 MO | 1KΩ | + 4dgt) *2 | |
| 42 MO | 10KΩ | ±±1d3:?crid?3 | _ |
Open circuit Voltage : Below 1.3V.
- The reading maybe rolling ≤ 8digits when the reading is close to full scale.
- The reading maybe rolling ≤ 4digits when the reading is close to full scale.
- The response time is approximate 20 seconds.
- Open circuit voltage approximate battery voltage.
Diode Check and Continuity
| Range | Resolution | Accuracy | Max. Test Current | Max. Open Circuit Voltage |
| 1 mV | ±(1.5%rdg + Sdgt)* | 1.5 mA | 3.3V |
* For 0.4V ~ 0.8V.
Overload Protection : 600V DC/AC rms max.
Continuity : Built-in buzzer sound when resistance is less approximately than 50Ω.
Auto Power Off
The meter will automatically shut itself off after approximately 30 minutes after power on.
The meter can be turned back on by pushing any key switch.
OPERATION
This instrument has been designed and tested in accordance with IEC Publication 1010, Safety Requirements for Electronic
Measuring Apparatus, and has been supplied in a safe condition. This instruction manual contains some information and warning which have to be followed by the user to ensure safe operation and to retain the instrument in safe condition.
3-1 Preparation and Caution before Measurement.
- Before measurement, warm up for at least 60 seconds.
- When the function switch selector is changed during measurement, be sure do so only after removing the test leads from the equipment.
- If the equipment is used near noise generating equipment, be aware that display may become unstable or indicate large errors.
Maximum rated voltage to earth for voltage measurements terminals is 600V AC/DC CAT. II.
3-2 Voltage Measurements
- Connect the red test probe to the “V-S ” input terminal and the other (black) test lead to the ” COM “, terminal.
- Set the function switch to
、
position. - Push the blue key to the ACV or DCV function.
- Connect the test probe and lead to the device to be measured.
WARNING
TO AVOID ELECTRICAL SHOCK, HAZARD OR DAMAGE TO METER, DO NOT ATTEMPT TO MEASURE VOLTAGE THAT MIGHT EXCEED 600 VOLT DC OR 600 VOLT AC. DO NOT APPLY MORE THAN 600 DC OR AC RMS BETWEEN THE COMMON INPUT TERMINAL AND EARTH GROUND.
NOTICE
UNSTABLE DISPLAY MAY OCCUR ESPECIALLY AT 4.2V RANGE, EVEN THOUGH YOU DON’T PUT TESTED LEADS INTO INPUT TERMINALS. IN THIS CASE, IF AN ERRONEOUS READING IS SUSPECTED, SHORT THE ” V-Ω ” TERMINAL AND THE ” COM ” TERMINAL, AND MAKE SURE THE ZERO DISPLAY.
3-3 Adaptor (Transducer) measurements
- Set the function switch to
、
position and push blue key 2 seconds to enter the transducer function measurements. Push blue key to select approximate function with the adaptor head. - Connect the adaptor head with the DMM.
- Use the adaptor to measire the unknown quantity.
3-4 Resistance Measurement
- Connect the red test probe to the V-Ω terminal and the other (black) test lead to the ” COM “, terminal.
- Set the function switch to Ω
position and push the blue key to select resistance function. - For correct reading, ensure that the device being tested contains no voltage.
- Connect the test leads across the resistor to be measured. In order to ensure the best accuracy in measurement of low resistance, short the test leads before measurement and memory the test probe resistance in mind. This necessary to subtract for the resistance of the test leads themselves
3-5 Continuity Check by Buzzer
- Connect the red test probe to the ” V-Ω ” terminal and the other black test lead to the ” COM ” terminal.
- Set the function switch to ” Ω ”
position and push the blue key to select continuity function. - Connect the test probe and lead to the circuit to be measured. The buzzer will sound if the resistance of the circuit measured is lower than 50Ω.
3-6 Diode Check
- Set the function switch at ” Ω “
position, and push the blue key to select diode function. - Connect black test lead to ” COM ” terminal and red probe to ” COM “,terminal and red probe to ” V- Ω ” input terminal.
- Connect test probe and lead to the diode normally the forward voltage drop of good silicon diode is shown between. 400V to 900V If the diode under test is defective, ” 000 ” (short circuit) or ” OL ” (non conductance) is displayed. Reverse check of diode if the diode under test is defective ” 000″ or other value are to be displayed.
MAINTENANCE REPLACEMENT
WARNING
TO REDUCE RISK OF ELECTRIC SHOCK DISCONNECT TEST LEADS BEFORE OPENING CASE.
- Test lead Assembly : Part No. TL Max 1KV.
- Test probe : Part No. TP Max 1KV.
- Alligator Clip with insulating boot : Part No. TC Max 1KV.
- Battery Replacement:
The meter is powered by two 1.5V battery.
Refer to Figure 2 and use the following procedure to replace the battery.
- Disconnect the test leads and turn the meter off. Remove the test probe and lead from the input terminals.
- Position the meter face down. Remove the screw from the bottom case.
- Lift the end of the bottom case unit it gently unsnaps from the top case at the end nearest the input terminal.
- Lift the battery from the battery box.
- Reinset the new battery into the battery box.
- Replace the top case and bottom case.
Reinstall the screw.
4-2 General Maintenance
- Repairs or servicing not covered in this manual should only be performed by qualified personal.
- Periodically wipe the case with a dry cloth and detergent do not use abrasives or solvents

Limited Warranty
This meter is warranted to the original purchaser against defects in material and workmanship for 3 years from the date of purchase. During this warranty period,
Manufacturer will, at its option, replace or repair the defective unit, subject to verification of the defect or malfunction.
This warranty does not cover fuses, disposable batteries, or damage from abuse, neglect, accident, unauthorized repair, alteration, contamination, or abnormal conditions of operation or handling.
Any implied warranties arising out of the sale of this product, including but not limited to implied warranties of merchantability and fitness for a particular purpose, are limited to the above. The manufacturer shall not be liable for loss of use of the instrument or other incidental or consequential damages, expenses, or economic loss, or for any claim or claims for such damage, expense or economic loss. Some states or countries laws vary, so the above limitations or exclusions may not apply to you.
www.appatech.com
APAC
MGL APPA Corporation
[email protected]
Flat 4-1, 4/F, No. 35,
Section 3 Minquan East Road,
Taipei, Taiwan
Tel: +886 2-2508-0877
700020069 JULY 2021 V1
©2021 MGL International Group Limited. All rights reserved. Specifications are subject to change without notification.


















