B-TECH BT8325 System 2 Adaptor Installation Guide
Parts

| ITEM | DESCRIPTION | Qry |
| 1 | SUPPORT BAR | 1 |
| 2 | ADAPTOR TUBE | 1 |
| 3 | M8 x 6mm GRUB SCREW | 8 |
| 4 | M8 x 60mm SCREW | 1 |
| 5 | M10 x 35mm SCREW | 1 |
| 6 | MI0WASHER | 1 |
| 7 | MIONYLOCNUT | 1 |
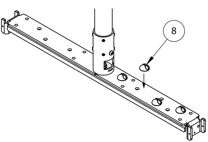
| 8 | CABLECLIP | 4 |
| 9 | 4AFHEXKEY | 1 |
| 10 | SAFHEXKEY | 1 |
| 11 | 6AF HEX KEY | 1 |
INSTALLATION SAFETY INSTRUCTIONS
CAUTION * This product is intended for use only with the maximum weights indicated. Use with equipment heavier than the maximum indicated may result in instability causing possible injury.
B-Tech AV Mounts, t’s distributors and dealers are not responsible for damage or injury caused by improper installation, improper use, modifications, installations over the specified weight capacity and/or failure to observe these safety instructions. In such cases, any warranty will expire. Itis recommended that this product should only be installed by a qualified professional / installer. B-Tech AV Mounts does not claim any liability for any difficulties that may arise from the interpretation contained iin these instructions. Failure to mount this product correctly may lead to serious injury and/or death. Please check carefully to make sure there are no missing or defective parts – defective parts must never be used. In the event of missing and/or defective parts, or technical questions, please contact an authorised dealer. Pay careful attention to where this product s located, some locations are not suitable for installation. Check load capacity of the ceiling prior to installation to ensure that it can support the combined weight of the equipment and hardware, some surfaces are not suitable for installation. For indoor use only. Itis recommended that periodic inspections of the product are made as frequently as possible to ensure that safety is maintained. Please keep these instructions for future reference.
INSTALLATION INSTRUCTIONS
ATTACH SUPPORT BAR TO THE BT8325 CEILING FIXING BAR
Fix items 1 &2 to the BT8325 ceiling fixing bar using items 5, 6 & 7.
ATTACH ADAPTORTO A SYSTEM 2 POLE
- i. Fixitem 2 to a @50mm pole and secure 817850 POLE in place using item 4.
- Tighten item 3 on item 2 using item 9.

CABLE MANAGEMENT
Stick item 8 on to the ceiling fixing plate.
FINISH INSTALLATION
- Install to a ceiling mount using the appropriate System 2 installation guides.
- Follow the BT8325 instructions to complete the screen installation.

DIMENSIONS
TYPICAL INSTALLATION

CONTACT:
[email protected]
2023 8Tech International Design & Manufacturing Ld. Alights served Breech AV Mounts s admission of- echo International Design & Manufacturing Ld. B-Tech AV Mounts & the B-Techno guar registered trade marks, All other rends and product names trademark heir respective owners Photographs are for illustrative purposes only. E&OE.
AMA-BT8327-V1-0223-44 MADE IN THE PRC.























