PANDO PCP9600 Plate Warmer

![]() | Quality Management System UNE-EN ISO 9001:2015 ES19/86566 |
Dear Customer,
Thank you for choosing this PANDO product.
We ask you to read the instructions in this booklet very carefully as this will allow you to get the best results from using it.
KEEP THE DOCUMENTATION OF THIS PRODUCT FOR FUTURE REFERENCE.
Always keep the instruction manual handy. If you lend this appliance to someone else give them the manual as well!
The user manual is also available for download at: www.pando.es
Safety Information
Carefully read the instructions before installing and using the equipment. The manufacturer is not liable for improper installation and use of the equipment that may cause injuries and damage. Always keep the instructions at hand, so they can be easily referred to during use. This appliance complies with current safety standards. Improper use of the appliance may put the user at risk. Safety of children and vulnerable adults
WARNING! Risk of suffocation, injury or permanent disability.
- This appliance can be used by children aged from 8 years and above and persons with reduced physical, sensory or mental capabilities or lack of experience and knowledge if they are supervised by an adult or a person who is responsible for their safety.
- Children should be supervised to ensure that they do not play with the appliance.
- Keep all packaging away from children.
- WARNING: The appliance and its accessible parts become hot during use. Care should be taken to avoid touching heating elements. Children less than 8 years of age shall be kept away unless continuously supervised.
- Cleaning and user maintenance shall not be made by children without supervision.
General safety
- This appliance is intended to be used in household applications and not in hotels, shops, offices and other similar environments.
- Internally the appliance becomes hot when in operation. Do not touch the heating elements that are in the appliance. Always use oven gloves to remove or put in accessories or ovenware.
- Do not sit or hang on the drawer. The telescopic runners will be damaged. The maximum load capacity of the drawer is 25 kg.
- Do not store synthetic containers or easily inflammable objects inside the crockery warmer. When you switch on the appliance such containers and objects may melt or catch fire. Fire danger!
- Do not use the appliance to heat up the air temperature in the kitchen. The high temperatures reached may cause easily inflammable objects close to the appliance to catch fire.
Installation
- The electrical installation is to be set up so that the appliance can be isolated from the mains with a minimum 3mm all-pole contact separation. Suitable separation devices include e.g. cutouts, RCD’s and contactors. This installation must comply with current regulations.
- If the electrical connection is done through a plug and this remains accessible after installation, then it is not necessary to provide the mentioned separation device.
- The installation must comply with current regulations. Protection against electric shock must be provided by the electrical installation.
- WARNING! The appliance must be earthed.
- WARNING! The appliance is intended to be built in. Please refer to the last pages of this user manual for detailed information on the installation dimensions.
Cleaning and Maintenance
- WARNING! Cut the power supply before cleaning and maintenance.
- Failure to maintain the appliance in a clean condition could lead to deterioration of the surface that could adversely affect the life of
the appliance and possibly result in a hazardous situation. - Do not use harsh abrasive cleaners or sharp metal scrapers to clean the glass door since they can scratch the surface, which may result in shattering of the glass.
- Do not use a steam cleaner to clean the appliance.
- Please follow the instructions regarding cleaning in the section “Cleaning and Maintenance”.
Service and Repair
- WARNING! Cut the power supply before repair
- If the power cable is damaged it should be substituted by the manufacturer, authorized agents or technicians qualified for this task in order to avoid dangerous situations.
- Repair and maintenance work, especially of current carrying parts, can only be carried out by technicians authorized by the manufacturer.
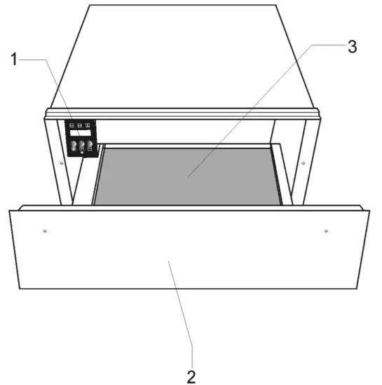
Appliance Description
Main Components

- Control panel
- Handle
- Anti-slip mat
How the warming drawer works
This appliance is equipped with a warm air circulation system. A fan distributes the heat generated by an electrical heating element throughout the interior of the appliance.
The thermostat allows the user to define and control the temperature wanted for the crockery.
The circulating hot air that is generated heats up the crockery quickly and evenly. A metal grille protects both the heating element and the fan. The base of the drawer is fitted with a non-slip mat to prevent plates and dishes sliding around when the drawer is opened and closed.
Use
Before using for the first time
Before using the appliance for the first time you should clean the interior and the exterior, following the cleaning instructions given in the section “Cleaning and Maintenance”.
Then heat the warming drawer for at least 2 hours. For this, set the temperature to the maximum position.
Make sure the kitchen is well-ventilated when you are doing this. The appliance’s parts are protected by a special product. For this reason, during the first heating an odour will be released. Both the odour and any smoke that may form will disappear after a short time and neither signifies that there is anything wrong with the connection or the appliance.
Control Panel

- Timer indicator light
- Temperature indicator light
- Delayed Start indicator light
- Display
- Function / ON/OFF key
- “-” (decrease)
- “+” (increase) key0
Operating settings
Stand-by mode
In this mode the whole system is disconnected and no indicator light or display is lit.
Normal Operation
In this mode the system is generating heat. The display shows the remaining operating time and the set temperature alternating each 2 seconds. The Timer and Temperature indicator lights lightup alternating each 2 seconds and coordinated with the display indication. The Operation indicator light is illuminated continuously until the Timer reaches zero.
To program the normal operation, proceed as follows:
- Press the “
” key once or several times until the Timer indicator light is flashing. - Press the “+” or “-” keys to set the desired operation time in the range 0h00 4h00.
- Press the “
” key to validate. The Temperature indicator light starts to flash. - Press the “+” or “-” keys to set the desired temperature in the range 30 80ºC.
- Press the “
” key for 3 seconds or wait 5 seconds. - The Warming Drawer starts to operate with the set parameters.
Delayed Start
In this mode the Display shows the remaining time for the operation to start and counting-down. The Operation indicator light will blink and the Delayed Start indicator is illuminated. To set a delayed start, proceed as follows:
- Program the normal operation parameters as in points 1) to 4) of the previous section.
- Press the “
” key to validate. The Delayed Start indicator light starts to flash. - Press the “+” or “-” keys to set the desired start delay in the range 0h00 9h50. 4. Press the “
” key for 3 seconds. - The Warming Drawer enters the Delayed Start mode.
- When the delay has elapsed the Warming Drawer starts to operate with the set parameters.
Cancel Operation
The programming can be cancelled at any time by pressing the “
” key for 3 seconds.
The operation or the delayed start can be cancelled (for example, because a guest arrived earlier or the crockery seems warm enough) by pressing the “
” key for 3 seconds.
Heating times
Various factors affect heating times:
- Material and thickness of the crockery
- Load quantity
- How the crockery is arranged
- Temperature setting
It is therefore not possible to give any precise heating times.
However, as a guide, the following times are given for the thermostat setting of 60ºC and for uniform heating of the crockery:
| Load | Time (min) |
| Crockery for 6 people | 30 – 35 |
| Crockery for 12 people | 40 – 45 |
As you use the warming drawer more and more you will learn the best settings for your crockery.
Load capacity
Load capacity depends on the size of the crockery items.
PCP9600 |
6 persons servings |
6 x 24cm Dinner Plates |
or |
20 dishes with ∅ 28 cm |
or |
80 espresso coffee cups |
or |
40 tea cups |

Cleaning and Maintenance
Cleaning is the only maintenance action that is required normally.
Warning! Cleaning must be done with the warming drawer disconnected from the electrical power supply. Remove the plug from the power socket or disconnect the warming drawer power supply circuit.
Do not use aggressive or abrasive cleaning products, abrasive sponges or pointed objects since stains or abrasion marks may appear.
Do not use high pressure or steam jet cleaning appliances.
Appliance front and control panel
The warming drawer can be cleaned using just a damp cloth. If it is very dirty, add a few drops of washing-up liquid to the washing water.
Wipe the surfaces dry using a dry cloth.
For stainless steel fronted warming drawers, special products for treatment of stainless steel surfaces can be used. These products prevent the surfaces becoming dirty again for some time. Apply a thin layer of such a product on the surface using a soft cloth.
On aluminium fronted warming drawers use a gentle glass cleaning product and a soft cloth that does not release fluff. Wipe horizontally without pressing on the surface since aluminium is sensitive to scratches and cuts.
Interior of the warming drawer
Clean the inside of the warming drawer regularly using a damp cloth. If it is very dirty add a few drops of washing-up liquid to the washing water.
Wipe the surfaces dry using a dry cloth.
Avoid water entering through the air circulation opening.
Only use the warming drawer again when it is completely dry.
Mat with non-slip surface
The non-slip surface mat can be removed to facilitate cleaning of the drawer.
The mat can be cleaned by hand using hot water with a few drops of washing-up liquid.
Dry thoroughly.
The non-slip mat should only be replaced when it is completely dry.
What should I do if the warming drawer doesn’t work?
WARNING! Any type of repair must only be done by a specialised technician. Any repair done by a person not authorised by the manufacturer is dangerous.
Before contacting Technical Assistance, check on the following:
- The crockery doesn’t heat up enough.
Check whether:
– The appliance has been switched on.
– The appropriate temperature has been selected.
– The air circulation orifices are covered by the crockery.
– The crockery was left to heat up for sufficient time.
Heating time depends on several factors, such as, for example:
– Crockery material type and thickness.
– Quantity of crockery.
– How the crockery is arranged. - The crockery doesn’t heat up at all. Check whether:
– You can hear the noise of a fan.
If the fan is operating then the heating element is broken; if the fan is not operating then the fan is broken.
– The switchboard fuses / circuit breakers have fused / tripped out. - The crockery is heating up too much.
– The temperature selector is broken. - The on/off switch does not light up.
– The switch’s pilot light has blown.
Environmental protection
Disposal of the packaging 
The packaging bears the Green Point mark.
Dispose of all the packaging materials such as cardboard, expanded polystyrene and plastic wrapping in the appropriate bins. In this way you can be sure that the packaging materials will be re-used.
Disposal of equipment no longer used 
According to European Directive 2012/19/EU on the management of waste electrical and electronic equipment (WEEE), home electrical appliances should not be put into the normal systems for disposal of solid urban waste.
Outdated appliances should be collected separately to optimise component material recovery and re-cycling rates and to prevent potential harm to human health and the environment. The symbol of a rubbish container superimposed by a diagonal cross should be put on all such products to remind people of their obligation to have such items collected separately.
Consumers should contact their local authorities or point of sale and request information on the appropriate places to leave their old home electrical appliances.
Before disposing of your appliance, render it nonusable by pulling out the power cable, cutting this and disposing of it.
Installation instructions
Before installation
Check that the input voltage indicated on the characteristics plate is the same as the voltage of the power outlet you are going to use.
Open the drawer and take out all the accessories and remove the packing material.
Attention! The front surface of the warming drawer may be wrapped in a protective film. Before using the warming drawer for the first time, remove this film carefully.
Make sure that the warming drawer is not damaged in any way. Check that the drawer opens and closes correctly. If you find any damage, contact the Technical Assistance Service.
Attention: the power socket should be easily accessible after the warming drawer has been installed.
The warming drawer should only be built-in in combination with those appliances indicated by the manufacturer. If it is fitted in combination with other appliances, the guarantee is no longer valid since it is impossible to guarantee that the warming drawer will work correctly.
Installation
To build-in the warming drawer in combination with another appliance there must be a fixed, interim shelf in the housing unit to support the weight of both appliances.
The appliance to be combined with the warming drawer will be placed directly on the latter without any need to have a separating shelf.
To build-in the appliance which is combined with the warming drawer, follow the instructions set out in the respective instructions and fitting booklet.
The relevant installation dimensions are indicated in mm in the diagrams shown at the end of this booklet. Proceed as follows:
- Place the warming drawer on the shelf and slide it towards the interior of the niche in such a way that it is centred and completely lined up with the front of the unit.
- Check that the warming drawer’s frame is properly levelled and is sitting evenly on the shelf.
- Open the drawer and fix the warming drawer to the sides of the unit using the two screws provided.

Electrical Connection
The warming drawer is equipped with a power cable and plug for single phase current. We advise that the plug is connected to a socket that is easily accessible after installation.
If the warming drawer is to be installed on a permanent basis it should be installed by a qualified technician. In such a case, the appliance should be connected to a circuit with an all-pole circuit breaker with a minimum separation of 3 mm between contacts.
The data necessary for the electrical connection are described on the warming drawer’s characteristics plate and these must be compatible with those of the power outlet you are going to use.
WARNING: THE WARMING DRAWER MUST BE CONNECTED TO EARTH.
The manufacturer and retailers do not accept responsibility for any damage that may be caused to people, animals or property if these installation instructions are not observed.
Warranty
INOXPAN S.L.
TEL. +34 902 41 55 10 / +34 937 579 411
E-MAIL: [email protected]
For technical assistance, under or out of warranty, you can call the number above, or send a fax or e- mail. On-site technical support will only be covered under warranty when there is a fault with the product. The following is not covered under warranty:
- If installation of the appliance was not carried out by an Authorised Professional or Official Pando Technical Support worker who complies with the safety requirements and electrical power regulations.
- Problems caused by improper installation of the appliance, external power supply faults, installation or performance checks, cleaning, shelves, racks, aesthetic elements. In this case, the customer must cover any Technical Service costs.
WARRANTY CERTIFICATEINOXPAN, S.L., provides a three-year warranty from the date of purchase against all manufacturing faults affecting its properfunctioning, as well as damage caused by it. During this period, the Company agrees to replace or repair free of charge any faulty parts due to a manufacturing defect in the appliance until its proper operation, and to cover the cost of the labour and expenses incurred as a result of such repairs or replacements including staff travel expenses. Faults or defects caused by misuse, incorrect maintenance, improper installation, faulty power supply (see manual), defects in transport or intervention of staff not authorised by the company or caused by force majeure, plastics and enamels that have been dented for the aforementioned reasons are outside the scope of this warranty, as are as well as in the event that installation of the appliance was not carried out by an Authorised Professional or Official Pando Technical Support worker who complies with the product installation manual. INOXPAN, S.L. is expressly excluded from liability for any direct or indirect damage caused to people or things by faults or defects caused by improper handling of the appliance. This warranty is valid only when duly completed. It must contain the model, registration no., specialist fitter ID, date of purchase as indicated on the invoice and stamp of the commercial establishment or distributor and be accompanied by the invoice specifying the date of purchase. This warranty does not apply when the appliance is not intended for domestic use, as it has not been designed for this purpose. Anything not expressly covered in this Certificate shall be subject to the provisions of the General Law for the Protection of Consumers and Users, Act 26/84 of 19 July, as well as the Law on Retail Commerce, Act 7/96 of 13 January.
|
INOXPAN S.L.
Pol. Ind. El Cros
Av. El Molí de les Mateves,11
Apdo. Correos nº 21
08310 ARGENTONA
(Barcelona – Spain)
Tel. +34 93 757 94 11
Fax +34 93 757 96 53
www.pando.es
[email protected]
Export:
[email protected]
Tel. 902 41 55 11






















