Acuity Brands I-BEAM XIB IP65 LED High Bay

IMPORTANT SAFETY INSTRUCTIONS
READ AND FOLLOW ALL SAFETY INSTRUCTIONS!
SAVE THESE INSTRUCTIONS AND DELIVER THEM TO THE OWNER AFTER INSTALLATION
- To reduce the risk of death, personal injury, or property damage from fire, electric shock, falling parts, cuts/abrasions, and other hazards please read all warnings and instructions included with and on the fixture box and all fixture labels.
- Before installing, servicing, or performing routine maintenance on this equipment, follow these general precautions.
- Installation and service of luminaires should be performed by a qualified licensed electrician.
- Maintenance of the luminaires should be performed by person(s) familiar with the luminaires’ construction and operation and any hazards involved. Regular fixture maintenance programs are recommended.
- It will occasionally be necessary to clean the outside of the refractor/lens. The frequency of cleaning will depend on ambient dirt level and minimum light output which is acceptable to the user. The refractor/lens should be washed in a solution of warm water and any mild, non-abrasive household detergent, rinsed with clean water, and wiped dry. Should the optical assembly become dirty on the inside, wipe the refractor/lens and clean in the above manner, replacing damaged gaskets as necessary.
- DO NOT INSTALL DAMAGED PRODUCTS! This luminaire has been properly packed so that no parts should have been damaged during transit. Inspect to confirm. Any part damaged or broken during or after assembly should be replaced.
- Recycle: For information on how to recycle LED electronic products, please visit www.epa.gov.
- These instructions do not purport to cover all details or variations in equipment nor to provide every possible contingency to meet in connection with installation, operation, or maintenance. Should further information be desired or should particular problems arise which are not covered sufficiently for the purchaser’s or owner’s purposes, this matter should be referred to Acuity Brands Lighting, Inc.
WARNING
RISK OF ELECTRIC SHOCK
- Disconnect or turn off the power before installation or servicing.
- Verify that the supply voltage is correct by comparing it with the luminaire label information.
- Make all electrical and grounded connections in accordance with the National Electrical Code (NEC) and any applicable local code requirements.
- All wiring connections should be capped with UL-approved recognized wire connectors.
WARNING RISK OF BURN
- Allow lamp/fixture to cool before handling. Do not touch the enclosure or light source.
- Do not exceed the maximum wattage marked on the luminaire label.
- Follow all manufacturer’s warnings, recommendations and restrictions for: driver type, burning position, mounting
locations/methods, replacement and recycling.
CAUTION RISK OF INJURY
- Wear gloves and safety glasses at all times when removing luminaire from carton, installing, servicing or performing maintenance.
- Avoid direct eye exposure to the light source while it is on.
CAUTION RISK OF FIRE
- Keep combustible and other materials that can burn, away from the lamp/lens.
- Do not operate in close proximity to persons, combustible materials or substring
- Acnes are affected by heat or drying.
CAUTION: RISK OF PRODUCT DAMAGE
- Never connect components under load.
- Do not mount or support these fixtures in a manner that can cut the outer jacket or damage wire insulation.
- Controls for dimming, auto-sensing, or remote control of a luminaire that are not factory-wired to the luminaire must be checked for compatibility with the luminaire prior to installation. LED fixtures must be powered directly off a switched circuit.
- Unless individual product specifications deem otherwise: Do not restrict fixture ventilation. Allow for some volume of airspace around the fixture. Avoid covering LED fixtures with insulation, foam, or other material that will prevent convection or conduction cooling.
- Unless individual product specifications deem otherwise: Do not exceed fixtures’ maximum ambient temperature.
- Only use the fixture in its intended location.
- LED products are Polarity Sensitive. Ensure proper Polarity before installation.
- Electrostatic Discharge (ESD): ESD can damage LED fixtures. Personal grounding equipment must be worn during all installation or servicing of the unit.
- Do not touch individual electrical components as this can cause ESD, shorten lamp life, or alter performance.
- Some components inside the fixture may not be serviceable. In the unlikely event, your unit may require service, stop using the unit immediately and contact an ABL representative for assistance.
- Always read the fixture’s complete installation instructions prior to installation for any additional fixture-specific warnings.
- Always ensure that the electrical distribution system is up to NEC (and any applicable local code) requirements.
- Verify that the power distribution system has proper grounding. Lack of proper earth ground can lead to fixture failure and may void the warranty.
FCC STATEMENT
All luminaires that contain electronic devices that generate frequencies above 9kHz from any component within the luminaire comply with Part 15 of the FCC Rules.
Operation is subject to the following two conditions:
- This device may not cause harmful interference
- This device must accept any interference received, including interference that may cause undesired operation
Failure to follow any of these instructions could void product warranties. For a complete listing of product Terms and Conditions, please visit www.acuitybrands.com.
| Our Brands Indoor/Outdoor | Indoor Lighting | Outdoor Lighting | Controls | Daylighting |
| Lithonia Lighting | Gotham | American Electric Lighting | DARK TO LIGHT | SunOptics |
| Carandini | Mark Architectural Lighting | Antique Street Lamps | LC&D | |
| Holophane | Peerless | Hydrel | ROAM | |
| RELOC | Renaissance Lighting | Tersen | Sensor Switch | |
| Light Concepts | Winona Lighting | Synergy |
Acuity Brands Lighting, Inc. assumes no responsibility for claims arising out of improper or careless installation or handling of its products. ABL LED General Warnings, Form No. 503.203
© 2010, 2016 Acuity Brands Lighting, Inc. All rights reserved. 12/01/10
INSTALLATION INSTRUCTIONS
WARNING:
Please read all LED important safety instructions on pages 1-2 prior to installation of this product.
- A) Identification of XIB Luminaire
- XIB 2FT LUMINAIRE
- XIB 4FT LUMINAIRE
- BPK OPTION (2FT ONLY)
- WGX OPTION
- SURFACE MOUNT OPTION
- YOKE MOUNT OPTION
Refer to page 8 for the pendant mount
- B) PRE-INSTALLATION FOR ALL MOUNTING
- C) INSTALLATION- SUSPENDED/INVERTED FIXTURE
- D) INSTALLATION- 2FT SURFACE MOUNT
- E) INSTALLATION- 4FT SURFACE MOUNT
- F) INSTALLATION- PENDANT MOUNT
- G) INSTALLATION- YOKE MOUNT
- H) INSTALLATION- EXTERNAL SENSOR
- I) WIRING- Battery Backup
- J) SERVICING
SECTION A: Identification of XIB Luminaire 
SECTION B: PRE-INSTALLATION FOR ALL MOUNTING
- Ensure power is OFF.
- Disconnect all power to the existing luminaire and remove the existing luminaire from the ceiling. Inspect the existing mounting location for damage before installing the new XIB LED high bay in this location. Ensure the mounting structure is properly sized to support the weight of the fixture.
- Remove the new XIB LED from the packaging and inspect for any damages. Handle new LED fixture with care. If damaged do not use; call your local rep for a replacement.
- Customer-provided cable glands may be installed between the luminaire and conduit to reduce condensation inside of conduit from entering the luminaire. Use cable glands suitable for your end-use application
- After installation ensure no wires are pinched or caught outside the electrical door.
SECTION C: INSTALLATION – SUSPENDED/INVERTED FIXTURE
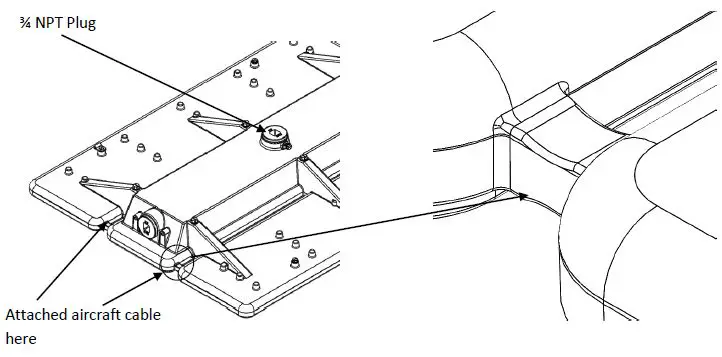
- If using the IBAC120 M100 or IBAC240 M75, hook the latch around the suspended mounting feature on the driver channel housing as shown in Figures C.1, C.2 , and C.3 (inverted mounting options connect the same way as suspended) below.
- Secure the other end of the aircraft cable to a structure using hardware rated for the load. Contact the factory or agency for areas that have vibration, overhead cranes and/or high velocity
Make sure the latches are fully engaged around the mounting feature located on the driver channel housing.

- Remove ¾” plug on threaded entry as shown (if provided). Pull Input wires through the pendant entry and connect input wires black to black, white to white, and green to green. Use only UL-listed connectors rated 90C or greater. Purple and Pink (or Gray) wires are low-voltage dimming leads.
- Make any necessary electrical connections. Supply wire must meet applicable electrical codes and be rated for a minimum of 90⁰C. Purple and pink (or gray) leads are 0-10V (low voltage) dimming leads.
SECTION D.1: INSTALLATION – 2FT SURFACE MOUNT (NOT AVAILABLE WITH UPLIGHT OPTION)
- Follow Steps 3-4 from Section C
- Attach surface mount brackets to the structure; the hardware needed to mount brackets is not supplied. Two surface-mount brackets MUST be used on all configurations.
- Support fixture while attaching fixture into surface mount brackets. Ensure the fixture is balanced.
- Use supplied hardware to tighten surface mount brackets around the center channel as shown below. Tighten bolts to 13 in/lbs.

SECTION E: INSTALLATION – 4FT SURFACE MOUNT (NOT AVAILABLE WITH THE UPLIGHT OPTION)
- Follow Steps 3-4 from Section C
- Attach surface mount brackets to the structure; the hardware needed to mount brackets is not supplied. Two surface-mount brackets MUST be used on all configurations.
- Support fixture while attaching fixture into surface mount brackets. Ensure the fixture is balanced.
- Use supplied hardware to tighten surface mount brackets around the center channel as shown below. Tighten bolts to 13 in/lbs.

SECTION F: INSTALLATION – PENDANT MOUNT
- Back out the pendant set screw far enough to ensure that it will not interfere with the pipe threads.
- Remove the top ¾” plug on the threaded entry if present
- On used entries, apply thread sealant to entry threads, then install conduit and wipe off any excess thread sealant.
- Pull Input wires through the pendant entry and connect input wires black to black, white to white, and green to green. Use only UL-listed connectors rated 90⁰C or greater. Supply Wire must meet applicable electrical codes and be rated for a minimum of 90⁰C Purple and Pink (or Gray) wires are low voltage dimming leads (0-10V).
- Thread the fixture onto the pipe at least (5) full turns until secure. The mounting structure shall support the full weight of the luminaire in accordance with local codes.
- Tighten the pendant and set the screw to 25-35 in/lbs.


SECTION G.1: INSTALLATION – YOKE MOUNT (NOT AVAILABLE WITH THE UPLIGHT OPTION)
- Loosen the set screw located on the electrical housing. (See Figure G.1)
- Provide 2X 3/8” diameter fasteners suitable for supporting the luminaire and install the top cover with a yoke mount to the structure via the yoke arm bracket.
- Using a ¾” socket, loosen the angle adjustment bolts until the yoke arm bracket can be rotated. Rotate the arm to the desired angle and tighten both angle adjustment bolts 45-50 FT-LBS
- Route supply wires through pendant entry and thread conduit into the top cover (5) full turns until secure. The mounting structure shall support the full weight of the luminaire in accordance with local codes.
- Tighten the pendant set screw to 25-35 in/lbs.
- Yoke Mount maximum rotation range: 0-30°

Section H: Installation – External Occupancy Sensor
Snap-In Sensors:
- The external Occupancy sensor will be pre-wired to the fixture.
- Install the external occupancy sensor to the fixture by snapping it into the sensor housing as shown in figure H.1 below.
- Rotate/Align the sensor head such that the sensor lens is parallel to the floor.
- Install fixture based on specified mounting instructions.

Section I: Wiring – Backup Battery Option (E15WMCP, IE18WCPHECW)
- Install fixture based on specified mounting instructions.
- Input Wires will be located outside of the pendant mount feature. Connect un-switched power to fixture wires labeled un-switched. Connect switched power to white, black, and green wires. Supply wire must meet applicable electrical codes and be rated for a minimum of 90⁰C. Purple and pink (or gray) leads are 0-10V (low voltage) dimming leads.
- If using the E15WMCP or IE18WCPHECW, press the indicator light for testing.


SECTION J: SERVICING
- Clean fixture as needed. Double-check all mounting hardware.
- After installation, wear protective gloves if the lens needs to be removed.
- If replacing the driver, ensure to disconnect all power to the LED high bay being serviced. Red LED safety instructions on page 1
- To access the driver, remove the six screws securing the driver channel door to the driver housing/
- Tag wiring before removing the bad driver. Install a new driver in the same location. Follow the wiring diagram on the driver.
Use only UL-listed 90°C (or greater) wiring and connectors. Make sure to push all wiring back into the driver housing before rotating the driver housing to the closed position. Do not let wiring get caught outside the two assemblies. - The driver and surge protector are the two components that are field replaceable.

Acuity Brands Lighting, Inc. assumes no responsibility for claims arising out of improper or careless installation or handling of its products. ABL LED General Warnings, Form No. 503.203
© 2010, 2016 Acuity Brands Lighting, Inc. All rights reserved. 12/01/10.
References
Acuity Brands | Lighting, Controls, and Building Management Solutions
Fabricantes de alumbrado publico e iluminación inteligente - CARANDINI
U.S. Environmental Protection Agency | US EPA
U.S. Environmental Protection Agency | US EPA
Holophane | Lighting solutions for commercial, industrial, emergency and outdoor applications.
Lithonia Lighting® | Best Value in Lighting
Modular Wiring Solutions | RELOC®


























