
Model No. : 182-6590 Polished Chrome
182-6591 Brushed Nickel
182-6592 Oil-Rubbed Bronze
182-7511 Matte Black
Aegean Towel Ring
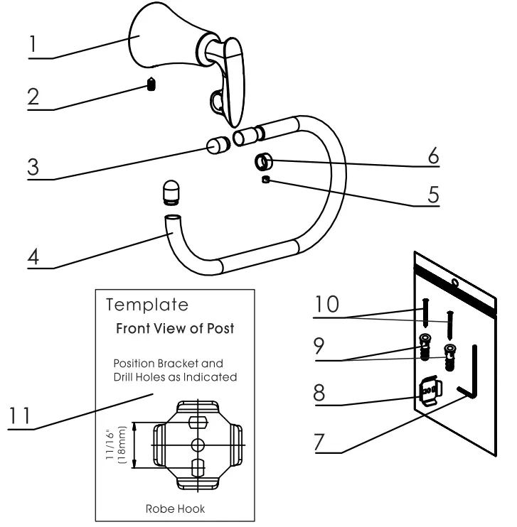
Parts Diagram / List
Tools

- Level
- Power Drill
- 1/4” Drill Bit
- 1/16” Drill Bit
- Masking Tape
- Pencil
- Hammer
- Phillips Screw Driver
- Safety Glasses
- Stud Finder
Maintenance
Your new Bath Accessory is designed for years of trouble-free performance. Keep it looking new by cleaning it periodically with a soft cloth. Avoid abrasive cleaners, steel wool and harsh chemicals as these will dull the finish and void your warranty.

| No. | Part Name |
| 1 | Base |
| 2 | Set Screw |
| 3 | Trim Cap |
| 4 | Towel Ring |
| 5 | Allen Screw |
| 6 | Wearing Ring |
| 7 | Allen Wrench |
| 8 | Mounting Bracket |
| 9 | Insert Anchors |
| 10 | Mounting Screws |
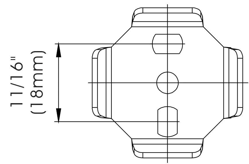
| 11 | Template |
Installation Instructions
Step 1
Locate mounting hardware before throwing away any packaging.
Step 2
Use the stud finder to locate the studs. Determine which mounting step is best for the installation. Place the template (#11) on the wall in the desired location, verify it is level, and tape it to the wall.
Step 3
Mark the mounting screw holes through the template (#11) with the pencil, then remove the template (#11).

Drywall Installation
Step 4
Drywall or Ceramic Tile Installation:
Drill 1/4″ holes in the wall where marked, then push the insert anchors (#9) into the holes, using the hammer to gently tap them into place.

Wood Wall Stud Installation
Wood Wall Stud Installation:
Drill 1 /16″ holes in the wall were marked, keeping the drill level. Insert anchors (#9) will NOT be used.

Step 5
Dry Wall Installation: –
Hold the mounting bracket (#8) over the mounting holes and tighten the mounting screws (#10) into the insert anchors (#9). See Figure 1 for an example.
Wood Wall Stud Installation:
Hold the mounting bracket (#8) over the mounting holes and tighten the mounting screws (#10) directly into the pre-drilled holes. See Figure 2 for an example.

Step 6
Position the base (#1) over the mounting bracket (#8) with the set screw socket facing down. Tighten the set screw (#2), using the provided Allen wrench (#7).

LIMITED LIFETIME WARRANTY
Compass Manufacturing International warrants to the original consumer purchaser that the faucet be free from defects in material and workmanship for as long as the original consumer purchaser owns the home in which the faucet was first installed.
In the event that Freendo bathroom accessories are used in a Commercial Application, this warranty is limited for a period of 5 years, unless otherwise specifically stated in the catalog and/or price book.
Compass Manufacturing International will replace, free of charge, during the applicable warranty period, any part or finish that proves defective in material and/or workmanship under normal installation, use, and service. This warranty shall not apply to goods that have been subject to accidents, negligence, or improper installation. Compass Manufacturing International will not be liable for other damages or losses, including, but not limited to: labor charges and/or damages incurred in installation, repair or replacement as well as any other kind of loss or damage. Proof of purchase from the original consumer purchaser must be made available for all warranty claims.
Compass Manufacturing International recommends using a professional plumber for all installation and repair. Compass Manufacturing International will, at its discretion, provide new or equivalent replacement parts for any product that proves to be defective under normal usage and service. Replacement parts may be obtained by emailing the address below, calling the number below or by writing to:
Compass Manufacturing International
Friends Product Service
6702 Enterprise Drive
Louisville, K¥ 40214
800.626.3525
[email protected]
[email protected]
Revised 05/05/21
© Compass Manufacturing International 800.626.3525
Template Front View
Position Bracket and Drill Holes as Indicated
Towel Ring


















