S257ECX21E Dishwasher
Instruction Manual
INSTALLATION INSTRUCTION
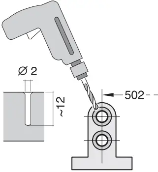
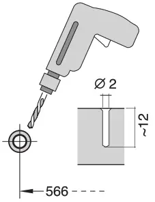
* Available from customer service
![]() | ![]() |
![]() | ![]() |
https://plus.cliplister.com/tools/decryptor2.phtml?a=1fd488794df553e646e2da0c1677dbbe84b58058bdd677f02791878596cfabd13f17918635c3bc18d9e425b47049701c5&b=81514
https://plus.cliplister.com/tools/decryptor2.phtml?a=1c1e1b6726e052b6e4eb3c5a87d8874b5d9120cf31203cdcc07b10da3d7d1a24e2a0055455a17f3cfc231b429ca503e40&b=81514

GV 640 Voll-I – 86,5 cm – m.
GS 9001594265 (0010)![]()


























































