BOCCI 100.1 Suspended Lights
Dimension

- PENDANTS: one
- MOUNTING: deep white canopy 116mm (4.5”) in diameter x 40mm (1.6”) deep
- LAMPING: 1.5w LED (2000K, 2500K, 3500K)
- COAX: adjustable 3000mm (10’) standard / up to 30500mm (100’) maximum
- MATERIALS: blown glass, braided metal coaxial cable, electrical components, brushed nickel canopy
- WEIGHT: approximately 2.75kg (6.1lb)
- POWER SUPPLIES: integral. Power supplies included
DESCRIPTION
The 100.1 is a single 100 pendant fi xture with a deep brushed nickel canopy designed to fi t over an existing junction box in which the power supply is installed. The canopy is 116mm (4.5”) in diameter and 7mm (0.3”) deep, which creates a subtle profi le that minimizes the impact in the application surface. The pendant drop lengths on this light fi xture are adjustable up to the specifi ed maximum.
100 brings multiple glass artists together in a performative act. Molten glass bubbles are prepared and then smashed together to produce unpredictable interlocking glass forms.
NOTES
- Purchase replacement lamps online at www.bocci.com/shop/bulbs
- All chandeliers will be outfi tted with 2500K lamps if not specifi ed.
US Patent Pending
EU Patent # 008526131-0001
Made in Vancouver, Canada
[email protected]
www.bocci.com
[email protected]
www.bocci.com
Installation
- Very carefully uncoil the braided coaxial cable in a spool like manner. Insert your index fi ngers into opposite sides of the roll then rotate your fi ngers around each other to unroll the coaxial cable.
Use patience: allow the cable to uncoil completely to avoid kinks.
- Determine the overall drop for the pendant fi xture.

- Thread the coaxial cable through the canopy, use a 2mm Allen key to loosen the setscrew in the canopy and gently feed the cable through until you have reached your desired drop length.
Use Allen key to tighten the setscrew to hold the strain relief and secure the coaxial cable at its new length. Perform a gentle tug test to ensure it is secure.
DO NOT OVER TIGHTEN.
Note: The strain relief is a black plastic collar around the coaxial cable. There
is a single slot opening on the side of the strain relief component. It is essential that this opening is oriented at 90 degrees to set screw chamber. There can be no contact between the set screw and the cable.
RISK OF ELECTRIC SHORT!
- Connect the black wire to black and white wire to white wire.
Connect the coaxial cable to the open slots in the terminal block on the 12V side of the power supplies.
For multiple pendant installations, ensure that the braided outer wires are all connected to one 12V output wire and all inner insulated wires are connected to the other or a short will occur.
Once all coaxial connections are made, lift the fi xture into position and connect the line voltage to the open slot in the appropriate terminal block.
- The client is responsible to ensure fasteners are attached to a robust structural substrate.
Tuck the power supply and wiring into the canopy. Line up the fastener holes or connect directly to the structural ceiling surface using the fasteners provided.
Turn power to fixture on.
- Please note that the crisp cut edges of the 100 pendants are fragile and can chip if not handled with care when installing and cleaning.
Bocci recommends wearing gloves during the installation. The edges of the glass may be sharp to handle.
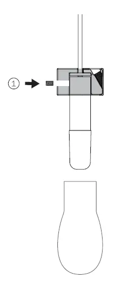
- Step 1: Attach the lamp holder to the pendant hardware with set screw provided.
Plug the lamp into the lamp holder and slide on the diffuser. Do not touch the lamp with your bare hands. Ensure power to lamp is working correctly.
- Step 2: Insert the pendant hardware assembly into the pendant.
Step 3: Tighten the 3 screws until they are fully engaged (refer to illustration above).
- Give the pendant a gentle pull to ensure the screws are locked onto the pendant.
Slide the cover cap onto the coaxial cable and place it into the inset portion of the pendant hardware. - The cap should sit fl at on the pendant hardware.
If the screws are sticking out and the cap isn’t sitting fl at on the pendant hardware, please check to ensure the screws are fully engaged.
Refer to steps 8 & 9 for more details.
- Clean fingerprints from surfaces.

Made in Vancouver, Canada































