BOCCI 100.1mo Pendant Light User Manual


PENDANTS: one
MOUNTING: mini outie canopy 38mm (1.5”) in diameter x 16mm (0.6”) deep
LAMPING: 1.5w LED (2000K, 2500K, 3500K)
COAX: adjustable 3000mm (10’) standard / up to 30500mm (100’) maximum
MATERIALS: blown glass, braided metal coaxial cable, electrical components, white polyurethane canopy
WEIGHT: approximately 2.75kg (6.1lb)
POWER SUPPLIES: remote mounted (fixture does not hook directly to a junction box). Power supplies included
DESCRIPTION
The 100.1mo is a single 100 pendant fixture with a mini outie canopy size.
The mini outie canopy is 38mm (1.5”) in diameter and 16mm (0.6”) deep, which creates a subtle profile that will essentially disappear into the application surface. The pendant drop lengths on this light fixture are adjustable up to the specified maximum.
100 brings multiple glass artists together in a performative act. Molten glass bubbles are prepared and then smashed together to produce unpredictable interlocking glass forms.
NOTES
+ Purchase replacement lamps online at www.bocci.com/shop/bulbs
+ All chandeliers will be outfi tted with 2500K lamps if not specifi ed.
+ Requires power supplies to be remote mounted.
US Patent Pending
EU Patent # 008526131-0001
Made in Vancouver, Canada
Vancouver
[email protected]
www.bocci.com
Berlin
[email protected]
www.bocci.com
© 2021, Bocci Design and Manufacturing Inc. All rights reserved. Any inquiries should be directed to: [email protected]
![]()

1) Very carefully uncoil the braided coaxial cable in a spool like manner. Insert your index fi ngers into opposite sides of the roll then rotate your fingers around each other to unroll the coaxial cable.
Use patience: allow the cable to uncoil completely to avoid kinks.

2) Drill a 9mm (0.35”) diameter hole in ceiling material. Pull low voltage house wire through the hole.
Note: This low voltage wire will run to a remote mounted power supply.

3) Determine the overall drop for the pendant fixture. Use the 2mm Allen key to loosen the setscrew in the canopy and gently feed the cable through the canopy until you have reached your desired drop length. Use Allen key to tighten the setscrew to hold the strain relief and secure the coaxial cable at its new length.
DO NOT OVERTIGHTEN.
Note: The strain relief is a black plastic collar around the coaxial cable. There is a single slot opening on the side of the strain relief component. It is essential that this opening is oriented at 90 degrees to set screw chamber. There can be no contact between the set screw and the cable.
RISK OF ELECTRIC SHORT!

4) Connect the black wire to black and white wire to white wire.
Connect the house wires to the coaxial cable using #16 butt splices (stagger the splices). Use raw butt splices and heat shrink to simplify the installation.
For multiple pendant installations, ensure that the braided outer wires are all connected to one 12V output wire and all inner insulated wires are connected to the other or a short will occur.
Note: Insulated core is positive and braided exterior is negative.

5) The client is responsible to ensure fasteners are attached to a robust structural substrate.
Affix mini-canopy to ceiling surface with fasteners provided. Twist the threaded outie cover into place.
Turn power to fixture on.
6) Use silicone caulking to fill the seam between the ceiling and the canopy
Note: mask the coaxial cable off with painters tape to help with cleanup.
Paint over entire assembly

7) Please note that the crisp cut edges of the 100 pendants are fragile and can chip if not handled with care when installing and cleaning.
Bocci recommends wearing gloves during the installation. The edges of the glass may be sharp to handle.

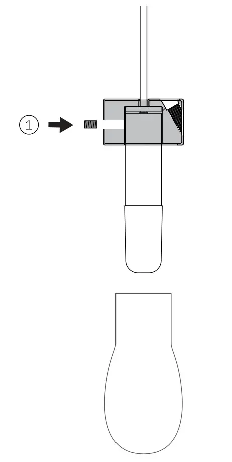
8) Step 1: Attach the lamp holder to the pendant hardware with set screw provided.
Plug the lamp into lamp holder and slide on the diffuser. Do not touch the lamp with your bare hands. Ensure power to lamp is working correctly.

9) Step 2: Insert the pendant hardware assembly into the pendant.
Step 3: Tighten the 3 screws until they are fully engaged (refer to illustration above).
10) Give the pendant a gentle pull to ensure the screws are locked onto the pendant.
Slide cover cap onto the coaxial cable and place into the inset portion of the pendant hardware.

11) The cap should sit flat on the pendant hardware.
If the screws are sticking out and the cap isn’t sitting flat on the pendant hardware, please check to ensure the screws are fully engaged.
Refer to step 8 & 9 for more details.

12) Clean fingerprints from surfaces.
For additional assistance, please contact Bocci:
Vancouver
[email protected]
www.bocci.com
Berlin
[email protected]
www.bocci.com
US Patent Pending
EU Patent # 008526131-0001
Made in Vancouver, Canada
![]()
© 2021, Bocci Design and Manufacturing Inc. All rights reserved. Any inquiries should be directed to: [email protected]
![]()



















