PAKREF EK-48IH01 Cassette 4 Ton Air Conditioner

Safety sign
- Prohibition
- Control according with indicator.
- Must joint the ground wire.
- Please don’t install, repair and move the unit by yourself.
- Please ask the professional installation man to repair and move the air conditioner, otherwise maybe caused the fire electric shock or drop.

Install the unit according to the stipulation


Drain water should be fully drained
If the drainage is incomplete, water may drop from the unit. It may wet and spoil furniture.
Please don’t install the unit where flammable gas could leak or atrocious

Caution before trial operation Check all the panel, fan guard and other protection sets whether installed correctly or not; If touch the running. heater or high voltage part, maybe caused damage.
Never insert stick or foreign object in air inlet or outlet. Touching rotating or fans can be hazardous. Please insure the air outlet and inlet without obstruction.
Please insure the air outlet and inlet without obstruction. 
SAFETY PRECAUTIONS
Please don’t press the remote controller button with spiculate object.
Please stop running the unit and switch off As soon as the abnormity appears burnt smell.
The unit can’t be wet Touch it by wet hand is prohibited.
Allow fresh air into room occasionally.
Do not apply an insecticide or flammable spray.
Don’t place propagation at the location of direct air flow.
Do not put a pet or house plant where will be exposed to direct airflow.
Don’t step on the outdoor unit and don’t put anything on it.
Don’t deal with the unit by yourself. 
NAME OF EACH PART

Indoor unit
- A. Air inlet
- B. 4-way air outlet
- C. Adjustment vanes
- D. Air filter
- E. Panel
- F. Remote controller
Outdoor unit
- A. Air outlet
- B. Air inlet

USE METHOD OF REMOTE CONTROLLER

Remote controller’s Clock setting
- Remove the back lid and install two batteries. please pay attention to the battery electrodes)
- Pressing clock setting button
- The first time to install batteries ,all LCD displaying, then LCD shows power indictor and the clock shows:
- Clock function setting button
- When LCD shows at fist time press the clock setting button press timer on button and timer off button at the same time), start to twinkle, then setting the clock.
- Press up button to setting hour, and press down button to set Min it is finish setting.
- When LCD display twinkles five times or press up and down at the same time..
- It is the same way to revised time in the days.
Operate automatically.
- When the operation starts according to the room temperature the operation mode is automatically select among cooling. Dry .
- However ,when operation start again within two hours after the operation is stopped, the same operation mode before is is stopped is selected.
- The room temperature will not be influenced once the operate is selected.

To start operation
- The signal transmitting section of the remote controller should be pointed at the receiving section.
- Press the to start air-conditioner.
- To select the Auto mode, each time the button is pressed, the operation is changed in sequence from AUTO Cool DRY.
To stop operation
ON OFF Press the on off button.
While too warm or cool
When about 3-15 min passes, after operation start, if you feel slightly warm or cool.
- Press the button to raise the temperature One press raises the temperature by about 1 C.
- Press the button to lower the temperature, One press lowers the temperature by about 1C.
USE METHOD OF REMOTE CONTROLLER
To Select The COOL ,DRY, FAN, ON/OFF Mode 1.Press to start machine .Press to select running mode. The running mode MODE is change in sequence after pressing the button, from AUT0-COOL-DRY. For example
- To select the cool operate mode.
- Press Mode button continuously until cool is shown on display screen.
- Press the button to select fan speed.
- Press to select air flow blowing direction.
- Press the button to stop machine.
- Note Once the operation mode has been selected, the same operation mode will start after the ON/OFF button pressed on.
Temperature adjustment
To lower the temperature, Press the CV) button, One press lowers the temperature by about 1C. To raises the temperature, Press the button, One press raise the temperature by about 1C.
In DRY operation
When Dry operation starts, The air conditioner running under low speed of fan, and it cannot be changed, Con trolled by the microprocessor, the fans in the outdoor and indoor unit operate occasionally for DRY operation. The room temperature is slightly lowered in this operation mode, the DRY function can not be done when the room temperature is 13C or lower.
Air Flow velocity adjustment
Press the button to adjust the air flow velocity. Each time the button is pressed, fan speed is changed as follows AUTO LOW MEDIUM HIGH.
Adjust horizontal direction of wind
Please don’t use hand to adjust the horizontal of vane swing. The vane swing will adjust the direction from up to down and left to right by freely under running. please be careful in case to harm your hand.
Swing up and down to supply air
- Swing supply air.
- Please press the button Vane swing freely in horizontal direction, supplying air from corner to corner of room.
- Press the button again.
- The vane stop to swing.
- Fixed angle to supply air.
- Please press the button K the vane will swing to your wanted angle to supply air.
- Please press R button to adjust the up and down direction of vane.
- Each time the button is pressed, air supply direction is changed.
Note
Please use remote controller to adjust the direction of vane, otherwise will cause error if you use hand to I change the direction of vane directly.
Screen display
The screen display shows after power on. It means the air conditioner is working under current mode .For example, if the screen display too bright when you are in sleep, it wil hide the display content after you pressing the screen display button. And reset display if you press any button.
Notice
This remote controller is the latest type and some types don’t have above function.
To set timer on/off function
Press the timer on button, the appears in the display and begins to glitter. The glitter will last on 1 min, it prompts you that you can start to set the timer on function. It will be canceled if you press the timer button again. Press the timer off button when the unit is on, or press timer off button after pressing timer on button to set the timer, the appears in the display and begins to glitter, and it will last on 1 min, it prompts you that you can starts to set the timer off function. The function will be canceled if you press timer off button again. Press A and V to set timer on and timer off function which you need. Each press of the CA, the set time will increase 1 hour. Each press of the .the set time will decrease by 1 min.
To use the timer on/off function together
Press the timer on button to set the timer on function first, and then press the timer off button to set the timer off function. the timer on/off functions are use together at this time. Notice Please confirm whether the electronic clock is set right or not before setting the timer on/off function. If the current time is the time of the timer on/off, and the state of the machine is the same as the requirement of the time set, the operating mode will not be changed.
Set the comfortable sleep mode function
- The air condition unit is power on.
- Press the sleep button to enter the operation of sleep mode function.
Sleep function
The fan motor indoor changes to the Auto speed. 2.In cool operatiton, each hour the temperature will raise by 1C, but the changing range is only 2C. In dry operation, the room temperature often does not change.
To cancel the sleep mode function
The function can be canceled. Press the sleep mode set button again. Press the on/off button or stop the machine automatically.
Notice
This remote controller is the latest type. Please according to this instruction if the instruction has difference from the object. If this remote controller is used together with the cabinet type, button control the horizontal direction and button control the vertical direction. There is not swing function if the remote controller is used for some air conditioner units such as portable, R and button does not work.
Working condition of unit
Cool Mode
Room Temperature :16 C 31C
Notes
The efficiency of unit will be worse under condition except above. If you select COOL mode under wet weather (Relative humidity higher than 80%). It will appear condensation water on indoor panel ,at this time, it will be better if select high wind mode.
HOW TO GET THE BEST EFFICIENCY
Clean the air filter frequently
Dirty or blocked filter will influence the efficiency.
Set the reasonable temperature
Cooling Hearing is more efficient when the difference between room and out door temperature is less than 5 C.

Block sources of outside heat
Use curtains to cover windows subject to direct sunlight during cooling. Avoid opening doors often unless necessary.

Allow fresh air into room Occasionally

MAINTENANCE
When clean the air conditioner, you must turn off the power. Clean air filter and indoor unit. Clean air filter Step:1,take out air filter 2,clean it with vacuum cleaner or water 3.after clean it with water. please drv it.don’t parch it. Clean indoor unit. Method 1:clean it with a clean and soft cloth. Method 2:clean out blotch with neuter house use cleanser
Maintenance for season finish(when the unit is not going to be used for a long time. O Switch on air conditioner, set fan mode; keep it running for 3-4 hours to dry the spare parts. O Switch off air conditioner, cut off the power supply. Clean air filter and indoor unit drastically. Take out the battery.
Maintenance for season start
Check outdoor unit and grounding wire whether installed correctly or not. O Check the unit’s air inlet and outlet whether blocked or not. Check the drainage hose whether blocked or not, the inner whether normal or not. Check the installation of air cleaner whether installed correctly or not.
MALFUNCTION CHECK
| Problem | Phenomenon | Cause | Remedy | |
| Unit does not operate | After press the ON/OFF button, | Power outage | Press ON/OFF button after power restored | |
| Main power not on | Turn main power on | |||
| at all | can’t hear the | |||
| Main power fuse blown | Replace fuse | |||
| “Beep” from the unit, the operation lamp doesn’t light | ||||
| Ground leakage breaker open | Reset ground leakage breaker | |||
| The remote controller is out of the operation range | Use the remote control inside the operation range | |||
| The battery finish | Replace the new battery | |||
| The unit can’t start immediately | The remote controller displays the unit is in operation | The unit is driving the restart protection procedure, wait 3 minutes before the unit restart | The unit has the restart protection procedure to protect the compressor, please wait for 3 minutes. | |
| After start for a while, the unit stop running | The outlet or inlet was blocked | Clean the stem | ||
| The air filter was blocked or dirty | Clean the filter | |||
| Air is blown out but is not cooled or heated. | The remote controller displays the unit is in operation | Improper temperature Setting | Check the temperature setting on remote controller display and reset the appropriate temperature. | |
| Air filter clogged | Clean air filter | |||
| Inlet or outlet of indoor or outdoor unit blocked | Remove obstruction | |||
| Window or door open | Close window or door |
Error code analysis

INSTALLATION PLACE
Select the installation location
Indoor unit
Install in a roof or frame which is strong enough. Install in a location where the outflow air will reach all parts of the room. Install in a location where the air inlet and outlet are swimmingly. Avoid a location where can communicate with the outside. Avoid a location where there is a danger that inflammable gas will be generated, in flow .accumulate or leakage. Apart from the high frequency equipment. Avoid a location where the air flow to the fire annunciator .when heating, the hot air maybe spring the annunciator. Avoid a location where should use the acidic solution or sulfur frequently. Secure adequate space for installation and servicing.

- A. Roof
- B. Ceiling
- C. Fraise
- D. More than 1 meter
- E. More than 50 cm
- F. Panel
Outdoor unit
Install in location unexposed to direct sunlight or other radiated heat. Install a sunshade to protect the outdoor unit from the sun or the rain. Avoid the strong wind. Avoid the flammable gas. Select location permitting easy wiring and piping to power source and indoor unit Select locating from which noise emitted by unit will not inconvenience neighbors Make sure the installation stand firmly anchored.
Adequate apace for installation and service for outdoor unit.
One unit
When fraise on the above. When face (air outlet) 100upwards open
When fraise only at the face. At the moment, keep the back, both sides and above opening. When fraise on both face and back. Please do not use the measurement.

When four sides all fraise. Although the above is open but because of four sides all fraise, so it can’t install here.
Many units.

Service space
Secure the space in front of the unit.

When collocate front and back
When do not use the outdoor exhaust oriented board

When install the unit on the roof or other location where has much wind
When install the outdoor unit on the roof or other location where has no building around, avoid the strong wind blows the air outlet directly. Otherwise the heat exchanger maybe influence the cooling or heating efficiency because of influence the deficient airflow. When the air outlet influenced by the strong wind and wind direction, please change the location of outdoor unit, let the air outlet and wind direction be a right angle.

INSTALLING THE INDOOR UNIT
Installation measurement of ceiling hatch and pothook.

Measurement of indoor unit

- A. Distance of pothook bolt.
- B. Exterior measurement of the unit.
- C. Measurement of ceiling hatch.
- D. Exterior measurement of the panel M.
- Pothook bolt. Caution
- Please insure the distance of 10-15 mm between Measurement of pipe connection.
- K. Panel.
- L. Ceiling paneling indoor


Hanging
Caution
For safety, the hanger place should be strong enough. Please install the unit on the horizontal ceiling, if the ceiling is gradient please add some underlay to insure the level. Right 1)Install the unit on the baton ceiling. Please install expand bolt J refer to the sketch(1). Fixup installation bracket on the expand bolt J, install the pothook bolt A refer to the sketch(2).

- A. Unit
- B.Panel
- C. Underlay
Installation splint Sketch (1) Look up
Sketch(2)
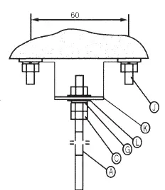
- A. Pothook bolt
- C. Nut
- G. Spring gasket
- J. Expand bolt
- K. Installation bracket(by in local)
- L. Flat gasket
Install the unit on the wooden ceiling

- D. Ceiling paneling
- E. Girder
- F. Rafter
- G. Top girder
Install by the rafter. The rafter should be strong enough. Requirement: The distance between rafter and rafter should within 50 cm, the rafter’s width should be 6 cm at least; When width should be 9 cm at least. The diameter of bolt should be 11 mm.
The step of hang unit
Every pothook bolt should be installed by one nut(M10). two gasket, two nut. Lift the unit at the proper location. Note: If the unit can’t aim at the ceiling installation hole, you may adjust the runner on the installation piece.
- A. Pothook bolt
- B. Ceiling paneling
- C. Nut(M10)
- E. Installation piece
- F. Gasket
- I. At least 30 mm
Fixup the unit
Adjust the unit to be horizontal by gradient, adjust the two nuts. Insure there is no space between ceiling paneling and panel, unit and panel. Insure that the unit is in the middle of ceiling hatch by tape measure. After insure the location, tighten the screws, fixup the unit.
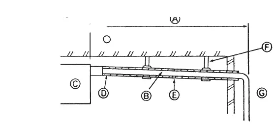
Installation location of indoor refrigerant pipe and drainage hose mm

- A. Drainage hose tie in
- B. Ceiling paneling
- C. Panel
- D. Refrigerant liquid pipe tie in
- E. Refrigerant gas pipe tie in
Installation of drainage hose
Connect the drainage, one end with unit water outlet, one end with PVC pipe diameter is 20mm, please buy in local. The drainage hose should be installed for a gradient at least 1/100. Buy the heat preservation bushing to bind the PVC pipe, prevent the condensate separates out A Max 20m. The tie-in should be banded tightly to prevent water drop.

- A. Max.20m
- B. Drainage hose
- C. Indoor unit
- D. Heat preservation material (thickness bigger than 9mm)
- E. Gradient at least 1/100
- F. Metal underprop
Installing the outdoor unit
Better carry the unit by the original carton box to the location. Because the unit’s barycenter is in the center, please take care when you sling it. The Gradient can’t bigger than 45°C during the transportation. (Decumbence is prohibited) O When install the outdoor unit, please fixup the Caution: The length of underside Bolt underside by bolt. O Please install it firmly. O Please refer to the sketch when install on the should be shorter than 25 mm.

Measurement of outdoor unit


Connect the pipe
lf you want to buy the pipe, please choose the heat preservation bushing that the heat preservation laver is thick than 9mmand the function should be good. When you use the lengthen PVC drainage hose, please choose the heat preservation layer is thicker than 6mm bind the hose. The measurement of refrigerant pipe and drainage hose, please refer to the drainage hose, please refer to the diagram on the right.
Connecting the indoor and outdoor refrigerant pipe
| Measurement of refrigerant pipe/drainage hose | |||
| Capacity | 30K/36K | 42K/48K | 60K |
| 410A | 410A | 410A | |
| Refrigerant liquid pipe | 9.52 | 9.52 | 9.52 |
| Refrigerant gas pipe | 15.88 | 15.88 | 19.00 |
| Drainage hose | |||
Keep the outdoor check valve the original, tear down the indoor and outdoor pipe nut dustproof screw cap and bolt, connect these quickly(avoid the dust, water, and other boned come into the pipe caused the malfunction) Before screw down the nut, please coat the tie-in with the putty. When you connect the pipe, please use two wrenches, refer to the following diagram. Screw moment when using the wring wrench; Refer to the screw angle when without wring wrench. When screw down the nut, please stop when the screw moment raise Drainage hose PVC pipe.
Electric wire installation
Caution
Please install the special power and the creepage switch. Please check the unit’s voltage and electric wire before connection. The electric wire should be installed accordıng with the requirement. Screw down the bolt. The unit’s signal part can’t be connected to the power of 220V, otherwise malfunction can be caused. Because signal board has the polarıty, so please connect it by the correct number If the connection is wrong, the compressor will not work.
The sketch of elements connection Indoor unit/outdoor

Connection specification
| Type | 30K/36K/42K/48K/60K | ||
| Power Supply | 3N~50Hz, 380V | ||
| Input current (Main Switch/Fuse) (A) | 30 | ||
| Electric Wire | Outdoor unit electric wire | Quantity of electric wire | 5 Greenish-Yellow is ground wire |
| Core wire section(mm2) | 4 x 3.0 + 1 x 1.5 | ||
| Indoor and outdoor connection wire | Quantity of electric wire | 4(Greenish-Yellow is ground wire) | |
| Core wire section(mm2) | 4 x 1.5 | ||
Caution
When you install the electric wire, please consider the circumstance (temperature, sunlight, directly, rain) Both the indoor and outdoor unit should have the ground wire connected The installation should comply with the local’s standard
Install the panel
Take down the air inlet grill, take out air filte Undraw the air inlet grill in the direction of arrow (1), take down the orientation axes in the direction of arrow (3) and (4), take down the air filter in the direction of (5).Orientation Hang the panel G on the unit’s gasket bolt correctly. 3. Fixup the panel Tighten the screws; don’t leave the space between panel and ceiling. L. unit


- A. air inlet grill
- B. Air inlet grill pull trough
- C. panel
- D. Air filter
- E. Switch of air filter
- F. Panel installation hole.
Fixup the panel
Tighten the screws; don’t leave the space between panel and L. unit ceiling.

- L. unit
- M. panel
- N. ceiling
Circuity connection
Connect the two tie-ins of unit and manel the tie-in should be firm.
Trial operation
Confirmation before trial operation
After install the indoor/outdoor unit, joint the pipe and connection, confirm again that there is no refrigerant leakage, the power wire, signal wire connect firmly and correctly.
Try operation
Turn on main switch. Press the ON/OFF button on the remote control, if you heard the beep it means the remote control is ok, then press the other button: Press Mode button, select Cooling mode, and check whether there is cool air blows out. Press Mode button, Select Heating mode, and check whether there is hot air blows out. Press Fan speed button, select High mode, and check whether there is strong air blows Out. Press Swing button, check whether the vane is swinging and then press it again to stop it. Press the ON/OFF button again to stop the operation.
Check the drainage set
After installation finished, you should check the drainage set. When trial operation, the water must be drain out and the tie-in should not be leakage Before install the panel, debus the water inlet window at the side of unit, and then fill around 1000ml water into the water plate by water supply pump. Please install the water inlet window back after ll. Turn on the unit, when cooling mode, please check where there is water leakage.



Fixup the unit

















