
B614LP PLUG-IN DETECTOR BASE INSTALLATION INSTRUCTIONS
FOR USE WITH THE FOLLOWING SMOKE DETECTOR MODELS:
IN US: CP-651, SD-651
IN CANADA: CP-651A, SD-651A
IN EUROPE: CP-651E, SD-651E
Before installing detectors, please thoroughly read manual I56-407-01, Guide for Proper Use of System Smoke Detectors, which provides detailed information on detector spacing, placement, zoning, wiring, and special applications. Copies of this manual are available at no charge from Notifier. (For installation in Canada, refer to CAN/ ULC-S524-M86, Standard for the Installation of Fire Alarm Systems and CEC Part 1, Sec. 32.)
NOTICE: This manual should be left with the owner/user of this equipment.
IMPORTANT: The detector used with this base must be tested and maintained regularly following NFPA 72 requirements. The detector used with this base should be cleaned at least once a year.
GENERAL DESCRIPTION
The model B614LP detector base is designed for use with Notifier model SD-651, SD-651A, and SD-651E photoelectronic detector heads and CP-651, CP-651A, and CP-651E ionization detector heads. This four-wire base is equipped with screw terminals for the connection of power, ground, relay connections, and an optional remote annunciator. It also includes a resistor that limits current when the associated smoke detector is in the alarm state.
BASE TERMINALS
| No. | Function | |
| 1 | Remote Annunciator (+) | |
| 2 | Not used | |
| 3 | Not used | |
| 4 | Remote Annunciator (-) | |
| 5 | Not used | |
| 6 | N.O. N.O | Supervisory Relay |
| 7 | Form A Contacts | |
8![]() 9 | N.O N.O C. C. | Alarm Relay |
| Form A | ||
10![]() 11 | Initiation | |
| Contacts | ||
| 12 | N.O. N.C. C. | Alarm Relay |
| 13 | Form C | |
| 14 | Auxiliary Contacts | |

Figure 1. Terminal Layout
- TAMPER-RESISTANT TAB
- BASE TERMINALS
- SHORTING SPRING
- STRIP GAGE
SPECIFICATIONS
| Base Diameter: | 6.2 inches (157 mm) |
| Base Height: | 0.95 inches (24 mm) |
| Weight: | 0.6 lb. (274 g) |
| Mounting: | 4-inch square box with or without plaster ring. Min. depth–1.5 inches 4-inch octagon box. Min. depth–1.5 inches |
| Operating Temperature Range: | 0° to 49°C (32° to 120°F) |
| Operating Humidity Range: | 10% to 93% Relative Humidity, Noncondensing |
ELECTRICAL RATINGS – includes base and detector
| System Voltage: | 120 VAC, 60 Hz |
| Relay Contact Ratings: | |
| Resistive or Inductive (60% power factor) load | |
| Form A: | 2.0A @ 30VAC/DC |
| Form C: | 2.0A @ 30VAC/DC 0.6A @ 110VDC 1.0A @ 125VAC |
| Start-up Time: | 36.0 Seconds Maximum (After 60 second reset) |
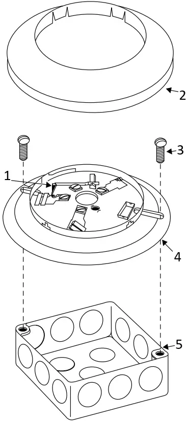
Figure 2. Mounting Base to Box
- SHORTING SPRING
- SNAP ON DECORATIVE RING
- SCREWS (NOT SUPPLIED)
- DETECTOR BASE
- BOX (NOT SUPPLIED)
MOUNTING
The detector base mounts directly to 3-1/2 inch and 4inch octagon boxes and 4-inch square boxes, with or without plaster rings. To mount the base, remove the decorative ring by rotating it in either direction to unhook the snaps before separating the ring from the base. Use the screws supplied with the junction box to attach the base to the box through the appropriate slots in the base.
See Figure 2. Position the decorative ring around the base and rotate it in either direction until the ring snaps into place.
INSTALLATION GUIDELINES
Allowable loop resistance is an important specification for control panels as well as for smoke detectors and their bases. The alarm system cannot be expected to operate correctly if system components have incompatible allowable loop resistances. Therefore, before beginning installation, refer to the control panel manufacturer’s loop resistance specification to ensure that it is listed as compatible with the base and smoke detector being installed.
All wiring must be installed in compliance with the National Electrical Code and all applicable local codes and any special requirements of the authority having jurisdiction, using the proper wire size. The conductors used to connect smoke detectors to control panels and accessory devices should be color-coded to reduce the likelihood of wiring errors. Improper connections can prevent a system from responding properly in the event of a fire.
For signal wiring (the wiring between interconnected detectors), it is recommended that the wire be no smaller than AWG 18. However, the screws and clamping plate in the base can accommodate wire sizes up to AWG 12. The use of twisted pair wiring for the power (+ and ) loop is recommended to minimize the effects of electrical interference.

Figure 3. Wiring Diagram for a Typical 120VAC Detector System
- CONTROL PANEL
- BLACK LEADS TRANSFORMER PRIMARY
- REMOTE ANNUNCIATOR
- RELEASING DEVICE
- EOL
- SPECIFIED BY PANEL MANUFACTURER
- SUPERVISORY RELAY
- ALARM RELAY
- NOTE ABOVE DIAGRAM SHOWS NFPA REQUIRED WIRING OF SUPERVISED SYSTEMS SCHEMATIC SHOWN BELOW FOR REFERENCE
- 120 VAC
- ALARM INITIATION LOOP
WIRING INSTRUCTIONS
NOTE: Refer the manufacturer’s instructions for releasing device wiring.
NOTE: To ensure that electrical connections are supervised, DO NOT loop wires under terminals 8, 9, 10, and 11 - cut the wire at each terminal.
To make electrical connections, strip approximately 3/8″ (1 cm) insulation from the end of each wire. Slide a wire under the clamp plate on each side of the terminal screw and tighten the screw.
If the base is being installed in a zoned system, check the zone wiring before installing the smoke detector head. The built-in shorting spring makes it convenient to do this. After the detector base is wired and attached to the electrical box, position the shorting spring against terminal 3. Use the slot in the retaining clip to hold the spring against the terminal, as shown in Figure 1. This shorts the negative-in and negative-out leads so that loop wiring can be tested for continuity.
DO NOT remove the shorting spring from the base when continuity tests are completed.
After all detector bases have been mounted, wired, and the wiring checked, install the detector heads. The shorting spring in the base automatically disengages when the detector head is removed from the base. DO NOT remove the shorting spring since it reengages as the detector head is turned into the base, completing the circuit.
TAMPER-RESISTANCE FEATURE
NOTE: DO NOT use the tamper-resistance feature if the XR2 Removal Tool will be used to remove detectors from the base.
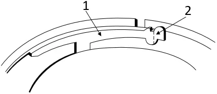
This detector base can be made tamper resistant so the detector cannot be detached without the use of a tool. To make the base tamper-resistant, break off the smaller tab at the scribed line on the tamper-resistant tab, on the detector mounting bracket (see Figure 4A), before installing the detector.
To remove the detector from the base after it has been made tamper resistant, remove the decorative ring by rotating it in either direction and pulling it away from the base. Then, insert a small screwdriver (Figure 4B) into the notch and press the plastic lever toward the mounting surface. Rotate the detector counterclockwise and remove it.

Figure 4A. Activating Tamper-resistance Feature

Figure 4B. Removing the Detector Head from the Base
- PLASTIC LEVER
- BREAK TAB AT DOTTED LINE BY TWISTING TOWARD CENTER OF BASE.
- USE SMALL-BLADED SCREWDRIVER TO PUSH PLASTIC LEVER IN DIRECTION OF ARROW.
WARNING
LIMITATIONS OF SMOKE DETECTORS
This smoke detector used with this base is designed to activate and initiate emergency action, but will do so only when used in conjunction with an authorized fire alarm system. This detector must be installed in accordance with NFPA standard 72.
Smoke detectors will not work without power. AC or DC powered smoke detectors will not work if the power supply is cut off for any reason.
Smoke detectors will not sense fires which start where smoke does not reach the detectors. Smoldering fires typically do not generate a lot of heat which is needed to drive smoke up to the ceiling where the smoke detector is usually located. For this reason, there may be large delays in detecting a smoldering fire with either an ionization-type detector or a photoelectronic-type detector. Either one of them may alarm only after flaming has initiated, which will generate the heat needed to drive the smoke to the ceiling.
Smoke from fires in chimneys, in walls, on roofs, or on the other side of a closed door may not reach the smoke detector and alarm it. A detector cannot quickly detect, or sense at all, a fire developing on another level of a building. For this reason, detectors shall be located on every level and in every bedroom within a building.
Smoke detectors have sensing limitations, too. Ionization detectors and photoelectronic detectors are required to pass fire tests of the flaming and smoldering types. This is to ensure that both can detect a wide range of fires. Ionization detectors offer a broad range of fire-sensing capability, but they are somewhat better at detecting fastflaming fires than slow-smoldering fires. Photoelectronic detectors sense smoldering fires better than flaming fires, which have little, if any, visible smoke. Because fires develop in different ways, and are often unpredictable in their growth, neither type of detector is always best, and a given detector may not always provide early warning of a specific type of fire.
In general, detectors cannot be expected to provide warnings for fires resulting from inadequate fire protection practices, violent explosions, escaping gases that ignite, improper storage of flammable liquids like cleaning solvents that ignite, other similar safety hazards, arson, smoking in bed, children playing with matches or lighters, etc. Smoke detectors used in high air velocity conditions may have a delay in alarm due to dilution of smoke densities created by frequent and rapid air exchanges. Additionally, high air velocity environments may create increased dust contamination, demanding more frequent detector maintenance.
Smoke detectors cannot last forever. Smoke detectors contain electronic parts. Even though detectors are made to last over 10 years, any part can fail at any time. Therefore, smoke detectors shall be replaced after being in service for 10 years. The smoke detector system that this detector is used in must be tested regularly per NFPA 72. This smoke detector should be cleaned regularly per NFPA 72 or at least once a year.
N550-03-00
I56-647-01
© Notifier 1993



















