IS-CAEM6 Calculate LED Accessories
User Manual
Calculate LED Accessories
IS_CAEM6 442295719959
Emergency Battery Pack Installations
IS-CAEM6 Calculate LED Accessories
CAUTION: THE INSTALLATION AND SERVICING OF THIS PRODUCT SHOULD BE PERFORMED BY A QUALIFIED ELECTRICIAN OR SERVICE PERSONNEL![]()
NOTE: This equipment has been tested and found to comply with the limits for a Class B digital device, pursuant to part 15 of the FCC Rules. These limits are designed to provide reasonable protection against harmful interference in a residential installation. This equipment generates, uses and can radiate radio frequency energy and, if not installed and used in accordance with the instructions, may cause harmful interference to radio communications. However, there is no guarantee that interference will not occur in a particular installation. If this equipment does cause harmful interference to radio or television reception, which can be determined by turning the equipment off and on, the user is encouraged to try to correct the interference by one or more of he following measures:
- Reorient or relocate the receiving antenna.
- Increase the separation between the equipment and receiver.
- Connect the equipment into an outlet on a circuit different from that to which the receiver is connected.
- Consult the dealer or an experienced radio/TV technician for help.

Step 1
Take the BSL06M5 and place it in the J-BOX DOOR EM, align the holes with the ports to make the connections, as shown in figure 1. Fix the BSL06M5 to the J-BOX DOOR EM, placing the 8-32 Hexagonal Keeps Nut (figure 2).
Step 2
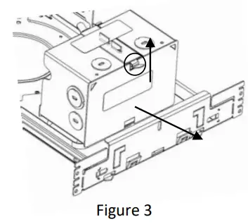
Locate the J-BOX DOOR and raise the lance while you remove it, as shown in figure 3.
Step 3
Wiring connections: Wire to supply leads. Wire neutral lead supply lead to white wire, hot supply lead to black and/or white & red wires (depending on if the application utilizes a switch), and bare copper and/or green wire must be connected to supply ground. Use wire nuts (local hardware item). Place all electrical connections in the j-box. For luminaires with 0-10V dimming, or digital dimming, wire violet & gray leads to appropriate control wires. Additional orange wire is for future expansion and should remain capped off (figure 4)
Step 4
Insert the lower tab of the J-BOX DOOR EM in the hole of the J-BOX and push it until the lance secures the door.
Take the J-BOX DOOR EM with the BSL06M5 and place in where the J-BOX DOOR was, as shown in figure 5. 
Instructions for emergency battery pack installations.
Ceiling Test Switch Mounting: To mount test switch to the ceiling, Cut a hole in the tile ceiling as indicated (figure 7) push ceiling plate through the hole until stops. Screw ceiling plate and pass the button harness cable through the hole of the ceiling plate. Last secure the button harness cable with the hex nut (figure 6).
Reflector Test Switch Mounting: To mount test switch to the reflector, disconnect the button harness cable from the emergency battery by releasing the connector lock (figure 8). Pass the button harness cable through the reflector (figure 9) and secure the position with the hex nut. Reconnect the button harness to the emergency battery.
2021 Signify Holding. All rights reserved. The information provided herein is subject to change. without notice. Signify does not give any representation or warranty as to the accuracy or completeness of the information included herein and shall not be liable for any action in reliance thereon. The information presented in this document is not intended as any commercial offer and does not form part of any quotation or contract, unless otherwise agreed by Signify. 3/10/2023 page 2
Signify North America Corporation 400 Crossing Blvd.
Suite 600 Bridgewater. NJ 08807. USA
Telephone 855-486-2216
Signify Canada Ltd. 281 Hill mount Road. Markham. ON. Canada L6C 2S3
Telephone 800-668-9008
All trademarks are owned by Signify
Holding or their respective owners.


















