Calculite LED Gen 3 Cylinder with Remote Driver
IS-C4/C6
Instruction Manual


Calculite LED 4 Inch Cylinder
Read and understand these instructions before installing luminaire (fixture).
This luminaire is intended for installation in accordance with the National Electrical Code and local regulations. To assure full compliance with local codes and regulations, check with your local electrical inspector before installation. To prevent electrical shock, turn off electricity at fuse box before proceeding. Allow fixture to cool before handling.
Retain these instructions for maintenance reference
Installation for
- C4S Series
- C4P Series
- C6S Series
- C6P Series
Caution (RISK OF FIRE)
Use only with LED light engines and reflector trims provided by Lightolier. Use of other manufactures products may void the Underwriters Laboratories listing and could constitute a fire hazard.
Instructions for Stem Kit CASKXX (Remote Driver and SNS441IA Sensor Version)
Step 1
Cut sealing aperture diameter 4 ¾” then refer to UniFrame frame in kit installation instruction sheet IS-4_N. Plenum depth for installation must be 19” for Remote Driver Version and 22” for Sensor Version.
Step 2
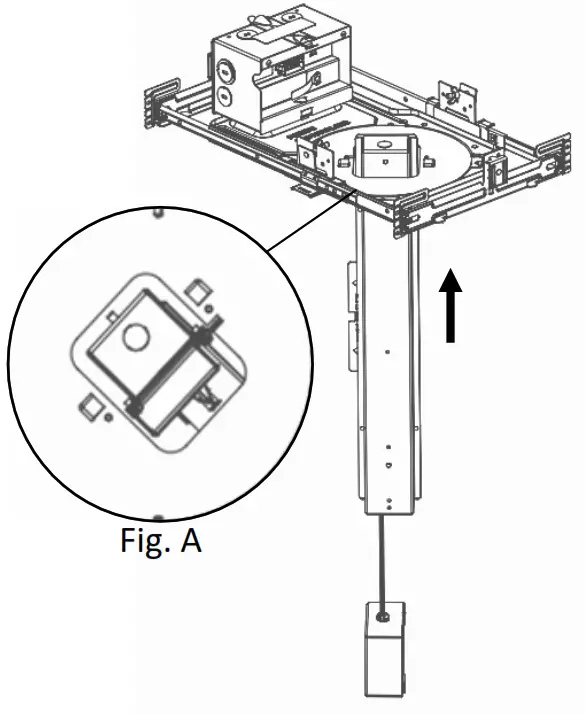
Using plate fixture(Figure A), feed driver from light engine through the aperture hole in the ceiling. (Image is illustrative, driver can change between models).
Note: Frame must be fixed to ceiling before installing driver.

Step 3
Snap driver into the j-box door (Figure A). Repeat with remote box and snap into remote plate fixture for alignment (Fig B). (Image is illustrative, driver can change between models).
Step 4
After installing remote box into plate, prepare box easy connectors for luminaire wire connection.

Instructions for Stem Kit (CASKXX)
Step 1
Stem Adjustment (optional): Cut Stem to desired length and deburr inside edge. Insert Swivel Ball casting onto the Stem with the edge of the cut even with the back of the cast ball (Fig. A). Install one Set Screw so that it “bites” onto the Stem using supplied Allen Wrench (Fig. B).
Drill a 1/8” hole (drill bit not provided) in the Stem through the tapped hole, opposite the Set Screw installed (Fig. A).
Always use eye protection.
Loosen the Set Screw in the casting and rotate Swivel Ball 180⁰ placing the Set Screw into the newly drilled hole for alignment. Drill a second 1/8” hole in the Stem through the opposite tapped hole. Deburr any sharp edges on the inside of the Stem due to drilling operation (Fig. A).
Insert and tighten second Set Screw into tapped hole with supplied Allen Wrench (Fig. B). Pins from both Set Screws should engage the Stem through the drilled holes (Fig. C).
Step 2
Preparation: Install 5 wires through Stem with Swivel Ball installed. Insert Stem through Half Ball Mounting Plate. Insert Bushing into Retaining Clip. Slide Retaining Clip onto Half Ball Mounting Plate, threading wires through Bushing (Fig. D). Install Round Crossbar Plate to J-Box using 2 Mounting Screws (not provided) (Fig. E).

Step 3
Wire In – Canopy: Wire to supply leads. Wire neutral supply lead to white wire, hot supply lead to black wire, and bare copper and/or green wire must be connected to supply ground. Use wire nuts supplied. For 0-10V dimming, or digital dimming: wire purple & gray leads to appropriate control wires. Place electrical connections in J-Box.
Step 4
Install Canopy: Take assembly from Step 2 and insert the Half Ball Mounting Plate through the Round Crossbar Plate at an angle. Push the remaining side up and slide into place. Use Locking Screw to secure in place (Fig. F).
Slide Canopy Cover over the stem from the bottom up to the ceiling until secure (Fig. G).
Step 5
Install: Mount Stem on top of Luminaire (Example: Top Cover) using the supplied Hex Nut to secure (Fig. H).
Step 6
Wire In: Wire Stem supply leads to luminaire.
Use wire nuts or connectors from remote box assembly.
Align Cylinder top cover bolt pattern and use the supplied cover Screws to secure fixture. (See Luminaire Instructions).

Instructions for Pendant Mount (C4P & C6P Series)
Step 1
Preparation: Install Frame in kit Remote Driver flush with ceiling. Install stem or cable kit according to provided kit instructions. Install Back Cover to the end of stem / cable kit and secure using provided Lock Nut.
Step 2
Wire In: Wire to LED supply leads (image is illustrative, the cylinder can change between models).
Step 3
Install: Place all electrical connections in Cylinder. Align cylinder Back Cover bolt pattern and use the supplied Cover Screws to secure fixture.

Step 1
Cut sealing aperture diameter 4” then refer to UniFrame frame in kit installation instruction sheet IS-4_N. Plenum depth for installation must be 19” for Remote Driver Version and 22” for Sensor Version.
Step 2
Using plate fixture(Figure A), feed driver from light engine through the aperture hole in the ceiling. (Image is illustrative, driver can change between models).
Note: Frame must be fixed to ceiling before installing driver.

Instructions for Surface Mount C4S & C6S Series (Remote Driver and SNS441IA Sensor Version) Continued
Step 3
Snap driver into the j-box door (Figure A). Repeat with remote box and snap into remote plate fixture for alignment (Fig B). (Image is illustrative, driver can change between models).
Step 4
After installing remote box into plate, prepare box easy connectors for luminaire wire connection.

Step 5
Wire In: Use supplied strain relief cable and screw attachment to support fixture during wiring installation (Fig. A & C). Wire to supply leads. Wire neutral supply lead to white wire, hot supply lead to black wire, and bare copper and/or green wire must be connected to supply ground. Use wire nuts (local hardware item). Place all electrical connections in the j-box. For 0-10V dimming, or digital dimming: wire purple & gray leads to appropriate control wires. (Fig. C)

Step 6
Install: Place supply wire connections in junction box.
Align cylinder locking tabs to mounting plate and twist in a Clockwise direction. Turn cylinder until fixture passes a resistance point to click into place. (Fig. D)
For Wet Location installations, use silicone caulking (not supplied) between top of fixture and ceiling surface.
For Class A Products
NOTE: This equipment has been tested and found to comply with the limits for a Class A digital device, pursuant to part 15 of the FCC Rules. These limits are designed to provide reasonable protection against harmful interference when the equipment is operated in a commercial environment. This equipment generates, uses, and can radiate radio frequency energy and, if not installed and used in accordance with the instruction manual, may cause energy and, if not installed and used in accordance with the instruction manual, may cause harmful interference to radio communications. Operation of this equipment in a residential area is likely to cause harmful interference in which case the user will be required to correct the interference at his own expense.
For Class B Products:
NOTE: This equipment has been tested and found to comply with the limits for a Class B digital device, pursuant to part 15 of the FCC Rules. These limits are designed to provide reasonable protection against harmful interference in a residential installation. This equipment generates, uses and can radiate radio frequency energy and, if not installed and used in accordance with the instructions, may cause harmful interference to radio communications.
However, there is no guarantee that interference will not occur in a particular installation. If this equipment does cause harmful interference to radio or television reception, which can be determined by turning the equipment off and on, the user is encouraged to try to correct the interference by one or more of the following measures:
- Reorient or relocate the receiving antenna.
- Increase the separation between the equipment and receiver.
- Connect the equipment into an outlet on a circuit different from that to which the receiver is connected.
- Consult the dealer or an experienced radio/TV technician for help.
11/17/2022
www.ledalite.com

















