Cersanit B623 TECH LINE Toilet Seat

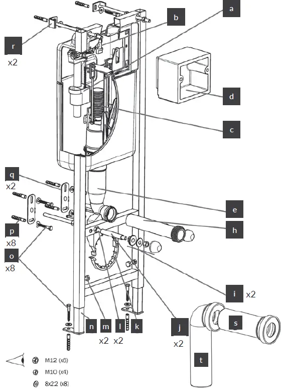
Hardware


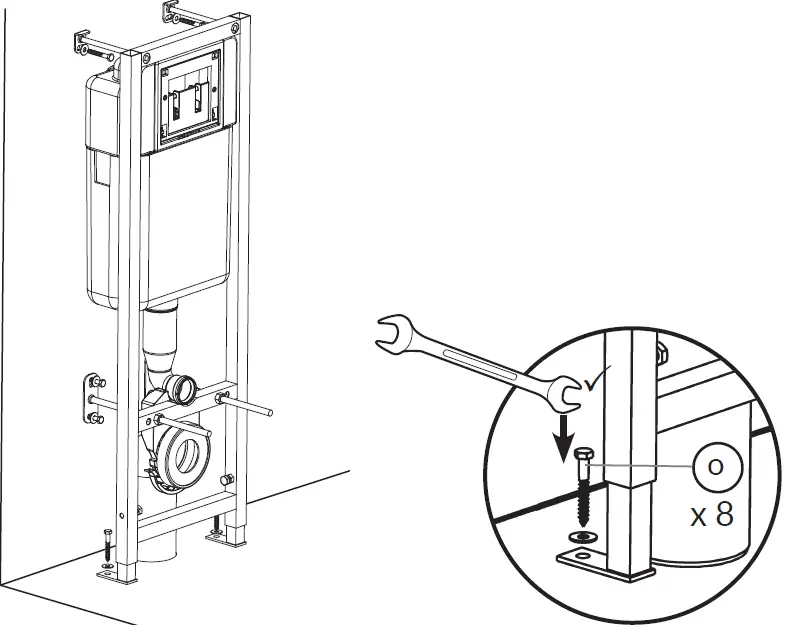
Mounting

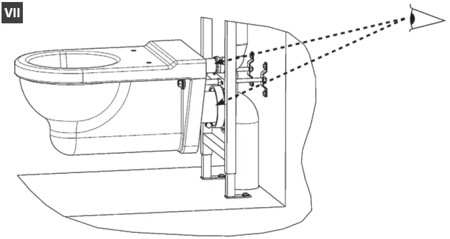
I = 147mm ~ 245mm
II = 16mm ~ 100mm
III = ≤ 185mm
IV = 400mm ~ 480mm
V = 1100mm ~ 1300mm



































I = 147mm ~ 245mm
II = 16mm ~ 100mm
III = ≤ 185mm
IV = 400mm ~ 480mm
V = 1100mm ~ 1300mm






























Download manual
Here you can download full pdf version of manual, it may contain additional safety instructions, warranty information, FCC rules, etc.