logitech Connect Conference Cam Webcam User Guide
PRODUCT OVERVIEW

- Main unit with camera and speakerphone
- pemote control
- Power cable and regional plugs
- USB Cable
- User documentation
KNOW YOUR PRODUCT

- Camera, 1080p and 90-degree FOV
- Camera LED
- Tilt wheel for tilting camera lens
- Microphones
- Volume Up
- Mute
- Volume down
- Battery indicator
- Speakerphone
- Speakerphone/Battery LED
- Pan and Tilt
- Zoom In
- Zoom Out
- End Call
- Make/Answer Call
- Microphone
- NFC
- Kensington Lock
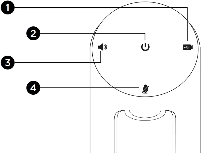
- USB connector
- Power

- Video Conferencing mode
- Power On/Off button
- Bluetooth® mode
- Mute

SETUP YOUR PRODUCT
- Plug Connect to external power. Although Connect comes with rechargeable battery, it must first be plugged into external power and charged till the green battery light displays.
Note: The device can also be charged through USB on your PC or Mac (charging times may vary.)
- Press and hold power On/Off button to turn on the device. A sound will play and the device LEDs will light for 2-3 seconds, with the last used mode LED staying lit when on.

- Select the following modes and follow the instructions to get started.

- Video Conferencing Mode:
- Connect the USB cable to the device and to your USBport.
- To start a call from your PC or Mac application, select Video Conferencing Mode on Connect. The camera and speakerphone LEDs will flash to show that connection is taking place, and when completed, the camera LED will light steady for a few seconds and the speakerphone will play a sound. If these activities do not take place, try again and then consult Troubleshooting or call technical support.
- Ensure that Connect is selected as the default video and audio device in your OS settings and in your conferencing application. Start your video or audio call from your application. The LEDs on the camera and speakerphone will alight when streaming.
- Bluetooth Mode
To pair Connect speakerphone to your mobile device:- Select Bluetooth mode on the Connect.
- If your device is NFC enabled, touch the mobile device to the NFC icon on the speakerphone, which should enable Bluetooth acceptance on the mobile device, or hold down the Bluetooth button until the LED on the speakerphone starts blinking blue rapidly.
- On your mobile device, go to settings and turn on Bluetooth to connect. The Connect will also play a sound to acknowledge connection.
USE YOUR PRODUCT
Video
- Starting the video: The video is controlled by the application and will start once the camera is selected and the video is started in the application. Camera LED will light when the video is streaming.
- Pan, tilt and zoom the camera using the controls on the remote control. Press once for incremental or press and hold for continuous pan or tilt. You can also pan and tilt the camera image – first zoom in, and then pan the image or tilt the image. You may also tilt the actual camera with the tilt wheel on the unit. Do not manually try to tilt camera itself. Doing so may damage unit.
- Saving pan, tilt and zoom settings: An optional application is available which includes a software interface to control camera settings. These can be saved so your camera settings remain next time you turn on the unit. You may download the software from www.logitech.com/support/connect
Audio
- Volume: Volume Up and Down adjusts volume.
- Mute: Mute audio with Mute button.
- Calling: Run video conferencing software. Answer picks up call. Hang up ends call. For call waiting, select hang up to reject second call or answer button to toggle between calls
Note: Answer and Hang up buttons may not work in some applications. Use video conferencing software to answer and end call. - Speaker Phone Activity light indications
Blue: Connect is in active call. Blinking Blue: Call is being received or Bluetooth is in pairing mode.
Bluetooth: to pair Connect speakerphone to your mobile device for speakerphone broadcast of call:
- If your device is NFC enabled, touch the mobile device to the NFC icon on the speakerphone, which should enable Bluetooth acceptance on the mobile device OR.
- Press the Bluetooth button on the speakerphone until connection is made to the mobile device.
Battery Light Indicator
- When the battery is fully charged, the battery light turns green. The green turns off when the power dips below 75%.
- When the battery has 25% power left, a red battery light will alight continuously steady, indicating that the device needs to be plugged into external power very soon.
- When the battery has 10% power left, the red battery light will blink, indicating that the device will no longer operate unless plugged into external power immediately, and a sound will also play once.
- The Connect battery indicator will blink green when the unit is being charged.
- When the device is completely charged, the LED will turn off until the device is unplugged from external power and running on battery.
- When the remote is docked the speakerphone indicator will represent the same sequence.
© 2018 Logitech, Logi and the Logitech Logo are trademarks or registered trademarks of Logitech Europe S.A. and/or its affiliates in the U.S. and other countries. All other trademarks are the property of their respective owners. Logitech assumes no responsibility for any errors that may appear in this manual. Information contained herein is subject to change without notice.
WEB-621-000878.003

























