IQLOCKDOWN High Strength Smart Lock for Commercial Applications
Installation Guide

IQLOCKDOWN High Strength Smart Lock for Commercial Applications
For the most current and comprehensive manual please visit the QR code.
http://qolsys.com/IQ-Lockdown-install/
**Notice – the included install template in the box should be used as a guide. Once holes are marked, place the unit over the guide holes to ensure proper alignment prior to drilling any door or frame**
PLACE DSK HERE
Important Safety Instructions
Explanation of Attention Words and Symbols used in this guide
This is the safety alert symbol. It is used to alert you to potential personal injury hazards. Obey all safety messages that follow this symbol to avoid possible injury or death.
WARNING: WARNING indicates a hazardous situation which, if not avoided, could result in death or serious injury.
CAUTION: CAUTION, used with the safety alert symbol, indicates a hazardous situation which, if not avoided, could result in minor or moderate injury.
CAUTION: CAUTION, used without the safety alert symbol, indicates a hazardous situation which, if not avoided, could result in harm to yourself and others.
NOTICE: NOTICE is used to address safe-use practices not related to personal injury.
WARNING:
IQ Lockdown will not prevent someone from accessing your home, business, or commercial facility via other means.
IQ Lockdown will not prevent someone from getting through your door if they use special tools.
IQ Lockdown is designed as a lock to prevent a closed door from being forced open when blunt forced is used against the middle section of the door near the outside door handle. Any other entry attempt does not fall under the product definition or purpose of IQ Lockdown. For instance, a person who uses a special tool to remove the door or any elements of the door or attempts to cross the barrier of the door through an opening does not fall under the defined use of IQ Lockdown.
If you experienced a breach attempt with IQ Lockdown installed we recommend that you replace your IQ Lockdown.
Do not attempt to disassemble unit or remove components that are not explicitly stated in the installation manual.
Do not press down on the thumb press and locking gate at the same time.
Owner is responsible for providing alternative access to the building in the event of fire, potential smoke inhalation, carbon dioxide event, or other emergency not listed explicitly here.
Owner is responsible to ensure proper fit and correct installation.
Owner is responsible for safety of themselves and others. If you are unsure if this product is right for you, please consult our Help Team at [email protected] or other security professional.
CAUTION:
Use caution when installing IQ Lockdown on a doorway during installation and use.
Owner is responsible for reading and following the operating and safety instructions as well as proper use of the lock. Wear appropriate protective items during installation to avoid injury.
Do not install near live electrical cords. Ensure installation area is free of wires, cables, pipes, and other objects that may cause hazards.
Use only the tools referenced in the installation guide. Use of other tools or not following installation instructions may result in improper installation and decreased functionality.
Owner is responsible for proper use and avoidance of IQ Lockdown as a bump hazard.
Install IQ Lockdown on solid core, commercial doors only. Installation on hollow core doors will severely degrade the lock’s capabilities and is not recommended.
Owner is responsible for ensuring the unit is clean for full functionality and capabilities.
CAUTION:
Owner is responsible for providing access to the building or commercial facility. Owner is responsible for ensuring alternate access into the building when needed.
Owner is responsible for maintaining control of permissions, access control, and accountability of any key fob or credentialed device that has been shared with the lock.
The unit is designed to act as a deterrent, but should still be used in conjunction with other safety measures. The unit is intended as supplementary security for use in conjunction with current lock hardware.
Johnson Controls is not liable for any personal injuries, property damage, economic loss or any consequential damages sustained as a result of any individual that comes into contact with the lock or attempts to breach it.
Do not consume any area of the unit.
Do not put the unit near sensitive bodily areas.
Do not place fingers near the center locking gate or bracketing hardware while the lock is being used. Severe injury to fingers could result from getting caught between the locking gate and bracket.
NOTICE
To avoid damage to the unit, do not use on wet surfaces or damp locations. The product is designed for indoor use only. Do not expose to weather elements as this may affect functionality.
To avoid potential damage to your unit, do not simulate a breach. Damage to the unit may affect later functionality.
Owner is responsible for ensuring unit is operating properly. Johnson Controls expressly disclaims all guarantees, whether implied or expressed, to include but not limited to fitness or merchantability for a particular purpose.
REGULATORY INFORMATION: UL 60950-1, UL 294, UL-10C, CAN/ULC S104

20 Minute – 45 Minute Rating
Test Standard: UL 10C, NFPA 252, CAN/ULC S104
Guardian Fire Testing Laboratories Inc.
ISO 17020, 17025, 17065
Firetesting.com
It is recommended that the product shall be installed in accordance with the applicable requirements in NFPA 101 (chapters 14, 15), NFPA 80, IBC/IFC, NFPA 72 and the Authority Having Jurisdiction (AHJ).
This device complies with part 15 of the FCC Rules. Operation is subject to the following two conditions:
- This device may not cause harmful interference, and
- This device must accept any interference received, including interference that may cause undesired operation.
Regulatory Note: SGS has evaluated and certified this product for safety under UL 294, 7th Ed. Jan. 31, 2018, UL 60950-1, 2nd Ed., Rev. May 9, 2019, CAN/CSA C22.2 No. 60950-1-07, as a commercial locking device. Utilize SGS reference number 800596 and SGSNA/20/SUW/00006 for additional information related to this standard.
RF Exposure: This device is currently SAR exempt.
RF Communication: The installer shall performan an RF communication verification before finalizing the location of the lock to ensure proper signal strength is received from the compatible control panel using Z-Wave communication.
Safety Notes: Ensure that the provided wall charger adapter and wire accessory cable are used to charge the device as necessary. Utilizing anything other than provided could cause a shock or hazard rendering the device inoperable as well as potential injury.
WARNING: Changes or modifications which are not expressly approved by Johnson Controls could void the user’s authority to operate the equipment.
This device contains licence-exempt transmitter(s)/receiver(s) that comply with Innovation, Science and Economic Development Canada’s licence-exempt RSS(s). Operation is subject to the following two conditions:
- This device may not cause interference.
- This device must accept any interference, including interference that may cause undesired operation of the device.
This system has been evaluated for RF Exposure per RSS-102 and is in compliance with the limits specified by Health Canada Safety Code 6. The system must be installed at a minimum separation distance from the antenna to a general bystander of 20cm to maintain compliance with the General Population limits.
WARRANTY INFORMATION
For the most updated manual, warranty information, terms, and conditions please visit the QR Code below.
http://qolsys.com/IQ-Lockdown-install/
Safety instructions
Read the safety information before you install the equipment.
Important This equipment must be installed by a skilled person only. As killed person is an installer with appropriate tec hnic a I tra ining. The installer must be aware of potential hazards during installation and measures available to minimize risks to the installer and other people.
Before you install this equipment, disconnect all power sourc es (for example mains, battery, and telephone line) connected to the alarm panel. Install the equip-ment indoors in a non-hazardous environment where the following conditions are met:
Pollution degree – Maximum 2
Over voltages – Category II
Internal wiring must be routed to prevent strain on wire and terminal connections, loose terminal connections, and damage to conductor insulation. Instruct the user that there are no user serviceable parts in this equipment. All equipment must be serviced by a skilled person.
Limited Warranty
Digital Security Controls (“DSC”), a division ofTyco Safety Products Canada Ltd, a part ofthe Johnson Controls group of companies (“JCI”), warrants the original purchaser that fora period of twelve months from the date ofpur-chase, the product shall be flee of defects in materials and workmanship under nonnal use. During the warranty period, JCI shall, at its option, repair or replace any defective product upon return ofthe product to its factory, at no charge for labour and materials. Any replacement and/or repaired parts are warranted for the remainder ofthe original warranty or ninety (90) days, whichever is longer. The original purchaser must promptly notify JCI in writing that there is defect in material or workmanship, such written notice to be received in all events prior to expiration ofthe wananty period. There is absolutely no warranty on software and all software products are sold as a user license under the terms of the software license agreement included with the product. The Customer assumes all responsibility for the proper selection, installation, operation and maintenance ofany products purchased from JCI . Custom products are only wananted to the extent that they do not function upon delivery. In such cases, J CI can replace or credit at its option.
International Warranty
The wananty for international customers is the same as for any customer within Canada and the United States, with the exception that JCI shall not be responsible for any customs fees, taxes, or VAT that may be due.
Warranty Procedure
To obtain service under this wananty, please return the item(s) in question to the point ofpur-chase. All authorized distributors and dealers have a wananty program. Anyone returning goods to JCI must first obtain an authorization num-ber. J CI will not accept any shipment whatsoever for which prior authorization has not been obtained.
Conditions to Void Warranty
This wananty applies only to defects in parts and workmanship relating to normal use. It does not cover
- damage incurred in s hipping or handling;
- damage caused by disaster such as fue, flood, wind, earthquake or lightning;
- damage due to causes beyond the control ofJC I such as excessive voltage, mechanical shock or water damage;
- damage caused by unauthorized attachment, alterations, modifications or foreign objects;
- damage caused by peripherals (unless such peripherals were supplied by JCL);
- defects caused by failure to provide a suitable installation environment for the products;
- damage caused by use of the products for imposes other than those for which it was designed;
- damage from improper maintenance;
- damage axis ing out of any other abuse, mishandling or improper application of the products .
Items Not Covered by Warranty
In addition to the items which void the Wananty, the following items shall not be covered by Wananty: (i) fieight cost to the repair centre; (n) products which are not identified with JCrs product label and lot number or serial number, (iii) products disassembled or repaired in such a manner as to adversely affect performance or prevent adequate inspection or testing to verify any wananty claim. Access cards or tags returned for replacerrent under wananty will be cred-ited or replaced at JCrs option. Products not coveted by this warranty, or otherwise out ofwananty due to age, misuse, or damage shall be evaluated, and a repair estimate shall be provided. No repair wok will be perfomred until a valid purchase order is received from the Customer and a Return Merchandise Authorization number (RMA) is issued by JCrs Customer Service.
JCrs ]liability brill= to repair the product under this wananty after a reasonable number of atrempts will be limited to a replacement ofthe product, as the exclusive remedy for breach ofwananty. Under no circumstances shall JCI be liable for any special, incidental, or consequential damages based upon breach ofwananty, breach ofcontract negligence, strict liability, or any other legal theory. Such damages include, but are not limited to, loss ofprofits, loss of the product or any associated equipment, cost ofcapital, cost ofsubstitute or replacement equipment, facilities or services, down time, purchaser’s time, the claims ofthird patties, including customers, and injury to property. The laws of s ome jurisdictions limit or do not allow the disclaimer of consequential damages. Ifthe laws of s uch a jurisdiction apply to any claim by or against JCI, the limitations and disclaimers contained hem shall be to the greatest extent pemitted by law. Some states do not allow the exclusion or limitation ofincidental or consequential damages, so that the above may not apply to you.
Disclaimer of Warranties
This wananty contains the entire warranty and shall be in lieu of any and all other wananties , whether expressed or implied (including all implied warranties of merchantability or fitness fora particular wipes e) and of all other oblig-ations or liabilities on the part ofJCL JCI neither assumes responsibility for, nor authorizes any other person purporting to act on its behalfto modify orb change this wananty, nor to assume hit any otherwananty or liability con-cerning this product. This disclaimer ofwananties and limited warranty are governed by the laws of the province ofOntario, Canada.
Warning: JCI recom m ends that the entire system be completely tested on a regular basis. However, despite frequent testing and due to, but rick lim ited to, criminal tampering or electrical disruption, it is possible for this product to fail lo perform as expected.
Out of Warranty Repairs
JCI will at its option repair or replace out-of-wananty products which are returned to its factory according to the following conditions. Anyone returning goods to JCI must first obtain an authorization number. JCI will not accept any ship-ment whatsoever for which prior authorization has not been obtained.
Products which JCI determines to be repairable will be repaired and returned. A set fee which JCI has predetermined and which may be revised from time to time, will be charged breach unit repaired.
Products which JCI detentes not to be repairable will be replaced by the nearest equivalent product available at that time. The current market price of the replacement product will be charged breach replacement unit.
WARNING – READ CAREFULLY
Note to Installers
This warning contains vital information. As the only individual in contact with system users, it is your responsibility to bring each item in this warning to the attention of the users of this system.
System Failures
This system has been carefully designed to be as effective as possible. There are circumstances, however, involving fire, burglary, or other types of emergencies where it may not provide protection. Any alarm system of any type may be compromised deliberately or may fail to operate as expected for a variety of reasons. Some but not all of these reasons may be:
Inadequate Installation
A security system must be installed properly in order to provide adequate protection. Every installation should be evaluated by a security professional to ensure that all access points and areas are covered. Locks and latches on win-dows and doors must be secure and operate as intended. Windows, doors, walls, ceilings and other building materials must be ofsufficient strength and construction to provide the level ofprotection expected. A reevaluation must be done during and after any construction activity. An evaluation by the fire and/or police department is highly recommended if this service is available.
Criminal Knowledge
This system contains security features which were known to be effective at the time of manufacture. It is possible for persons with criminal intent to develop techniques which reduce the effectiveness of these features. It is important that a security system be reviewed periodically to ensure that its features remain effective and that it be updated or replaced if it is found that it does not provide the protection expected.
Access by Intruders
Intruders may enter through an unprotected access point, circumvent a sensing device, evade detection by moving through an area of ins ufficient coverage, disconnect a warning device, or interfere with orprevent the proper operation of the system.
Power Failure
Control units, intrusion detectors, smoke detectors and many other security devices require an adequate power supply ix proper operation. If a device operates from batteries, it is possible for the batteries to fail. Even ifthe batteries have not failed, they must be charged, in good condition and installed correctly. If a device operates only by AC power, any interruption, however Inet will render that device inoperative while it does not have power. Power inter-ruptions ofany length are often accompanied by voltage fluctuations which may damage electronic equipment such as a security system After a power intenuption has occurred, immediately conduct a complete system test to ensure that the system operates as intended.
Failure of Replaceable Batteries
Failure of Replaceable Batteries This system’s wireless transmitters have been designed to provide several years ofbattery life under normal conditions. The expected battery life is a function ofthe device environment, usage and type. Ambient conditions such as high humidity, high or low temperatures, or large temperature fluctuations may reduce the expected battery life. While each transmitting device has a low battery monitor which identifies when the batteries need to be replaced, this mon-itor may ail to operate as expected. Regular testing and maintenance will keep the system in good operating condition.
Compromise of Radio Frequency (Wireless) Devices
Signals may not mach the receiver under all circumstances which could include metal objects placed on or near the radio path or deliberate jamming or other inadvertent radio signal interference.
System Users
A user may not be able to operate a panic or emergency switch possibly due to permanent or temporary physical disability, inability to reach the device in time, or unfamiliarity with the conect operation. It is important that all system users be trained in the conect operation of the alarm system and that they know how to respond when the system indicates an alarm.
Smoke Detectors
Smoke detectors that are a part ofthis system may not properly alert occupants ofa fire fora number ofteasons, some of which follow. The smoke detectors may have been improperly installed or pos itioned. Smoke may not be able to reach the smoke detectors, such as when the fire is in a chimney, walls or roofs, or on the other side ofclosed doors. Smoke detectors may not detect smoke from fires on another level of the residence or building.
Every fire is different in the amount of s moke produced and the rate of burning. Smoke detectors cannot sense all types of fires equally well. Smoke detectors may not provide timely waning offires caused by carelessness or safety hazards such as smoking in bed, violent explosions, escaping gas, improper storage °flammable materials, overloaded electrical circuits, children playing with matches or arson.
Even ifthe smoke detector operates as intended, there may be circumstances when there is insufficient wanting to allow all occupants to escape in time to avoid injury or death.
Motion Detectors
Motion detectors can only detect motion within the designated areas as shown in their respective installation instructions. They cannot discriminate between intruders and intended occupants. Motion detectors do not provide volu-metric area protection. They have multiple beams ofdetection and motion can only be detected in unobstructed areas covered by these beams. They cannot detect motion which occurs behind walls, ceilings, floor, closed doors, glass partitions, glass doors or windows. Any type of tampering whether intentional or unintentional such as masking, painting, or spraying ofany material on the lenses, minors, windows or any other part ofthe detection system will impair its proper operation.
Passive inflated motion detectors operate by sensing changes in temperature. However their effectiveness can be reduced when the ambient temperature rises near or above body temperature or ifthere are intentional or unintentional sources ofheat in or near the detection area. Some ofthese heat sources could be heaters, radiators, stoves, barbeques, fireplaces, sunlight, steam vents, lighting and so on.
Warning Devices
Warning devices such as sirens, bells, horns, or strobes may not wan people or waken someone sleeping ifthere is an intervening wall or door. If waming devices are located on a different level of the residence orpremise, then it is less likely that the occupants will be alerted or awakened. Audible warning devices may be interfered with by other noise sources such as stereos, radios, televisions, air conditioner or other appliances, or passing traffic. Audible waning devices, however loud, may not be heard by a hearing-impaired person.
Telephone Lines
Iftelephone lines are used to transmit alarms, they may be out of service or busy for certain periods of time. Also an intmder may cut the telephone line or defeat its operation by more sophisticated means which may be difficult to detect
Insufficient Time
Them may be circumstances when the system will open as intended, yet the occupants will not be protected from the emergency due to their inability to respond to the warnings in a timely manner. If the system is monitored, the response may not occur in time to protect the occupants or their belongings.
Component Failure
Although every effort has been made to make this system as reliable as possible, the system may fall to function as intended due to the allure ofa component
Inadequate Testing
Most problems that would prevent an alarm system from operating as intended can be found by regulartesting and maintenance. The complete system should be tested weekly and immediately after a break-in, an attempted break-in, a fire, a storm, an earthquake, an accident, or any kind ofconstruction activity inside or outside the premises. The testing should include all sensing devices, keypads, consoles, alarm indicating devices and any other operational devices that are part ofthe system.
Security and Insurance
Regardless of its capabilities, an alarm system is not a substitute forproperty or life insurance. An alanu system also is not a substitute forpmperty owners, renters, or other occupants to act prudently to prevent orminimize the hannfid effects ofan emergency situation.
End-user license agreement
IMPORTANT -READ CAREFULLY
DSC Software purchased with or without Products and Components is copyrighted and is purchased under the following license terms:
- This End-User License Agreement (‘EULA”) is a legal agreement between You (the company, individual or entity who acquired the Software and any related Hardware) and Digital Security Controls, a division of Tyco Safety Products Canada Ltd., a part of Johnson Controls group of companies elcr), the manufacturer ofthe integrated security systems and the developer ofthe software and any related products or components (`HARDWARE”) which You acquired.
- If the JCI software product (“SOFTWARE PRODUCT” or”SOFT WARE”) is intended to be accompanied by HARDWARE, and is NOT accompanied by new HARDWARE, You may not use, copy or install the SOFTWARE PRODUCT. The SOFTWARE PRODUCT includes computer software, and may include associated media, printed materials, and “online” or electronic documentation.
- Any software provided along with the SOFTWARE PRODUCT that is associated with a separate end-us er license agreement is licensed to You under the terms ofthat license agreement.
- By Stalling copying, downloading, storing, accessing or otherwise using the SOFT WARE PRODUCT, You agree unconditionally to be bound by the tens ofthis EULA, even ifthis EULA is deemed to be a modification of any previous anangement or contract If You do not agree to the terms ofthis EULA, DSC is unwilling to license the SOFTWARE PRODUCT to You, and You have no right to use it
SOFTWARE PRODUCT LICENSE
The SOFTWARE PRODUCT is protected by copyright laws and international copyright treaties, as well as other intellectual property laws and treaties. The SOFTWARE PRODUCT is licensed, not sold.
- GRANT OF LICENSE This EULA giants You the blowing rights:
• Software Installation and Use -For each license You acquire, You may have only one copy of the SOFTWARE PRODUCT installed.
• Storage/Networic Use -The SOFTWARE PRODUC Tmay not be Stalled, accessed, displayed, run, shared or used concurrently on or from different computers, including a workstation, temrinal or other digital electronic device (“Device”). In other words, if You have several workstations, You will have to acquire a license breach workstation where the SOFTWAREwill be used.
• Backup Copy – You may make back-up copies ofthe SOFTWARE PRODUCT, but You may only have one copy per license installed at any given time. You may use the back-up copy solely for archival purposes. Except as expressly provided in this EULA, You may not otherwise make copies ofthe SOFTWARE PRODUCT, including the printed materials accompanying the SOFTWARE - DESCRIPTION OF OTHER RIGHTS AND LIMITATIONS
• Limitations on Reverse Engineering, Decompilation and Disassembly – You may not reverse engineer, decompile, or disassemble the SOFTWAREPRODUCT, except and only to the extent that such activity is expressly permitted by applicable law notwithstanding this limitation. You may not make any changes or modifications to the Software, without the written per of an officer of DSC. You may not remove any proprietary notices, marks or labels from the Software Product. You shall institute reasonable measures to ensure compliance with the terms and conditions ofthis EULA.
• Separation ofComponents -The SOFTWARE PRODUCT is licensed as a single product. Its component parts may not be separated for use on more than one HARDWARE unit.
• Single INTEGRATED PRODUCT- ff You acquired this SOFTWAREwith HARDWARE, then the SOFTWARE PRODUC T is licensed with the HARDWARE as a single integrated product. In this case, the SOFTWARE PRODUCT may only be used with the HARDWARE as set forth in this EULA.
• Rental – You may not rent, lease or lend the SOFTWARE PRODUCT. You may not make it available to others or post it on a server or web site.
• Software Product Transfer-You may transfer all of Your rights under this EULA only as part of a pennanent sale or transfer of the HARDWARE provided You retain no copies, You trans kr all of the SOFTWARE PRODUCT (rnclud-ing all component parts, the media and printed materials, any upgrades and this EULA), and provided the recipient agrees to the terms of this EUIA. If the SOFTWARE PRODUCT is an upgrade, any transfer must also include all prior versions of the SOFTWARE PRODUCT.
• Termination – Without prejudice to any other rights, DSC may terminate this EULA if You fail to comply with the terms and conditions ofthis EULA. In such event, You must destroy all copies ofthe SOFTWARE PRODUCT and all of its component parts.
• Trademarks -This EULA does not grant You any rights in connection with any trademarks or service maths of DSC or its suppliers. - COPYRIGHT – All title and intellectual property rights in and to the SOFTWARE PRODUCT (including but not limited to any images, photographs, and text incorporated into the SOFTWARE PRODUCT), the accompanying prin-ted materials, and any copies of the SOFTWARE PRODUCT, are owned by DSC or its suppliers. You may not copy the printed materials accompanying the SOFTWARE PRODUCT. All title and intellectual property rights in and to the content which may be accessed through use ofthe SOFTWARE PRODUCT are the property ofthe respective content owner and may be protected by applicable copyright or other intellectual property laws and treaties. This EULA grants You no lights to use such content. All rights not expressly granted under this EULA are reserved by DSC and its suppliers.
- EXPORT RESTRICTIONS -You agree that You will not export or re-export the SOFTWARE PRODUCT to any country, person, or entity subject to Canadian export restrictions.
- CHOICE OF LAW – This Software License Agreement is governed by the laws of the Province of Ontario, Canada.
- ARBITRATION -All disputes arising in connection with this Agreement shall be determined by final and binding arbitration in accordance with the Arbitration Act, and the parties agree to be bound by the arbitrator’s decision. The place of arbitration shall be Toronto, Canada, and the installation manual of the arbitration shall be English.
- LIMITED WARRANTY
• NO WARRANTY – DSC PROVIDES THE SOFTWARE “AS IS” WITHOUT WARRANTY. DSC DOES NOT WARRANT THAT THE SOFTWARE WWL MEET YOUR REQUIREMENTS OR THAT OPERATION OF THE SOFTWAREWILLBEUNINTERRUPTED OR ERROR FREE.
• CHANGES IN OPERATING ENVIRONMENT -DSC shall not be responsible for problems caused by changes in the operating characteristics of the HARDWARE, or for problems in the interaction of the SOFTWARE PRODUCT with non-DSC SOFTWARE OR HARDWARE PRODUC TS.
• LIMITATION OF LIABILITY; WARRANTY REFLECTS ALLOCATION OF RISK -IN ANY EVENT, IF ANY STATUTE IMPLIES WARRANTIES OR CONDITIONS NOT STATED IN THIS LICENSE AGREEM ENT, DSC’S ENTIRE LIABILITY UNDER ANY PROVISION OF THIS LICENSE AGREEM ENT SHALL BE LIMITED TO THE GREATER OF THE AM OUNT ACTUALLY PAID BY YOU TO LICENSE THE SOFTWARE PRODUCTAND FIVE CANADIAN DOLLARS (CAD$5.00). BECAUSE SOME JURISDICTIONS DO NOT ALLOW THE EXCLUSION OR LIMITATION OF LIABILITY FOR CONSEQUENTIAL OR INCIDENTAL DAMAGES, THE ABOVE LIMITATION MAY NOT APPLY TO YOU.
• DISC TAIM ER OF WARRANTIES -THIS WARRANTY CONTAINS THEE TIRE WARRANTY AND SHALLBEIN LIEU OF ANY AND ALL OTHER WARRANTIES, WHETHER EXPRESSED OR IMPLIED (INCLUDING ALL IMPLIED WARRANTIES OF MERCHANTABILITY OR FITNESS FOR A PARTICULAR PURPOSE) AND OF ALL OTHER OBLIGATIONS OR LIABILITIES ON THE PART OF DSC. DSC MAKES NO OTHER WARRANTIES. DSC NEITHER ASSUMES NOR AUTHORM ANY OTHER PERSON PURPORTING 10 ACTON ITS BEHALF TO MODIFY OR 10 CHANGE MIS WARRANTY, NOR TO ASSUMEFOR IT ANY OTHER WARRANTY OR LIABILITY CONCERNING THIS SOFTWAREPRODUCT.
• EXCLUSIVE REM EDY AND LIMITATION OF WARRANTY -UNDER NO CIRCUMSTANCES SHALL DSC BE LIAB LE FOR ANY SPECIAL, INCIDENTAL, CONSEQUENTIAL OR INDIRECTDAMAGES BASED UPON BREACH OF WARRANTY, BREACH OF CONTRACT, NEGLIGENCE, STRICT LIAB ILITY, OR ANY OTHER LEGAL THEORY. SUCH DAMAGES INCLUDE, BUT ARE NOT LIM TIED TO, LOSS OF PROF IS, LOSS OF THE SOFTWARE PRODUCT OR ANY ASSOCIATED EQUIPMENT, COST OF CAPITAL, COST OF SUB sunnE OR REPLACEMENT EQUIPMENT, FACII/IIES OR SERVICES, DOWN TIME, PURCHASERS TIME, THE CLAIMS OF THIRD PARTIES, INCLUDING CUSTOMERS, AND INJURY TO PROPERTY.
WARNING: DSC recommends that the entire system be completely tested on a regular basis. However, despite llequent testing, and due to, but not limited to, criminal tampering or electrical dismption, it is possible for this SOFTWAREPRODUCTto fail to perform as expected.
Trademark
The trademarks, logos, and service marks displayed on this document are registered in the United States [or other countries]. Any misuse ofthe trademarks is strictly prohibited and Johnson Controls (JCI) will aggressively enforce its intellectual property tights to the fullest extent ofthe law, including pursuit of criminal prosecution wherever necessary. All trademarks not owned by JCI are the property of their respective owners, and are used with permission or allowed under applicable laws.
Product offerings and specifications are subject to change without notice. Actual products may vary fromphotos. Not all products include all feattnes. Availability varies by region; contact your sales representative. © 2022 Johnson Controls. Al rights reserved. Johnson Controls, Tyco and DSC are trademarks and/or registered trademarks. Unauthorized use is strictly prohibited.
Tech support: 1-900-3630 (Canada and U.S), or 1-905-760-3036 (International)
BATTERY INFORMATION & DISPOSAL
Correct disposal of this product: This symbol indicates that this product must not be disposed of with household waste, according to the WEEE Directive (2012/19/EU) and your national law. This product should be taken to a collection center licensed for the recycling of waste electrical and electrical equipment (EEE). The mishandling of this type of waste could have possible negative impact on the environment and human health due to potentially hazardous substances that are generally associated with EEE. At the same time, your cooperation in the correct disposal of this product will contribute to the efficient use of natural resources. For more information about where you can take your waste equipment for recycling, please contact your local city office, or your household waste collection service
BATTERY SPECIFICATIONS
This product uses a single cell Lithium-Ion or Lithium Polymer battery that is installed in the product at the time of manufacturing and cannot be removed or replaced. The battery is rated for 3.7V and has a 5200 mAh capacity.
CAUTION
RISK OF EXPLOSION IF BATTERY IS REPLACED BY AN INCORRECT TYPE.
DISPOSE OF USED BATTERIES ACCORDING TO THE INSTRUCTIONS.![]()
INSTALLING YOUR IQ Lockdown
Included Items:
Power Adapter
120v AC USB Adapter for use with included charging cable

Charging Cable
USB Charging cable used to charge your IQ Lockdown

Control Panel (inside of shell enclosure under shelf)

*NOTE*
Mounting Hardware, Bracket, & Plate Cover Hardware is listed on the install diagram along with included assembly components, bolts, and tools required
- Charging
Push the Reset button (R) through the pinhole to wake the unit from shipping mode. Plug the included charging cable (USB end) into the included power adapter. Open the Haven / IQ Lockdown Control Panel cover (C) and plug the charging cable into the Charging Port (D). The status indicator LED will flash Yellow every 2.5 seconds when charging. Each lock comes with greater than a 30% charge. You may want to allow IQ Lockdown to fully charge 6-8 hours before use. - Cycling the Lock
Cycling the lock a minimum of 10 times prior to installation ensures that the nylon straps inside the lock are properly stretched and calibrated. During shipment parts can settle and this cycling allows the parts to “stretch” and maximize their effectiveness. A “cycle” is simply locking and unlocking the lock via the hand press (F) and lock gate (E). Cycling the lock via the app a minimum of 5 times helps ensure the servo motor is properly engaged and ready for use. - Include in Z-WAVE Network
Push the Pairing button (B) to start the inclusion process. See “Network Inclusion/Exculsion” in the Z-WAVE section for more details. After inclusion, cycle the lock via the mobile app or customer site a minimum of 5 times to ensure proper opertion and servo cycling. Refer to installation manuals for compatible panels for details on how to connect and control IQ Lockdown from these panels. The following are the recommended compatible panels: DSC Power Series NEO, Power Series PRO, Qolsys IQPanel2, IQHub, and IQPanel4. - Preparation for Hardwre Installation
In order to mount the lock to a standard 2’ commercial frame and door you need to check several things. First confirm the door is either an in-swing or an outward swinging door. This will dictate the bracket that you use. Second confirm that the frame is a 2” and/or can accept the bracket and configuration. Third, confirm that the door is either solid core or a metal door that is in good condition. Check pages 10 and 11 for further installation steps and instructions. - Connect Hardwire Accessories
Your lock may come with a wire harness (G) protruding from the control panel. This wiring harness is used for connecting an accessory to the lock. Before you proceed to hardwiring any accessory please follow the instructions on the hardwire accessory installation page.
Z-WAVE OPERATION
IQ Lockdown with Z-Wave Plus
This product can be operated in any Z-WAVE network with other Z-WAVE certified devices from other manufacturers. All mains operated nodes within network will act as repeaters regardless of vendor to increase reliability of the network.
Button Functions
There are two buttons on the IQ Lockdown device. A small button (hereinafter referred to as Reset button ) that is accessed via a small hole and pressed with a paperclip or similar object, and a larger button (Hereinafter referred to as Pairing button ) that may be operated with a finger press.
Pairing button is used for network inclusion, network exclusion, and defaulting and removing the IQ Lockdown from the network (Device Reset Locally Command Class). Reset button is used to perform a microprocessor reset.
- Reset microprocessor: Tap Reset button (with paperclip).
- Default settings and remove from network: Hold Pairing button until Red LED comes on and then release (about 10 seconds). Please use this procedure only when the network primary controller is missing or otherwise inoperable.
- When controller is in Add or Remove mode, tapping the Pairing button will remove the node if it’s included in the network or add the node if it’s not. This assumes SmartStart is not being used to add the node. Details on inclusion/exclusion below.
Network Inclusion/Exclusion
The device can be included in the Z-WAVE network using S0 or S2 Access Control security. Inclusion can be via standard inclusion, NWI (Network Wide Inclusion) or SmartStart:
- If the Device Specific Key has been added to the controller’s provisioning list, it will be added automatically added to the network within 5 minutes.
- Setting your controller to include mode (standard or NWI) and momentarily pressing the Pairing button will add the IQ Lockdown to the network. If the controller supports S2 security, you will be prompted to enter the first 5 digits of the DSK to complete the authentication, known as the Pin Code.
- The device can be removed from a network by setting the controller to exclude mode (standard or NWE) and momentarily pressing the Pairing button. The device can also be removed by pressing and holding the Pairing until the Red LED Illuminates and then releasing. This will initiate the Device Reset Locally Command Class. The device will be removed and all parameters will be reset to default. Please use this procedure only when the network primary controller is missing or othwerwise inoperable. controller is missing or otherwise inoperable.
Network Inclusion/Exclusion continued
- SmartStart-enabled products can be added into a Z-WAVE network by scanning the Z-WAVE QR Code present on the product with a controller providing SmartStart inclusion. No further action is required and the StartStart product will be added automatically within 10 minutes of being switched on in the network vicinity.
- Locate the DSK via the QR code label under the IQ Lockdown electronics hood adjacent to the buttons and LEDs. If the controller supports S2 security, you will be prompted to enter the first 5 digits of the DSK to complete the authentication, known as the Pin Code.
Z-WAVE Lock Operation
- To Lock: Sending command class = COMMAND_CLASS_DOOR_LOCK, command =
DOOR_LOCK_OPERATION_SET, mode = 0xFF (DOOR_SECURED) or BASIC_SET value 0xFF will raise the gate. Notification Type Access Control, Event 0x03 (RF lock operation) is sent to the Lifeline and then one second later, a Door Lock Operation Report is sent to the Lifeline. - To Unlock: Sending command class = COMMAND_CLASS_DOOR_LOCK, command =
DOOR_LOCK_OPERATION_SET, mode = 0x00 (DOOR_UNSECURED) or BASIC_SET value 0x00 will lower the gate. Notification Type Access Control, Event 0x04 (RF unlock operation) is sent to the Lifeline and then one second later, a Door Lock Operation Report is sent to the Lifeline.
Manual Lock Operation Reports
- If the gate is raised manually, Notification Type Access Control, Event 0x01 (Manual lock operation) is sent to the Lifeline then one second later, a Door Lock Operation Report is sent to the Lifeline.
- If the gate is lowered manually, Notification Type Access Control, Event 0x02 (Manual unlock operation) is sent to the Lifeline and then one second later, a Door Lock Operation Report is sent to the Lifeline.
Sleep/Shipping Mode
You can put the IQ Lockdown completely to sleep for shipping or long term storage. This operation clears memory and resets all network inclusions. You will need to re-include the device once woken up.
Deep Sleep Mode: Press and hold the reset button (with paperclip). While holding the reset button press and hold the pairing button. Release the reset button first. Then release the pairing button. If successful, you can press the pairing button or toggle the gate and should not see or hear LED or chirp activity.
Wakeup: Wake the unit from deep sleep by pressing the reset button (with paperclip).
Battery State and Charging
Battery state is checked upon startup and Battery CC V2 report is sent to the Lifeline Group. Battery is then checked every 5 minutes. A battery report is also sent every 24 hours. Indications and operation are as follows:
- If battery falls below 25%, Battery report is sent to the Lifeline. One second later, Notification CC sends Power Management (0x08) event “Charge battery soon” (0x0E).
- If battery falls below 10%, Battery report is sent to the Lifeline. One second later, Notification CC sends Power Management (0x08) event “Charge battery now” (0x0F). At this point, the gate will no longer raise but can still be lowered.
- When charger is plugged in, Battery report is sent to the Lifeline. One second later, Notification CC sends Power Management (0x08) event “Battery is charging” (0x0C). Yellow LED flashes every 2.5 seconds.
- When charge is complete, Battery report is sent to the Lifeline. One second later, Notification CC sends Power Management (0x08) event “Battery is fully charged” (0x0D).
Battery CC V2 support extended information in the Battery Report and can be queried at any time with the Battery Get command. Additional information about the battery can be retrieved with the Battery Health Get command.
Quick Test Mode
Sometimes it’s helpful to make sure your lock in functioning properly using our quick test mode. To enter quick test mode press the pairing button three times in steady succession. The LED will flash blue and green, the unit will chirp, and it will go into a state of constantly flashing blue. Once in this mode, you can press the pairing button to control the gate. Avoid toggling the gate any faster than once every 4 seconds. To get out of Quick Test Mode reset the unit using the reset button (with paperclip). Test mode times out after 1 minute.
Association Groups
Supports 1 group (#1, Lifeline) with up to 5 nodes. Command classes reported to the Lifeline:
- NOTIFICATION_REPORT
- BATTERY_REPORT
- DEVICE_RESET_LOCALLY
- INDICATOR_REPORT
- DOOR_LOCK_OPERATION_REPORT
Command Class List (Security: None)
| Name | Version |
| COMMAND_CLASS_ZWAVEPLUS_INFO | 2 |
| COMMAND_CLASS_TRANSPORT_SERVICE | 2 |
| COMMAND_CLASS_SECURITY | 1 |
| COMMAND_CLASS_SECURITY_2 | 2 |
| COMMAND_CLASS_SUPERVISION | 1 |
Command Class List (Security: S0 or Access Control)
| Name | Version |
| COMMAND_CLASS_VERSION | 3 |
| COMMAND_CLASS_MANUFACTURER_SPECIFIC | 2 |
| COMMAND_CLASS_DEVICE_RESET_LOCALLY | 1 |
| COMMAND_CLASS_INDICATOR | 3 |
| COMMAND_CLASS_POWERLEVEL | 1 |
| COMMAND_CLASS_BATTERY | 2 |
| COMMAND_CLASS_NOTIFICATION | 8 |
| COMMAND_CLASS_DOOR_LOCK | 4 |
| COMMAND_CLASS_CONFIGURATION | 4 |
| COMMAND_CLASS_ASSOCIATION | 2 |
| COMMAND_CLASS_MULTI_CHANNEL_ASSOCIATION | 3 |
| COMMAND_CLASS_ASSOCIATION_GRP_INFO | 3 |
| COMMAND_CLASS_FIRMWARE_UPDATE_MD | 5 |
Notification Command Class
All notifications are sent unsolicited.
| Type (Value) | Notification Name | Value |
| Access Control (0x06) | Manual lock operation | 0x01 |
| Manual unlock operation | 0x02 | |
| RF lock operation | 0x03 | |
| RF unlock operation | 0x04 | |
| Lock jammed | 0x0B | |
| Home Security (0x07) | Impact detected | 0x0A |
| Power Management (0x08) | Power has been applied | 0x01 |
| Battery is charging | 0x0C | |
| Battery is full charged | 0x0D | |
| Charge battery soon | 0x0E | |
| Charge battery now | 0x0F |
Configuration Parameters
Parameter 0x01:
Name: Heartbeat LED interval
Description: Heartbeat (magenta) LED flash rate in seconds. Set to zero to disable.
Default: 0x00 (disabled)
Min: 0x00 (disabled)
Max: 0x3C (60 seconds)
Parameter 0x02:
Name: Gate Operation Minimum Battery Level%
Description: m battery level at which the gate will activate.
Default: 0x0A (10%)
Min: 0x00 (0%)
Max: 0x32 (50%)
Parameter 0x03:
Name: Transient Debounce
Description: Impact detect parameter. Do not adjust unless advised by IQ Lockdown.
Default: 0x02
Min: 0x01
Max: 0x0A
Parameter 0x04:
Name: Transient Threshold
Description: Impact detect parameter. Do not adjust unless advised by IQ Lockdown.
Default: 0x06
Min: 0x02
Max: 0x12
Parameter 0xCD:
Name: Lockdown Z vs. Connect Z Product
Description: This parameter distinguishes the firmware between the Residential Haven Connect Z and the Commercial IQ Lockdown. For Lockdown, this parameter should be set to 0x02. Residential is 0x01. This parameter drives the product ID reported to Z-wave controllers and enables/disables the capability of wired control inputs often used in commercial installations.
Default: 0x02
Lockdown ID: 0x02
Residential ID: 0x01
Impact Detection
The impact detection function uses an accelerometer that is tuned using parameters 3 and 4 set in the Configuration Command Class. When the gate is up and transient threshold (parameter 4) is exceeded, a Home Security (0x07)
Notification, event type Impact Detected (0x0A) is sent to the Lifeline. In addition, the system sends a Door Lock Operation Report and Access Control Notification to communicate locked status.
Glossary
NWI – Network Wide Inclusion
NWE – Network Wide Exclusion
S2 – Z-WAVE Security Version 2
S0 – Z-WAVE Security Version 1
DSK – Device Specific Key. This is unique to every Z-WAVE S2 device
LED AND SOUNDS
| 3 Yellow, 1 Chirp | Gate closed successfully |
| 3 Green, 2 Chirps | Gate opened successfully |
| Alternating Green/Red | Gate did not move to commanded position |
| Blue every second | Device has entered include/exclude mode |
| Solid Red | If Pairing button is held for 10 seconds, Red LED will light and the lock will return to default settings. Use caution, this also removes it from the network. |
| Yellow Every 2.5 Seconds | Battery is charging. |
| 3 Yellow, 2 Chirp (After Reset) | Reset successful (after pressing reset button) |
| 3 Yellow, 1 Chirp (Security notification) | Unit is locked and detects an impact |
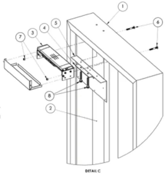
OUTWARD-SWINGING DOOR CONFIGURATION
HAVEN LOCKDOWN INSTALLATION INSTRUCTION
- FROM PACKAGING REMOVE UNIVERSAL MOUNTING BRACKETS (X2) AND SCREWS (X4) FROM LOCKDOWON UNIT. ITEM ③ FUP BRACKETS 180 DEGREES FROM SHIPPING ORENTATION AND REINSTALL. REFER TO DETIL VIEW D.
- FOLD CREASE IN DRILL TEMPLATE, ITEM ⑤ ALONG INDICATED LINE FOR TOP OF FRAME STOP.
- CORNER TEMPLATE. ITEM ⑤ WITH FRAME STOP ON DOOR FRAME, ITEM ① AND ALIGN WITH EDGE.
- TAPE TEMPLATE. ITEM ⑤, TO DOOR FREW, ITEM ①.
- USING THE ⅜ DIA DRILL BIT, DRIL BLIND HOLES (X1) A 3″ DEPTH INTO BOTTOM OF FRAM STOP ON DOOR FRAME. ①ITEM FOR INSTALLATION OF LATCH BRACKET. ITEM ④.
- USINIG THE ⅜ DRIL BIT, DRIL CLEARANCE HOLES (X2) THROUGH DOOR. ITEM ②. FOR INSTALLATION OF LOCKDOWN UNIT. ITEM ③.
- REMOVE DRILL TEMPLATE. ITEM ⑤ FROM DOORWAY
- INSTALI LATCH BRACKET. ITEM ④ WITH SCREW ANCHORS (X2). ITEM ⑧ TO BOTTOM OF FRAME STOP ON DOOR FRAME. ITEM ①. DO NOT TIGHTEN ANCHORS TO FINAL TORQUE.
- INSTALL LOCKDWON UNIT, ITEM ③, WITH SCREW ANCHOR (X2) AND HEX NUTS TO FINAL TORQUE.
- PAIR TO LOCKDWON UNIT, ITEM ③, AND TEST FITMENT OF LOCKDWON UNIT WITH LATCH BRACKET, ITEM ④.
- TIGHTEN SCREW ANCHORS (X2) AND HEX NUT (X2). ITEM ⑧ AND ⑦ TO FINAL TORQUE.
- FIT COVER TO LOCKDWON UNIT, ITEM ③, AND TIGHTEN SCREWS (X2).

TOOLS REQUIRED FOR INSTALLATION:
- MASKING TAPE
- BATTERY PACK DRIL & IMPACT
- ⅜” DIA Χ 4″ Χ 6″ MULTI-PURPOSE DRIL BIT
- ⅜” SQUARE DRIVE TO ¼ HEX ADAPTER
- ⅜” DRIVE RACHET
- ⅜” DRIVE 9/16″ SOCKET
- ⅜” DRIVE 7/16″ SOCKET

***NOTICE***
THE HAVEN LOCKDWON SYSTEM AND SUPPLIED LATCH BRACKET HARDWARE, ITEM , IS DESIGNED TO BE INSTALLED ON TO A STANDARD 2″ DOOR FRAME BAVKED WITH POURED CONCRETE. IF ATTEMPTONG TO INSTALL ONTO HOLLOW DOOR FRAME OLEASE USE THE HOLLOW DOOR FRAME HARDWARE *may be sold separatly
| ITEM NO | DESCRIPTION | QTY |
| 1 | DOOR FRAME | 1 |
| 2 | DOOR FRAME | 1 |
| 3 | HAVEN LOCKDWON | 1 |
| 4 | LATCH OUTSWING | 1 |
| 5 | TEMOLATE HAVEN LOCKDWON | 1 |
| 6 | CARRIAGE BOLT 3/8″- 16 X 2-1/2″ | 2 |
| 7 | HEX NUT, 3/8″ 16 | 2 |
| 8 | SCREW ANCHOR, 3/8″ X 3″ | 2 |
Hollow Door Frame Hardware Kit Non-Concrete Filled Install Instructions
To install the bracket to a non-concrete filled steel door frame we suggest using ¼” heavy duty toggle anchors.
Kit includes:
Two ¼ Heavy Duty Flip Toggle
Two ¼ x 1.5 inch hex head bolts 7/16 socket washers
Tools needed:
Drill with ½ steel bit
Two ¼ fender
Instead of drilling a 3/8 inch pilot hole, as indicated in the concrete frame filled instructions, you will need to drill a ½ inch hole. Feed the toggle bracket through the lock bracket first, then through the hole in the frame, one side at a time.
Be sure the LockDown Bracket is lined up as described in the install template instructions and tighten bolts.
IN-SWINGING DOOR CONFIGURATION
HAVEN LOCKDOWN INSTALLATION INSTRUCTION
- ALIGN TEMPLATE, ITEM ⑤ WITH INNER EDGE OF DOOR FRAME ITEM ①.
- TAPE TEMPLATE ITEM ⑤ , TO DOOR FRAME, ITEM ①.
- USING THE 3/8 DRILL BIT. DRILL BLIND HOLES (X2) TO A 3″ DEPTH INTO DOOR FRAME. ITEM ① , FOR INSTALLATION OF LATCH BRACKET. ITEM ④.
- USING THE 3/8 DRILL BIT, DRILL CLEARANCE HOLES (X2) THROUGH DOOR, ITEM ②. FOR INSTALLATION OF LOCKDOWN UNIT ③.
- REMOVE DRILL TEMPLATE. ITEM ⑤, FROM DOORWAY.
- INSTALL LATCH BRACKET. ITEM ④. WITH SCREW ANCHORS (X2), ITEM ⑧, TO DOOR FRAME, ITEM ANCHORS TO FINAL TORQUE.
- INSTALL LOCKDOWN UNIT. ITEM ③, WITH CARRIAGE BOLTS (X2), AND HEX NUTS (X2). ITEMS ⑥ AND ⑦, TO DOOR, ITEM ②. DO NOT TIGHTEN NUTS TO FINAL TORQUE.
- PAIR TO LOCKDWON UNIT, ITEM ③, AND TEST FITMENT OF LOCKDWON UNIT WITH LATCH BRACKET, ITEM ④.
- TIGHTEN SCREW ANCHORS (X2) AND HEX NUT (X2), ITEM ⑧ AND ⑦. TO FINAL TORQUE.
- FIT COVER TO LOCKDWON UNIT, ITEM ③, AMD TIGHTEN SCREWS (X2).

TOOLS REQUIRED FOR INSTALLATION:
- MASKING TAPE
- BATTERY PACK DRIL & IMPACT
- ⅜” DIA Χ 4″ Χ 6″ MULTI-PURPOSE DRIL BIT
- ⅜” SQUARE DRIVE TO ¼ HEX ADAPTER
- ⅜” DRIVE RACHET
- ⅜” DRIVE 9/16″ SOCKET
- ⅜” DRIVE 7/16″ SOCKET

***NOTICE***
THE HAVEN LOCKDWON SYSTEM AND SUPPLIED LATCH BRACKET HARDWARE, ITEM , IS DESIGNED TO BE INSTALLED ONTO A STANDARD 2″ DOOR FRAME BACKED WITH POURED CONCRETE. IF ATTEMPTING TO INSTALL ONTO HOLLOW DOOR FRAME, PLEASE USE THE HOLLOW DOOR FRAME HARDWARE KIT. *may be sold separately
| ITEM NO | DESCRIPTION | QTY |
| 1 | DOOR FRAME | 1 |
| 2 | DOOR FRAME | 1 |
| 3 | HAVEN LOCKDWON | 1 |
| 4 | LATCH OUTSWING | 1 |
| 5 | TEMOLATE HAVEN LOCKDWON | 1 |
| 6 | CARRIAGE BOLT 3/8″- 16 X 2-1/2″ | 2 |
| 7 | HEX NUT, 3/8″ 16 | 2 |
| 8 | SCREW ANCHOR, 3/8″ X 3″ | 2 |
Hollow Door Frame Hardware Kit Non-Concrete Filled Install Instructions
To install the bracket to a non-concrete filled steel door frame we suggest using ¼” heavy duty toggle anchors.
Kit includes:
Two ¼ Heavy Duty Flip Toggle
Two ¼ x 1.5 inch hex head bolts 7/16 socket washers
Tools needed:
Drill with ½ steel bit
Two ¼ fender
Instead of drilling a 3/8 inch pilot hole, as indicated in the concrete frame filled instructions, you will need to drill a ½ inch hole. Feed the toggle bracket through the lock bracket first, then through the hole in the frame, one side at a time.
Be sure the LockDown Bracket is lined up as described in the install template instructions and tighten bolts.
HARDWIRE ACCESSORY INSTALLATION

IQ Lockdown is equipped with optional wired control capability to support accessories, such as egress, emergency lock (panic), motion sense and others. Each IQ Lockdown includes a pre-wired green egress button that can be detached at (W). The wiring harness is capable of being rewired to other commerically available periperhals. The wiring harness contains five conductors:
| Conductor | Color | Description |
| Lock | (Brown) | Short this conductor to gnd/common to toggle the unit to the locked position |
| Unlock | (White) | Short this conductor to gnd/common to toggle the unit to the unlocked position |
| Gnd/common | (Blue) | Momentarily connect to Lock/Unlock for wired control |
| Gnd/common | (Black) | Momentarily connect to Lock/Unlock for wired control. Two conductors are provided for installation convenience of multiple accessories. |
| +3.3V | (Gray) | Power line connected to the 3.3V regulator in the lock. In battery operation, it is recommended to only use IQ Lockdown-approved accessories. In hard-wired power applications, it is less important to ensure a tight power budget for accessories. |
- Lock and Unlock control inputs are designed for passive normally-open momentary-closed switches. Switch the control input (either Lock or Unlock) to gnd/common to control the lock state, and the lock responds on the leading edge of the connection.
- NOTE: If Lock or Unlock is unused, it is recommended to connect the unused wire to ground to stabilize the unused floating input.
- WARNING: Be careful to ensure the +3.3V connection can never be shorted to gnd/common at any time. This will significantly affect battery life.
- Possible accessories for this application include a panic button, egress button, and motion sensor. Instructions for wiring each device will be further detailed in that accessory manual. It is possible to include your own wall switches and accessories, but contact support to ensure compatibility.
Setup
- Remove Lockdown cover to access the inside of the unit.
- Ensure the female side of the wiring harness and connector (W) has proper strain relief (X). A cable tie, or equivalent, is adequate.
- Install the grommet (Y) into one of the holes in the enclosure on the left or right side of the unit.
NOTE: The backside of lockdown against the door is open-faced. So, it is possible to run wire into and through the door (if supported) for a clean installation. - Thread the wiring harness (Z) through your installed grommet before any accessory connection.
- Use proper conduit and flex joints across the door hinges to securely route the wire to your accessory mounting location.
- If you need to lengthen the cable consider these options.
• Cut the harness (Z) to a few inches past the male connector (W) and splice in your own wiring cables inside the lockdown unit. There is room for an approved electrical terminal block and/or small enclosure, if necessary. DO NOT cut the female side of the wiring harness before the connector (W). This ensures that you have the option to update the wiring harness in the future by replacing the male side of the harness (Z).
• Wire the harness (Z) out of the lockdown enclosure as normal. Splice your own cable inside your own electrical box or inside one of the accessories, which often have room enough for wire splicing. - Strip the necessary wires of the harness according to the wiring diagram of the accessory.
- Connect the accessory to the proper wires, ensuring a strong connection.
- Install strain relief inside the accessory as needed.
- Double check your wiring harness from inside the unit to the accessory(ies).
- After all other connections have been made, complete the connection at connector (W) by pushing together the keyed connector and screwing down the threaded lock-nut for a solid mechanical connection.
- Test all accessories
- Replace the lockdown cover.
GENERAL NOTES ON IQ Lockdown
Z-WAVE Range
IQ Lockdown uses Z-Wave wireless technology to communicate to its control devices like the Smartphone App, and Hub. Z-WAVE has a theoretical range of 100m (328 ft), but that is all dependent on the environment. If any object is between the controller and the lock, the effective range of the Z-WAVE signal will drop. When you use Z-WAVE, you should assume the effective range is 50 meters (160 ft.)
Layered Security
The IQ Lockdown is a layered security device. We advise customers to use IQ Lockdown as a supplemental layer in their security. Relying on a single device or component will lessen the security of your school or business. IQ Lockdown should be part of a larger security system. It is not a total solution. We suggest using video cameras, motion sensors, alarm monitoring, and vibration sensors.
Personal Security
IQ Lockdown only works as well as its user. Taking personal responsibility for your own safety is very important to make IQ Lockdown work for you. Our product can’t prevent you from sending a guest pass to the wrong person. IQ Lockdown can’t prevent your phone from being stolen and cannot keep your password secure. Being proactive and responsible is the best way to protect you and your facility.
DISCLAIMER
Use of this guide at your own risk. HavenLock Inc and its parent or partner companies are not liable for any damages to property or bodily injuries that occur during or after installation. HavenLock Inc assumes no responsibility in providing the correct tools and accessories needed for installation unless otherwise noted. Use proper protective gear when completing the steps detailed in this guide. This guide is simply suggestive and not in any way authoritative. Always use your own best judgment. Incorrect installation or lack of safety precautions can lead to serious injury or death for you or anyone around the installation area. If you are not comfortable installing IQ Lockdown, we advise you to seek out a professional skilled worker with construction experience to assist you.
TROUBLESHOOTING
Below are some common issues you might encounter while installing or operating your IQ Lockdown. If you do not see your issue below, contact us at [email protected].
If the unit fails to lock/unlock you will need to check the straps and screws nearest the servo motor. Make sure your nylon strap is not bunched up within the unit. Manually open the locking gate and pull/tug on the open gate to stretch or flex the nylon straps. They could be kinked up in the gate or one strap could be too tight and need to be loosened. You can also take off the gate cover and pull the straps with your fingers. This usually evens out the nylon and allows the servo motor to reach its locked position. Alternatively, also make sure that the screw closest to the servo motor is not too tight. Sometimes if the screw closest to the servo (the left side of the unit when it is facing the door) is overtightened, the servo can fail to lift when you attempt to lock it via the smartphone app or key fob. If the unit bows in the wingtips, it is a good indication you over tightened the lock.
Below are some common issues you might encounter while installing or operating your IQ Lockdown Z. If you do not see your issue below, contact us at [email protected].
IQ Lockdown Issues
| IQ Lockdown will not turn on or no indication of power. | Try resetting the device with the pin hole reset button. This action also generates an LED flash and beep. Make sure you have fully charged the unit ( Note: Backup batteries are no longer required for IQ Lockdown). Simply, toggle the gate manually. You should see an LED flash and a beep. If none of this works, please contact us at [email protected]. |
| IQ Lockdown will not fit my door or is not compatible with my frame. | Be sure to visit our detailed installation guide at https://install.havenlock.com that will walk you through various scenarios involving uncommon door situations. In most cases this fixes the situation, but if you still need help, contact support. |
| How do I turn IQ Lockdown off? | HAVEN is designed to be “always on” so that it is ready to receive commands from your Z-WAVE network. It automatically uses sleep and low-power modes to achieve long built-in battery life. |
| I can’t get the thumb press to work. | The thumb press is designed to be pressed by an adult to prevent false locking by children. Pulling straight down on the thumb press will activate the locking gate. |
| I need to reset my IQ Lockdown. Can I perform a factory reset? | See Z-WAVE operation section for more details. Please use this procedure only when the network primary controller is missing or otherwise in-op. |
| Pairing troubleshooting | 1. The blue light should be flashing once per second when the device is in discovery mode. 2. If you controller supports “Smart Start” use that. 3. If you controllers asks about security choose “S2” if it is supported. Otherwise it can use “S0” if needed. 4. Placing the unit in “Sleep/Shipping Mode” (see manual) wipes the pairing from the unit. However, only do this if your controller will not exclude your device through the normal means. 5. Not all Z-Wave controllers are certified or their certification has lapsed. Please check our supported devices at havenlock.com. You can search a product’s certification status here –https://products.z-wavealliance.org/ |
| Can I use the Haven App on IQ Lockdown? | No, IQ Lockdown requires a Z-Wave controller (not provided by Haven) to work properly. In many cases, those controller platforms have mobile apps and other integrations that can operate IQ Lockdown, once connected. |
| What if I lose my DSK (Digital Security Key) | This is your unique security key for your lock. Haven will never ask for your security key. Although haven makes no representation that we will be able to restore your security key, contact support and we will do our best effort to discover the key. |
IMPORTANT SAFEGUARDS
| Charge low batteries immediately. Long life internal rechargeable LiPo battery. Main battery lasts up to 2 years on a single charge under normal use. Charge via USB cable. | |
| Protect your password. You are responsible for your own security. IQ Lockdown is not a replacement for personal responsibility. Do not share your password with anyone you do not trust or know well. To be safe, do not share it with anyone. | |
| Who is getting access? See the Z-WAVE provisioning steps. | |
| Make sure to turn on notifications in your Zwave controller app as well as your smartphone settings. This will help you keep track of any changes that occur to your IQ Lockdown. |
The Z-Wave™ word mark and logos are registered trademarks owned by Silicon Laboratories, Inc. and its subsidiaries and any use of such marks by HavenLock, Inc is under license. Other trademarks and trade names are those of their respective owners.
Manufactured by HavenLock Inc. for Johnson Controls
Nashville, TN
Patent Protected: European
Patent Number: 3,194,692;
Issued: China; U.S.A.
Patent: 10,669,758/10,851,568
Johnson Controls – The Smarter, Stronger Way to STOP An Active Threat
Need help? Contact us at [email protected]






















