
#YourGearUpgraded
EGMA-EPM1
Wall Mount
for Echo and Echo Plus
INSTRUCTION MANUAL

What’s in the Box


Grab Your Tools


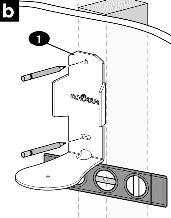
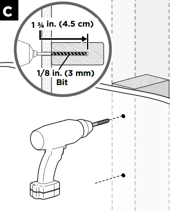
INSTALL THE WALL PLATE
Drywall Only Installation





CAUTION: Avoid damage to the base. DO NOT overtighten the screws.
Wood Stud Installation





CAUTION: Avoid damage to the base. DO NOT overtighten the screws.
INSTALL YOUR ECHO
Option 1
Option 2

Echo Plus

Echo

Legrand AV Inc.
6436 City West Parkway
Eden Prairie, MN 55344 USA
P: 1-855-428-2490
[email protected]
ECHOGEAR.com
Legrand AV Netherlands B.V.
Franklinstraat 14 6003 DK Weert, Netherlands
P: +44 (0) 800 0568188
[email protected]
ECHOGEAR.com
Legrand Australia
Unit 20 / 33 Meakin Road
Meadowbrook QLD 4131, Australia
P: +61 (0) 7 3299 7000
ECHOGEAR.com
Legrand AV Inc. and its affiliated corporations and subsidiaries (collectively, “Legrand”), intend to make this manual accurate and complete. However, Legrand makes no claim that the information contained herein covers all details, conditions, or variations. Nor does it provide for every possible contingency in connection with the installation or use of this product. The information contained in this document is subject to change without notice or obligation of any kind. Legrand makes no representation or warranty, expressed or implied, regarding the information contained herein. Legrand assumes no responsibility for the accuracy, completeness, or sufficiency of the information contained in this document.
©2019 Legrand AV Inc. All Rights Reserved. ECHOGEAR is a Legrand AV Inc. brand and a registered trademark owned by Legrand. Made in China.
Legrand AV Inc. • 6436 City West Parkway • Eden Prairie, MN 55344 USA



















