Mini-Com Furniture Faceplate
for use with Knoll Furniture
Part Numbers: CFFPE3**
INSTALLATION INSTRUCTIONS
CFFPE3**
Knoll Morrison Furniture Faceplate
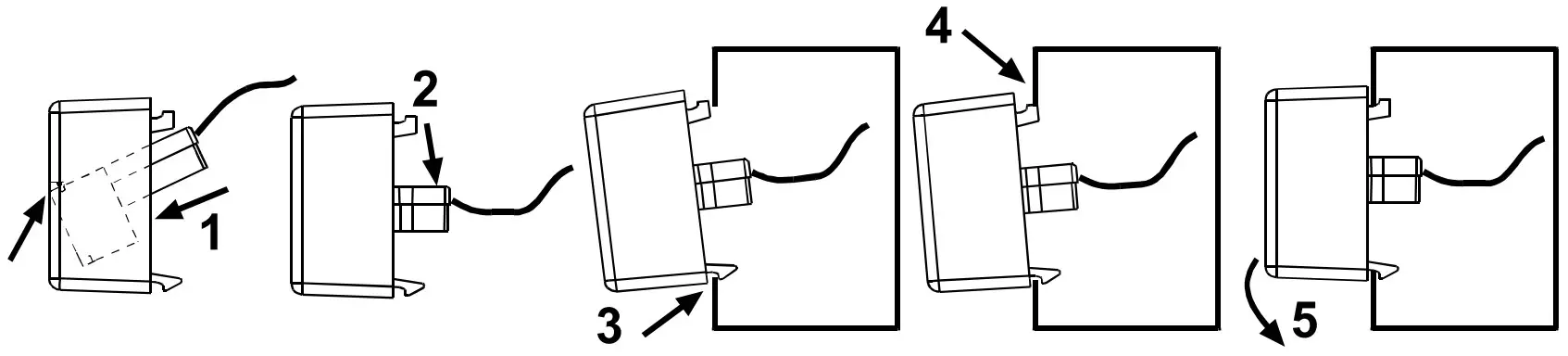
INSTALLATION

REMOVAL

** Denotes Color
For Instructions in Local Languages and Technical Support: www.panduit.com/resources/install_maintain.asp
© Panduit Corp. 2022
www.panduit.com
E-mail: [email protected]
Phone: (866) 405-6654
Rev. 03



















