PANDUIT NK4MFBL NetKey Four Module Keystone Furniture Faceplate

INSTALLATION INSTRUCTIONS

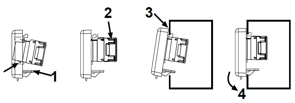
INSTALLATION
(Modules shown ordered separately)

REMOVAL

- denotes color
For Instructions in Local Languages and Technical Support: www.panduit.com/resources/install_maintain.asp
- www.panduit.com
- E-mail: [email protected]
- Phone: 866-405-6654
















