118750-01
2021-04
Facet S
INSTALLATION INSTRUCTIONS
Facet kitchen hood
SAFETY INSTRUCTIONS
Please read this installation and user guide carefully before install- ling and using the product, paying special attention to the safety instructions.
Save these instructions for later use or for the party who may take over the product after you. Disconnect the product from the power supply prior to cleaning or maintenance.
- Diversion of exhaust air must be carried out in accordance with instructions issued by the appropriate authority.
- Exhaust air must not be directed into flues that are used for fumes from items such as gas, wood, or oil-burning stoves or fireplaces
- The distance between the stove and the product must be at least 44 cm. For gas hobs, the distance should be increased to 65 cm. Adjust accordingly if the gas hobs manufacturer recommends a higher mounting height. N.B. If the product has a stove alarm or stove guard, it must not be mounted over a gas hob. See separate instructions.
- You must not flambé food underneath the product.
- For safety reasons, the installation and replacement of cables or other types of connectors should only be carried out by a qualified professional.
- If the product is to be used at the same time as products that use energy sources other than electricity, i.e., gas hobs, gas, wood, or oil-burning stoves or fireplaces, etc, the room must have an adequate supply of air.
- The product may be used by children from 8 years of age and persons with mental, sensory, or physical impairment, or a lack of experience and knowledge, provided they are given information about how the product is to be used.
- Children should not be allowed to play with the product. Children must not undertake cleaning or maintenance of the product unsupervised.
- Accessible parts of the product may become hot when food is being prepared.
- A fire is more likely to spread if the product is not cleaned as frequently as indicated.
N.B. The developer or proprietor is responsible for ensuring installation is carried out correctly and complies with the applicable building regulations.c
INSTRUCTIONS FOR USE
GENERAL INFORMATION
The product features LED lighting (6.5 W), aluminum filters and the Easy Clean system.
FUNCTIONS
Fig. 1
The central fan always operates in standard mode for general and sanitary ventilation.
A. Lighting.
B. Increased general and sanitary ventilation.
The central fan runs at top speed.
Returns to basic ventilation after 60 minutes.
C. Open damper. Central fan – speed 1.
D. Open damper. Central fan – speed 2.
E. Open damper. Central fan – speed 3.
F. 1. Extension of timer (+ 30 minutes).
Can be activated when one of the buttons BE is activated. Then switches to the remaining time for activated mode.
2. Filter monitor. If the filter monitor is activated (see Programming below), the LED will flash when the filter needs to be cleaned. After cleaning, press and hold button F for 2 seconds to reset the system.
The damper closes automatically after 60 minutes and the central fan returns to standard mode.
It can also be returned to the standard mode by pressing the activating button one more time. It is a good idea to have the damper open a short while before and after cooking to prevent cooking smells from spreading into the room.
The product is fitted with a filter monitor. To activate/deactivate the filter monitor, see below.
Programming
- Start programming: press and hold but- tons A and B for 3 seconds so that they both flash 3 times. The programming mode will then be active for 30 seconds.
- Select function: press the button for the selected function to activate/deactivate the function.
Button Functions F Filter monitor The LED on the button lights up when the function is activated.
- To save a program: press and hold buttons A and B for 3 seconds. Buttons A and B will flash twice to show that the programme has been saved.
Attention!
If the product has a stove alarm or stove guard, see separate instructions.
CARE AND MAINTENANCE
Cleaning the filter
The cooker hood should be cleaned with a damp cloth and washing-up liquid. With normal usage, the filters must be cleaned at least every other month. Clean more often after intensive use.
Remove the grease filter by opening the snap retainer, Fig. 2.
Handle the filter carefully, taking care not to bend it.
Soak the filter in a solution of warm water and washing-up liquid. The filter can also be washed in a dishwasher.
Refit the grease filter after cleaning, making sure it snaps firmly into place.
Cleaning other parts
The inside of the cooker hood and the damper must be cleaned at least twice a year. The damper must be thoroughly cleaned in both its open and closed position using a damp cloth and washing-up liquid. Handle the damper carefully.
SERVICING AND WARRANTY
TROUBLESHOOTING
Check that the fuse is intact. Go through all the functions to check what is not working. Start by disconnecting the product from the power supply and switching it on again. Check that the connector is not bent or twisted at the connection point.
Attention!
If the product has a stove alarm or stove guard, use the separate instructions for troubleshooting.
COMPLAINTS
Before contacting the vendor, check the designation label and note down the Flexit part number, S/N number, and manufacturing date of the product. The designation label is located on the left side, underneath the filter/underplate. The right of complaint is subject to the directions in the instructions having been followed. For this product, the right of complaint is subject to the conditions of the applicable sale, provided that the product has been used and maintained correctly. The right of the complaint can be forfeited in the event of misuse or gross neglect in the maintenance of the product. Complaints due to incorrect or inadequate installation should be directed to the company responsible for installation. Filters are consumables. Our products undergo continuous development and we, therefore, reserve the right to make modifications. Errors and omissions excepted.
ENVIRONMENT
The main raw materials used in the products are:
- Metals: stainless sheet metal, galvanized sheet metal, spelter, aluminum
- Plastics: polypropylene, polyamide, polycarbonate, polybutylene terephthalate (PBT)
- Glass
All components comply with the RoHS Directive.
PACKAGING AND PRODUCT RECYCLING
The packaging should be deposited at your nearest recycling point.
The symbol means that the product must not be treated as household waste. It should instead be taken to a collection point for the recycling of electrical and electronic components. By ensuring that the product is dealt with in the correct manner, you are helping to prevent the adverse environmental and health effects that could arise if the product was disposed of as regular waste. For further information on recycling, contact your local authority or waste disposal service, or the store where you purchased your product.
ELEKTRISK INSTALLATION
OBS!
In order to avoid a potential hazard, installation, replacement of cables or other types of connection should be carried out by a qualifi ed professional.
Electrical connection for 230 V~ earthed. Max. connection power 300 W at 230 V.
The output voltage from transformers 60, 80,100, 130, 145, and 180 V. At delivery 80 and 130 V are connected.
The connection must be secured and the cooker hood must be preceded by an omnipolar switch.
The junction box or wall socket must be accessible after installation is complete.
If the connector is damaged, it must be replaced with an equivalent special cable from the manufacturer or their service agent.
INSTALLATION

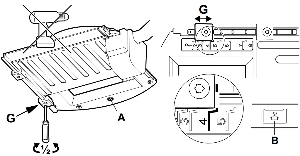
Note! Damper adjustment or speed changes must be carried out by a qualified professional.
Adjusting damper: Basic ventilation is set by moving the sliding damper. The damper becomes accessible for adjustment by removing the grease filter.
Changing voltage in the transformer: The output power for the lowest speed can be changed by reprogramming via the switch. (Contact service).
Basic ventilation
Open the damper by pressing button B. Loosen stop lug G by rotating it 180° (Torx/ star screwdriver 10). Set the stop lug to the desired position. The markings on the damper correspond to the values in the “Basic fl ow” diagram – see the following pages. The marking in the picture corresponds to position G4 in the diagram. Lock the stop lug. N.B. Make sure the lug is fully locked. Close the damper by pressing button B on the circuit breaker. Measure the pressure (Pm) at test point A to check that the fl ow is as required.
Forced ventilation
Loosen stop lug F by rotating it 180° (Torx/star screwdriver 10). Set the stop lug to the desired position. The markings on the damper correspond to the values in the “Forcing fl ow” diagram – see the following pages. The marking in the picture corresponds to position F8 in the diagram. Lock the stop lug. N.B. Make sure the lug is fully locked. Open the damper by pressing button B on the circuit breaker. Measure the pressure (Pm) at test point A to check that the fl ow is as required.
FORCED VENTILATION
Adjusting diagram
Measure valve pressure 
| K-factor | 6 | 7 | 8 | 9 | 10 | 11 | 12 |
| 2,82 | 3,59 | 4,14 | 4,50 | 4,99 | 5,50 | 6,51 |
Dimensioning diagram
Real pressure in ventilation duct 
BASIC VENTILATION
Adjusting diagram
Measure valve pressure 
| K-factor | 1 | 2 | 3 | 4 | 5 | 6 | 7 |
| 0,49 | 0,77 | 1,14 | 1,77 | 2,36 | 2,82 | 3,59 |
Dimensioning diagram
Real pressure in the ventilation duct 
991.0652.013/D000000007698/180466/2021-05-26
Flexit AS, Televeien 15, N-1870 @rje
www.flexit.no























