
HTA-25B
HYBRID INTEGRATED AMPLIFIER

Instruction Manual
Edition 12-2021
Introduction
Thank you for purchasing this TAGA Harmony amplifier. TAGA Harmony hybrid amplifier is a combination of two different techniques to create an amplifier in one device: the World of tubes and the World of transistors. TAGA Harmony HTA-25B is a 25W / 4Ω high-fidelity but still, affordable hybrid integrated amplifier utilizing four high-quality tubes (depending on the option: 2 x 6P1 i 2 x 6N1, or made in Russia 2 x 6H1N and 2 x 6N1N-EB) in the preamp section and transistors at the output. This solution ensures a very warm, linear, and lifelike sound with a high dynamic presentation at the same time. The high-class, gold-plated speaker terminals offer almost lossless audio signal transmission to the speakers.
The HTA-25B offers a variety of different connections both wired and wireless:
- 2 analog inputs with gold-plated sockets.
- USB input to quickly and easily play music from a USB flash drive (supports MP3 / WAV / WMA / AMR / APE / FLAC / OGG files).
- Bluetooth ® – to wirelessly stream music from smartphones, tablets or computers.
- PREAMPLIFIER output for external recording device or powered speakers or subwoofer.
- Headphones output for those who prefer discrete listening.
The removable IEC power cable gives an option to upgrade your system with a premium audiophile power cable in any time.
The HTA-25B combines the analog sound of tubes with the power of transistors to give the best sound at the price!
Cleaning
Do not use strong or abrasive cleaners. Use a damp, soft cloth for cleaning.
Specifications and the latest instruction manual edition
Full technical specifications and the latest edition of the instruction manual are available on www.TagaHarmony.com.
Safety Instructions
IMPORTANT
READ THIS SECTION CAREFULLY BEFORE PROCEEDING!
CAUTION
RISK ELECTRIC SHOCK
DO NOT OPEN
WARNING: TO REDUCE THE RISK OF FIRE OR ELECTRIC SHOCK, DO NOT EXPOSE THIS PRODUCT TO RAIN OR MOISTURE. DO NOT REMOVE COVER (OR BACK). NO USER-SERVICEABLE PARTS INSIDE. REFER SERVICING TO QUALIFIED SERVICE PERSONNEL.
The triangle containing a lightning symbol is intended to alert the user to the presence of uninsulated dangerous voltages within the product’s enclosure that may be of sufficient magnitude to constitute a risk of electric shock to persons.
An exclamation mark in a triangle is intended to alert the user to the presence of important operating and maintenance (servicing) instructions in the literature accompanying the appliance.
WARNING: TO REDUCE THE RISK OF FIRE OR ELECTRIC SHOCK, DO NOT EXPOSE THIS APPARATUS TO RAIN OR MOISTURE, AND OBJECTS FILLED WITH LIQUIDS, SUCH AS VASES, SHOULD NOT BE PLACED ON THIS APPARATUS.
CAUTION: TO PREVENT ELECTRIC SHOCK, FULLY AND SECURELY INSERT THE POWER CABLE PLUG INTO THE POWER OUTLET, AND THE POWER CABLE CONNECTOR INTO THE UNIT SOCKET (IF THIS UNIT IS NOT EQUIPPED WITH AN INTEGRATED [ATTACHED] POWER CORD).
CAUTION: FOR CONTINUED PROTECTION AGAINST THE RISK OF FIRE, REPLACE THE FUSE (IF THE UNIT IS EQUIPPED WITH A USER-REPLACEABLE FUSE) ONLY WITH THE SAME AMPERAGE AND VOLTAGE TYPE. IN CASE WHEN THE UNIT IS NOT EQUIPPED WITH A USER-REPLACEABLE FUSE – REFER REPLACEMENT TO QUALIFIED SERVICE PERSONNEL.
WARNING: THE UNIT MAY BECOME HOT. ALWAYS PROVIDE ADEQUATE VENTILATION TO ALLOW FOR COOLING. DO NOT PLACE THE UNIT NEAR A HEAT SOURCE, OR IN SPACES THAT CAN RESTRICT VENTILATION.
- Read Instructions – All the safety and operating instructions should be read before the product is operated.
- Retain Instructions – The safety and operating instructions should be retained for future reference.
- Heed Warnings – All warnings on the product and in the operating instructions should be adhered to.
- Follow Instructions – All operating and use instructions should be followed.
- Cleaning – Unplug this product from the power outlet before cleaning. Do not use liquid cleaners or aerosol cleaners.
- Water and Moisture – Do not use this product near water – for example, near a bathtub, washbowl, kitchen sink or laundry tub; in a wet basement; or near a swimming pool; and the like. These precautions also apply to the power cord.
- Accessories – Do not place this product on an unstable cart, stand, tripod, bracket, or table. The product may fall, causing serious injury to a child or adult and serious damage to the product. Use only with a cart, stand, tripod, bracket, or table recommended by the manufacturer or sold with the product. Any mounting of the product should follow the manufacturer’s instructions and should use a mounting accessory recommended by the manufacturer.
- Ventilation – This unit may be equipped with slots and openings in the cabinet (housing) which are provided for ventilation and to ensure reliable operation of the product and to protect it from overheating and these openings must not be blocked or covered. The openings should never be blocked by placing the product on a bed, sofa, rug, or another similar surface. This product should be not placed in a built-in installation such as a bookcase or rack unless proper ventilation is provided or the manufacturer’s instructions have been adhered to. For products equipped with a separate power supply unit, leave at least 5cm (2in.) of free space on all sides and the top of the power supply.
- Power Sources – This product should be operated only from the type of power source indicated on the marking label (placed on the product and/or, if applicable, on a separate power supply unit). If you are not sure of the type of power supply in your home, consult your product dealer or local power company. For products intended to operate from battery power or other sources, refer to the operating instructions.
- Grounding and Polarity – some units for proper operation or to take full advantage of their capabilities may require to be connected to a grounded power outlet – refer to the user manual for more information. Some units may have markings for the live (L) and neutral (N) conductors for power – in order to take full advantage of the capabilities of such products, it is recommended to properly connect the polarity according to the markings on the unit – refer to the user manual for more information. Connecting the polarity not in accordance with the markings will not affect the durability and reliability of the device.
- Power-cord Protection – Power-supply cords should be routed so that they are not likely to be walked on or pinched by items placed upon or against them, paying particular attention to cords at plugs, convenience receptacles, and the point where they exit from the product.
- Lighting – For added protection for this product during a lightning storm or when it is left unattended and unused for long periods of time, unplug it from the wall outlet and disconnect the antenna or system cables. This will prevent damage to the product due to lightning and power-line surges.
- Overloading – Do not overload wall outlets, extension cords, or integral convenience receptacles as this can result in a risk of fire or electric shock.
- Object and Liquid Entry – Never push objects of any kind into this product through openings as they may touch dangerous voltage points or short-out parts that could result in a fire or electric shock. Do not expose this apparatus to dripping or splashing and ensure that no objects filled with water, such as vases are placed on the apparatus.
- Servicing – Do not attempt to service this product yourself as opening or removing covers may expose you to dangerous voltage or other hazards. Refer all servicing to qualified service personnel.
- Damage Requiring Service – Unplug this product from the wall outlet and refer servicing to qualified personnel under the following conditions:
• when power supply cord or plug is damaged;
• if the liquid has been spilled or objects have fallen into the product;
• if the product does not operate normally by following the operating instructions. Adjust only those controls that are covered by the operating instructions as an improper adjustment of other controls may result in damage and will require extensive work by a qualified technician to restore the product to its normal operation;
• if the product has been dropped or damaged in any way;
• if the product exhibits a distinct change in performance – this indicates a need for a service. - Replacement Parts – When replacement parts are required, be sure the technician has used replacement parts specified by the manufacturer or with the same characteristics as the original part. Unauthorized substitutions may result in fire, electric shock, or other hazards.
- Safety Check – Upon completion of any service or repairs to this product, ask the service technician to perform a safety check to determine that the product is in proper operating condition.
- Wall of ceiling mounting – The product should be mounted to a wall or ceiling only as recommended by the manufacturer.
- Heat – The product should be situated away from heat sources such as radiators, heat registers, stoves, or other products (including amplifiers) that produce heat.
- [Refer to products equipped with vacuum tubes] Tube Cage or cover
– For your safety and to protect the vacuum tubes this product may be equipped with a factory-installed vacuum tube cage or cover. It is not recommended to remove the cage or cover unless it is required to change the vacuum tubes. When the cage or cover is removed
– do not touch the vacuum tubes
– they may be hot and burn the skin! - Operating Environment – Operating environment temperature and humidity of the unit: +5°C to +35°C (+41°F to +95°F); less than 85% RH (cooling slots not blocked).
Front and Rear Panel

Front Panel
- Power Switch (ON and OFF) and Power Status Indicator (around the Power Switch)
- USB Port
- Headphone 3.5 mm (1/8″) Output
- USB/Bluetooth® Knob (Play/Pause, Next/Previous)
- Input Selector (USB, CD, Bluetooth, LINE)
- USB/Bluetooth® Input Led Indicator
- Signal Level Indicator
- Treble Regulator
- Bass Regulator
- Volume Regulator
Rear Panel - CD Stereo RCA Input
- LINE Stereo RCA Input
- Preamplifier Stereo RCA Output
- Speaker Right Channel Output (Speaker Connectors)
- Speaker Left Channel Output (Speaker Connectors)
- Power Cable Input and Fuse Box
A blown fuse should be only exchanged for exactly the same type as indicated on the rear panel. The Power Cable should be disconnected!
Hooking Up Speaker Cables
The Speaker Connectors can accommodate up to 10AWG speaker cables as well as the most popular plugs (banana etc.). It is recommended to leave about 150 cm (5 feet) of extra cable at the amplifier end to facilitate positioning and installation of the amplifier. Do not use staples, nails or other metal objects to secure the cables. You will get the best sound quality and the least amount of hum by keeping the cables away from other electrical wires and cables.
Pay attention to connecting the polarity of the amplifier correctly with the speakers in each speaker group (speakers should be connected RED + with RED + amplifier connector, BLACK – with BLACK – amplifier connector).
Before connecting make sure that your amplifier is turned off. Do not let bare speaker wires touch each other or any metal part of this unit it can damage this amplifier and / or speakers. This may void your warranty.
Please refer to your speaker instruction manual for more information. Connecting speaker cables
Speaker cables have 2 conductors. Each conductor should be connected to a separate speaker connector – mind the polarity while connecting. For each conductor:
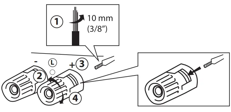
- Remove approximately 10 mm (3/8”) of insulation from the end of the conductor. Twist the bare wires firmly together.
- Loosen the speaker connector.
- Insert the bare wires of the conductor into the gap of the speaker connector.
- Tighten the speaker connector.

Connecting via banana plug
Mind the polarity while connecting.
Note! An insert hole for the banana plug in some speaker connectors may be secured with a plastic plug – make sure to remove this plastic plug before inserting the banana plug.
- Tighten the speaker connector.
- Insert the banana plug into the end of the corresponding connector.

Hooking Up the Amplifier


Hooking Up the Amplifier
- Make sure the amplifier is turned
off (the Power Switch and the Power Cable is removed from the wall outlet). - Turn the Volume Regulator to MIN (max counterclockwise).
- Using speaker cables (not supplied with this product) connect your speakers to the SPEAKERS OUT connectors located on the rear panel. Check “Hooking Up Speaker Cables” for more details.
- If you want to play music from audio source devices equipped with an analog output (CD player, satellite or FM tuner, video console, etc.): using RCA interconnect cables (not supplied with this product) connect them to the analog inputs on the rear panel (CD, LINE).
- If you want to play digital audio files connect a USB Flash Drive (no supplied with this product) to the USB Port on the front panel. Make sure that this amplifier supports the files you want to play. Check “Play from a USB Flash Drive” for more details.
- Preamplifier Output (PRE OUT): this amplifier is equipped with the preamplifier output. Using RCA interconnect cables (not supplied with this product) you can connect to it an external amplification device (power amplifier, powered speakers, active subwoofer, etc.) or a recording device (CD recorder, etc.). Check “Preamplifier Output Connection (PRE OUT)” for more details.
- If you want to listen to music via headphones: connect the headphones to the Phones output. Check “Headphones connection (PHONES)” for more details.
- If you want to stream music via Bluetooth ® from compatible devices check “Bluetooth ® Connection” for more details.
- Your amplifier is ready for operation.
Only speakers within the range of impedance 4 – 8ohm may be connected to this amplifier. Connecting speakers outside this range may damage this amplifier and/or speakers. This may void your warranty.
Operation
- Plug the Power Cable to the amplifier and into the electrical outlet.
- Turn on the amplifier – press the Power Switch (the Power Switch
). The Power Status Indicator around the Power Switch should turn on in a few seconds. If it does not, it means that the amplifier is working under an abnormal condition (a protection mode) – turn off the power, unplug the Power Cable and check whether some of the cables are not short-circuited. After fixing the cables turn the amplifier on. - Using the Input Selector knob select which audio source you want to play (corresponding to the selected input). Make sure the audio source is properly connected to the front and rear panel inputs.
- Turn on your audio source and start playback.
- Regulate volume on the amplifier to adjust the level of sound. Note! Check “Additional Information” for other useful operating instructions.
High volume levels may damage this amplifier and/or speakers. This may void your warranty.
VOLUME regulator:
Using the Volume Regulator on the front panel you can adjust the sound volume from minimum (the knob – max counterclockwise) to maximum (the knob – max clockwise).
Distortion and sound quality worsening may occur when the knob is in the maximum position. It may damage the amplifier and/or speakers. This may void your warranty.
TREBLE regulator:
You can adjust the treble output of the amplifier. The default: the knob is in the center position: the marker on the knob is in the vertical position. Turn the knob counterclockwise (-) to decrease the number of high frequencies. Turn the knob clockwise to increase the number of high frequencies (+).
BASS regulator:
You can adjust the bass output of the amplifier. The default: the knob is in the center position: the marker on the knob is in the vertical position.
Turn the knob counterclockwise (-) to decrease the number of low frequencies. Turn the knob clockwise (+) to increase the number of low frequencies (+).
Using the BASS / TREBLE regulators at high volume levels may damage this amplifier and/or speakers. This may void your warranty.
Preamplifier Output connection (PRE OUT):
This amplifier is equipped with the preamplifier output, which allows connecting amplification or recording equipment such as a power amplifier, powered speakers, active subwoofer, or a CD recorder.
The audio signal from the preamplifier of this device is directed to the PRE OUT and its level is variably controlled by the Volume Regulator.
All sound adjustments (Bass / Treble) will affect the sound transmitted to the PRE OUT.
The output to the SPEAKERS OUT is still active and it works simultaneously with the PRE-OUT.
Headphone connection (PHONES):
When headphones (not supplied with this product) are plugged to the headphone output (Phones) the transmission of sound to the speakers and PRE OUT is switched off.
The speakers and PRE OUT will be active again after you disconnect the headphones.
The volume of the headphones is regulated by the Volume Regulator.
All sound adjustments (Bass / Treble) will affect the sound transmitted to the headphones.
Listening at high volume may cause hearing damage.
Signal level indicator (VU METER):
The VU Meter displays the current signal level.
Note! The results of VU meter measurement accuracy are highly approximate and should not be taken into account for the professional assessment of the signal level.
Play from a USB Flash Drive This amplifier can play music from most USB Flash Drives and supports most MP3 / WAV / WMA / AMR / APE / FLAC / OGG audio files.
- Using the Input Selector knob select the USB input. If the USB Flash Drive is not inserted then the USB/Bluetooth ® Input Led Indicator will be flashing.
- Insert the USB Flash Drive into the USB Port located on the front panel.
- When compatible music files are detected then the playback will start automatically. In the Play mode, the USB/Bluetooth ® Input Led Indicator will be illuminated continuously. If the USB Flash Drive is empty or contains non-supported files, the USB/Bluetooth ® Input Led Indicator will start flashing.
- Press the USB/Bluetooth ® Knob ►II once to pause the playback. Press it again to resume the playback. In the Pause mode, the USB/Bluetooth ® Input Led Indicator will start flashing.
- Rotate the USB/Bluetooth ® Knob ►►I clockwise to play the next song. If the last song is detected the playback will start from the first one on the USB Flash Drive. Check “Order of file playback” for more details.
- Rotate the USB/Bluetooth ® Knob I◄◄ counterclockwise to play the previous song. If the first song is detected the playback will start from the last one on the USB Flash Drive. Check “Order of file playback” for more details.
Order of file playback:
The music files are always played in accordance with their alphabetical order on the USB Flash Drive and its folders. Usually the playback starts from the files stored directly on the USB Flash Drive (which are not placed in the folders) and then the playback is continued for the files stored in the folders according to a folder order on the USB Flash Drive.
Depending on the USB Flash Drive type, format, and number, or arrangements of folders and files some music files may be played differently or may not be recognized by the amplifier.
Play from a USB Flash Drive
We recommend changing the USB input to another one before removing the USB Flash Drive.
The support of files in the formats listed in the specifications may be limited depending on the sampling frequency and bit rates – files with too high parameters may not be read.
Bluetooth® Connection
Bluetooth ® Connection
- After the amplifier is switched on – the built-in Bluetooth ® receiver is waiting to be paired with a Bluetooth ® source.
- Select the Bluetooth ® input – the blue USB/Bluetooth ® Input LED Indicator will be flashing.
- Select Bluetooth ® on your audio source (smartphone, laptop, etc.) and start scanning for available Bluetooth ® devices.
- After a short time, “HTA-25B” will appear on the screen of your audio source.
- Select “Pair” on your audio source to connect with the amplifier. After the connection is successful the USB/Bluetooth ® Input Led Indicator will be illuminated continuously and it will remain illuminated as long as the current connection is active.
- HTA-25B will now be ready to play your music wirelessly within a range of approximately 5 meters. Start playback on your audio source.
- You may control the playback on your audio source or using the USB/Bluetooth ® Knob. Note! Not all sources may be controlled by USB/Bluetooth ® Knob.
- Press the USB/Bluetooth ® Knob ►II once to pause the playback. Press it again to resume the playback. In the Pause mode, the USB/Bluetooth ® Input Led Indicator will start flashing.
- Rotate the USB/Bluetooth ® Knob ►►I clockwise to play the next song. 10. Rotate the USB/Bluetooth ® Knob I◄◄ counterclockwise to play the previous song.
Note! Please refer to your audio source user instruction for details on operating the Bluetooth ®. Operation and names of specific functions may vary on different devices. Important Notes – Bluetooth ® Connection
- As long as the amplifier is not switched off for longer than 10 seconds – the current Bluetooth ® connection is active (even if you change the input). After that time the connection is lost and you will have to repeat the pairing procedure.
- When you move away from the working range of the amplifier Bluetooth ® receiver for longer than 60 seconds, the current Bluetooth ® connection will be lost and you will have to repeat the pairing procedure. Within 60 seconds the connection can be automatically reconnected.
Bluetooth ® Connection - When you want to use another Bluetooth ® audio source than currently active, you have to disconnect the active connection and start the Bluetooth ® connection procedure.
- Make sure that there are no objects placed between an audio source and the amplifier obscuring the Bluetooth ® signal which may result in unstable or no connection. Note! The above-listed functionality may vary on different Bluetooth ® audio sources (smartphones, computers, or other compatible devices). For some audio source devices, it may take a shorter or longer period of time to reconnect to the amplifier or it may even require repeating the pairing procedure each time the Bluetooth ® connection is lost. Note! If your Bluetooth ® audio source is not able to find the “HTA-25B” Bluetooth ® device or connect to it then switch off the amplifier, wait at least 60 seconds, and after the amplifier is switched on repeat the pairing procedure.
Additional Information
Break-In
Your TAGA Harmony amplifier sounds great immediately after it is taken out of the carton but as all hybrid amplifiers, this amplifier requires a “break-in” period to reach its full sonic capabilities.
During the “break-in” period it is recommended to operate the amplifier at moderate volume levels. The first level of the “break-in” is reached after approximately 10 hours of play. The optimal level of the “break-in” is reached after approximately 40 to 60 hours of play. It is recommended to avoid one-time short periods of operation unless the amplifier reaches the first “break-in” level. When the amplifier is turned on, it should operate for around 4-6 hours.
Turn off procedure
Make sure to turn off the amplifier first when powering down your system.
If the amplifier was turned off even for a short period of time, you should wait at least 2 minutes before turning it back on. Do not turn it ON then OFF and then ON again in quick succession.
Follow this procedure each time you turn your amplifier OFF / ON. This precaution will minimize the stress (high voltages) on internal components. Vacuum tubes – noise floor and interferences
It is a normal phenomenon for an amplifier equipped with vacuum tubes to produce a significant amount of noise (called noise floor or self-noise) which can be audible in speakers and headphones (in one or both channels). Devices equipped with vacuum tubes are more prone to various types of interferences generated by nearby electronic equipment – try to eliminate such a problem by moving
Additional Information
This product is away from the source of interference or trying to power it from a different power line than other equipment (e.g. from a power outlet in another room). Tube Cage For your safety and to protect the vacuum tubes this amplifier is equipped with the vacuum tube cage which is factory installed. It is not recommended to remove the cage unless it is required to change the vacuum tubes.
To remove the cage:
- Turn off the amplifier.
- Unplug the Power Cable from the electrical outlet.
- Wait for approximately 30 minutes to cool down vacuum tubes.
- Remove the cage by pulling it in upward. Make sure to reinstall the cage for regular operation.
When the cage is removed – do not touch the vacuum tubes – they may be hot and burn the skin!
Vacuum Tube Replacement
The lifetime of vacuum tubes may vary and depends on their operation time and ambient temperature, playback volume levels, and the number of on and off cycles. Replacement vacuum tubes are not supplied with this product.
To replace the vacuum tube:
- Remove the tube cage – check “Tube Cage” for more details.
- Make sure that the vacuum tubes are cool.
- To protect the vacuum tubes during this operation, please put on the gloves which are supplied with this product.
- The vacuum tubes are installed in sockets.
Remove the vacuum tube you want to replace by gently pulling it in upward. - Make sure to replace the vacuum tube with the same type or with another type that is a direct equivalent of the factory-installed one. Gently but firmly place the new vacuum tube in the socket.
- Make sure to reinstall the cage for regular operation.
The warranty time for vacuum tubes is shorter than for other components of this device – for more details check your warrant terms or contact a local dealer.
Power transformer – Power filters and conditioners
It is a normal phenomenon that the device’s power transformer may generate a certain amount of audible noise.
Very loud operation of the power transformer may be caused by the low quality of power supply (voltage surges etc.).
In such a case, we suggest using a power filter or conditioner – you can also try to power this product from a different power line than other devices (e.g. from a power outlet in another room).
Specifications
| Power Output: | 2 x 18W RMS / 8Ω 2 x 25W RMS / 4Ω Class A/B |
| Vacuum Tubes: | Depending on the option: 2 x 6P1 i 2 x 6N1 or 2 x 6H1N i 2 x 6N1N-EB |
| THD: | ≤ 0.5% (1kHz 1W) |
| Signal/Noise ratio: | ≥80dB |
| Frequency Response: | 20Hz – 20kHz |
| Inputs: | Analog: RCA stereo CD, LINE Digital: USB (MP3 / WAV / WMA / AMR / APE / FLAC / OGG audio files) |
| Outputs: | RCA stereo PRE OUT |
| Connectivity Wireless: | Bluetooth® v4.0 |
| Headphones: | 20mW(32Ω); THD 0.5%; Frequency response: 100Hz – 15kHz (+/-3dB) |
| AC Power, Power Consumption: | 220V-240V 50/60Hz, 120W |
| Dimensions (H x W x D): | 13.8 x 26 x 29.8 cm |
| Weight (net): | 5 kg / pc. |
Bluetooth® is a registered trademark of Bluetooth SIG., Inc.
We reserve the right to change the technical data and the design of the product without notice as a result of further development.
We strongly advise contacting a professional installer or dealer in order to install TAGA Harmony products.
We recommend using high-quality TAGA Harmony cables and other installation accessories.
| Kit Content: | |
| Amplifier | 1 EA |
| Power Cable | 1 EA |
| Gloves | 1 PAIR |
| Instruction Manual | 1 EA |
EU declaration of conformity
![]() | Your product is marked with the symbol shown on the left. As its manufacturer, hereby we declare that the product is in compliance with the following EU directives and regulations: 2014/30/EU (EMC) & 2014/35/EU (LVD) & 2014/53/EU (RED) & 2011/65/EU (RoHS) The full text of the EU declaration of conformity is available from the manufacturer. |
Disposal of the product
![]() | Disposal of old electrical & electronic equipment (applicable in the European Union and other countries with separate collection systems)This symbol on the product or on its literature and packaging indicates that this product shall not be treated as household waste. Instead it shall be handed over to the appropriate collection point for the recycling of electrical and electronic equipment. By ensuring that this product is disposed of correctly, you will help to prevent potential negative consequences for the environment and human health, which could be caused by inappropriate waste handling of this product. The recycling of materials will help to conserve natural resources. For more detailed information about recycling of this product, please contact your local government office, your household waste disposal service or the shop where you purchased the product. |
TAGA EUROPE
POLPAK POLAND Sp. z o.o.
AL.JEROZOLIMSKIE 331A
05-816 REGUŁY k/WARSZAWY, POLAND
Email: [email protected]
Notes
…………………………………………………………………………….
Rear Panel




















