TAGA HARMONY HTA-800B Hybrid Integrated Amplifier

Introduction
Thank you for purchasing this TAGA Harmony amplifier. TAGA Harmony HTA-800B is a 50W / 8ohm high-fidelity but still affordable hybrid integrated amplifier.
Key features:
- The sleek aluminum front panel design is suitable for most interiors.
- A hybrid design utilizing two 6H3N vacuum tubes in the preamp section and four Toshiba transistors ensures a very warm, linear and lifelike sound with high dynamic presentation.
- A High-performance and high-power toroidal 230W transformer provides stable, constant and immediately-available energy at any volume level and allows to properly drive different types of speakers.
- Bluetooth® – to wirelessly stream music from smartphones, tablets or computers.
- 3 analog inputs including a turntable (MM cartridge) input so you can enjoy music from your favorite vinyl records.
- Digital Optical and Coaxial inputs based on a premium high-resolution 24bit / 192kHz DAC to connect a range of digital audio devices (CD / DVD / Blu-ray players, video game consoles etc.).
- Preamplifier output dedicated for an optional external power amplifier, a powered subwoofer or active speakers.
- All RCA sockets are made of high-end solid machined brass.
- The high-end class, gold-plated speaker terminals offer almost lossless audio signal transmission to the speakers.
- High-fidelity headphone preamplifier for those who prefer discrete listening.
- Aluminum remote controller.
- IEC C14 power inlet and a removable Schuko-IEC C13 power cord an option to upgrade your system with a premium audiophile power cable in any time.
The HTA-800B combines the analog sound of tubes with the power of transistors to
give the best sound at the price!
Cleaning
Do not use strong or abrasive cleaners. Use a damp, soft cloth for cleaning. Specifications and the latest instruction manual edition Full technical specifications and the latest edition of the instruction manual are available on www.TagaHarmony.com
Safety Instructions
IMPORTANT
READ THIS SECTION CAREFULLY BEFORE PROCEEDING!
WARNING: TO REDUCE THE RISK OF FIRE OR ELECTRIC SHOCK, DO NOT EXPOSE THIS PRODUCT TO RAIN OR MOISTURE. DO NOT REMOVE THE COVER (OR BACK). NO USER-SERVICEABLE PARTS INSIDE. REFER SERVICING TO QUALIFIED SERVICE PERSONNEL. The triangle containing a lightning symbol is intended to alert the user to the presence of uninsulated dangerous voltages within the product’s enclosure that may be of sufficient magnitude to constitute a risk of electric shock to persons. An exclamation mark in a triangle is intended to alert the user to the presence of important operating and maintenance (servicing) instructions in the literature accompanying the appliance.
WARNING: TO REDUCE THE RISK OF FIRE OR ELECTRIC SHOCK, DO NOT EXPOSE THIS APPARATUS TO RAIN OR MOISTURE, AND OBJECTS FILLED WITH LIQUIDS, SUCH AS VASES, SHOULD NOT BE PLACED ON THIS APPARATUS.
CAUTION: TO PREVENT ELECTRIC SHOCK, FULLY AND SECURELY INSERT THE POWER CABLE PLUG INTO THE POWER OUTLET, AND THE POWER CABLE CONNECTOR INTO THE UNIT SOCKET (IF THIS UNIT IS NOT EQUIPPED WITH AN INTEGRATED [ATTACHED] POWER CORD).
CAUTION: FOR CONTINUED PROTECTION AGAINST RISK OF FIRE, REPLACE THE FUSE (IF THE UNIT IS EQUIPPED WITH A USER-REPLACEABLE FUSE) ONLY WITH THE SAME AMPERAGE AND VOLTAGE TYPE. IN CASE WHEN THE UNIT IS NOT EQUIPPED WITH A USER-REPLACEABLE FUSE – REFER REPLACEMENT TO QUALIFIED SERVICE PERSONNEL.
WARNING: THE UNIT MAY BECOME HOT. ALWAYS PROVIDE ADEQUATE VENTILATION TO ALLOW FOR COOLING. DO NOT PLACE THE UNIT NEAR A HEAT SOURCE, OR IN SPACES THAT CAN RESTRICT VENTILATION.
- Read Instructions – All the safety and operating instructions should be read before the product is operated.
- Retain Instructions – The safety and operating instructions should be retained for future reference.
- Heed Warnings – All warnings on the product and in the operating instructions should be adhered to.
- Follow Instructions – All operating and use instructions should be followed.
- Cleaning – Unplug this product from the power outlet before cleaning. Do not use liquid cleaners or aerosol cleaners.
- Water and Moisture – Do not use this product near water – for example, near a bath tub, wash bowl, kitchen sink or laundry tub; in a wet basement; or near a swimming pool; and the like. These precautions also apply to the power cord.
- Accessories – Do not place this product on an unstable cart, stand, tripod, bracket or table. The product may fall, causing serious injury to a child or adult and serious damage to the product. Use only with a cart, stand, tripod, bracket or table recommended by the manufacturer or sold with the product. Any mounting of the product should follow manufacturer’s instructions and should use a mounting accessory recommended by the manufacturer.
- Ventilation – This unit may be equipped with slots and openings in the cabinet (housing) which are provided for ventilation and to ensure reliable operation of the product and to protect it from overheating and these openings must not be blocked or covered. The openings should never be blocked by placing the product on a bed, sofa, rug or other similar surface. This product should be not placed in a built-in installation such as a bookcase or rack unless proper ventilation is provided or the manufacturer’s instructions have been adhered to. For products equipped with a separate power supply unit, leave at least 5cm (2in.) of free space on all sides and the top of the power supply.
- Power Sources – This product should be operated only from the type of power source indicated on the marking label (placed on the product and/or, if applicable, on a separate power supply unit). If you are not sure of the type of power supply in your home, consult your product dealer or local power company. For products intended to operate from battery power or other sources, refer to the operating instructions.
- Grounding and Polarity – some units for proper operation or to take full advantage of their capabilities may require to be connected to a grounded power outlet – refer to the user manual for more information. Some units may have markings for the live (L) and neutral (N) conductors for power – in order to take full advantage of capabilities of such products, it is recommended to properly connect the polarity according to the markings on the unit – refer to the user manual for more information. Connecting the polarity not in accordance with the markings will not affect the durability and reliability of the device.
- Power-cord Protection – Power supply cords should be routed so that they are not likely to be walked on or pinched by items placed upon or against them, paying particular attention to cords at plugs, convenience receptacles and the point where they exit from the product.
- Lighting – For added protection for this product during a lighting storm or when it is left unattended and unused for long periods of time, unplug it from the wall outlet and disconnect the antenna or system cables. This will prevent damage to the product due to lighting and power-line surges.
- Overloading – Do not overload wall outlets, extension cords or integral convenience receptacles as this can result in a risk of fire or electric shock.
- Object and Liquid Entry – Never push objects of any kind into this product through openings as they may touch dangerous voltage points or short-out parts that could result in a fire or electric shock. Do not expose this apparatus to dripping or splashing and ensure that no objects filled with water, such as vases are placed on the apparatus.
- Servicing – Do not attempt to service this product yourself as opening or removing covers may expose you to dangerous voltage or other hazards. Refer all servicing to qualified service personnel.
- Damage Requiring Service – Unplug this product from wall outlet and refer servicing to qualified personnel under the following conditions:
- when power supply cord or plug is damaged;
- if liquid has been spilled or objects have fallen into the product;
- if the product does not operate normally by following the operating instructions. Adjust only those controls that are covered by the operating instructions as an improper adjustment of other controls may result in damage and will require extensive work by a qualified technician to restore the product to its normal operation;
- if the product has been dropped or damaged in any way;
- if the product exhibits a distinct change in performance – this indicates a need for a service.
- Replacement Parts – when replacement parts are required, be sure the technician has used replacement parts specified by the manufacturer or with the same characteristics as the original part. Unauthorized substitutions may result in fire, electric shock or other hazards.
- Safety Check – Upon completion of any service or repairs to this product, ask the service technician to perform safety check to determine that the products is in proper operating condition.
- Wall of ceiling mounting – The product should be mounted to a wall or ceiling only as recommended by the manufacturer.
- Heat – The product should be situated away from heat sources such as radiators, heat registers, stoves or other products (including amplifiers) that produce heat.
- [Refer to products equipped with vacuum tubes] Tube Cage or cover – For your safety and to protect the vacuum tubes this product may be equipped with the factory installed vacuum tube cage or cover. It is not recommended to remove the cage or cover unless it is required to change the vacuum tubes. When the cage or cover is removed – do not touch the vacuum tubes – they may be hot and burn the skin!
- Operating Environment – Operating environment temperature and humidity of the unit: +5°C to +35°C (+41°F to +95°F); less than 85% RH (cooling slots not blocked).
Remote Controller
- Always use AAA batteries and do not use the rechargeable batteries.
- Do not mix new batteries with old batteries or different kinds of batteries.
- If the batteries run out, remove the old batteries and replace them with new ones within several minutes.
- If the batteries are placed incorrectly, they can cause explosion.
- Remove the batteries if the remote control is not used for a long period of time.
- Do not handle and store the batteries together with metallic tools.
Battery Installation
- Prepare two AAA batteries (not provided with this product).
- Remove the rear cover.
- Insert the batteries into the battery compartment. Carefully follow the polarity diagram inside the battery compartment ( positive + and negative – symbols).
- Reinstall the rear cover.
Operating Range

Use the remote controller by aiming it at the remote controller sensor. The remote controller can operate in the maximum range of 5 meters away from the amplifier and within 30 degrees from the axis of the controller sensor.
Note! Exposing the remote controller sensor to direct sunlight or strong light may cause faulty operation.
- CD Input Selector Button
- Line Input Selector Button
- Bluetooth® Input Selector Button
- Phono MM Input Selector Button
- Optical Input Selector Button
- Coaxial Input Selector Button
- Direct Button
- Loudness Button
- Mute Button
- Volume Buttons (▲/ ▼)
- Dimmer Button
Front and Rear Panel

Front Panel:
- Power Switch (ON and OFF)
- Remote Controller Sensor
- Headphone 6.5 mm (1/4”) Output
- Direct Button
- Direct Function Led Indicator
- Loudness Button
- Loudness Function Led Indicator
- Analog CD / LINE Inputs Led Indicators
- Bluetooth® Input Led Indicator
- Input Selector Button
- Analog PHONO (MM) Input Led Indicator
- Digital OPTICAL / COAXIAL Inputs Led Indicators
- Vacuum Tube Window
- Treble Regulator
- Bass Regulator
- Volume Regulator with Volume Change Led Indicator
Rear Panel:
- Bluetooth® Antenna and Antenna Socket
- Phono Ground Screw
- Analog Stereo RCA Inputs CD / LINE / PHONO (MM)
- Digital Inputs OPTICAL / COAXIAL
- Preamplifier Stereo RCA Output
- Speaker Right Channel Output (Speaker Connectors)
- Speaker Left Channel Output (Speaker Connectors)
- Power Cable Input and Fuse Box
WARNING
A blown fuse should be only exchanged for exactly the same type as indicated on the rear panel. The Power Cable should be disconnected!
Hooking Up Speaker Cables
The Speaker Connectors can accommodate up to 10AWG speaker cables as well as most of popular plugs (banana etc.). It is recommended to leave about 150 cm (5 feet) of extra cable at the amplifier end to facilitate positioning and installation of the amplifier. Do not use staples, nails or other metal objects to secure the cables. You will get the best sound quality and least amount of hum by keeping the cables away from other electrical wires and cables. Pay attention to connecting the polarity of the amplifier correctly with the speakers in each speaker group (speakers should be connected RED + with RED + amplifier connector, BLACK – with BLACK – amplifier connector).
WARNING
Before connecting make sure that your amplifier is turned off. Do not let bare speaker wires touch each other or any metal part of this unit it may damage this amplifier and/or speakers. This may void your warranty.
Please refer to your speaker instruction manual for more information.
Connecting speaker cables
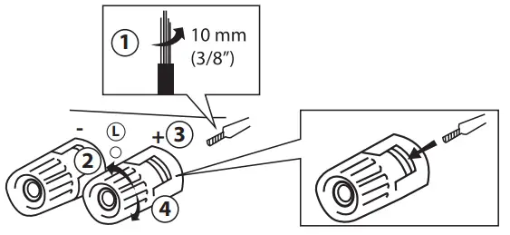
Speaker cables have 2 conductors. Each conductor should be connected to a separate speaker connector – mind the polarity while connecting. For each conductor:
- Remove approximately 10 mm (3/8”) of insulation from the end of the conductor. Twist the bare wires firmly together.
- Loosen the speaker connector.
- Insert the bare wires of the conductor into the gap of the speaker connector.
- Tighten the speaker connector.
Connecting via banana plug
Mind the polarity while connecting.
Note! An insert hole for the banana plug in some speaker connectors maybe secured with a plastic plug – make sure to remove this plastic plug before inserting the banana plug.
- Tighten the speaker connector.
- Insert the banana plug into the end of the corresponding connector.

Hooking up the Amplifier


- Make sure the amplifier is turned off (the Power Switch and the Power Cable is removed from the wall outlet).
- Turn the Volume Regulator to MIN (max counterclockwise). Screw in the Bluetooth® antenna into the antenna socket.
Note! Make sure the antenna is securely and firmly installed – otherwise the “HTA-800B” Bluetooth® device may not be found or connection may be unstable. - Using speaker cables connect your speakers to the SPEAKERS OUT connectors. Check “Hooking Up Speaker Cables” for more details.
- If you want to play music from audio source devices equipped with an analog output (Network streamer, CD player, FM tuner etc.): using RCA-RCA interconnects connect them to the analog inputs (CD, LINE).
- If you want to play music from a turntable: using a Phono RCA-RCA interconnect connect the turntable to the PHONO input. Screw in a ground cable of the turntable to the Phono Ground Screw. The PHONO input is only compatible with turntables equipped with the MM cartridge.
- If you want to play a digital audio source (CD/DVD/Blu-ray player, video game console etc.) depending on a digital output your audio source is equipped with, connect it to one of digital inputs: OPTICAL or COAXIAL. Use a digital optical cable for the OPTICAL input and a digital coaxial cable for the COAXIAL input.
- Preamplifier Output (PRE OUT): this amplifier is equipped with the preamplifier output. Using an RCA-RCA interconnect you can connect to it an external amplification evice (power amplifier, powered speakers, active subwoofer etc.) or a recording device (CD recorder etc.). Check „Preamplifier Output Connection (PRE OUT)” for more details.
- If you want to listen to music via headphones: connect the headphones to the Phones output. Check „Headphones connection (PHONES)” for more details.
- If you want to stream music via Bluetooth® from compatible devices check “Bluetooth® Connection” for more details.
- Your amplifier is ready for operation.
WARNING
Only speakers within the range of impedance 4 – 8ohm may be connected to this amplifier. Connecting speakers outside this range may damage this amplifier and / or speakers. This may void your warranty.
External audio equipment connection options:
Operation
- Plug the Power Cable to the amplifier and into the electrical outlet.
- Turn on the amplifier – press the Power Switch (the Power Switch ). The status LED located on the Volume Regulator should turn red in a few seconds. If it does not, it means that the amplifier is working under in abnormal conditions (a protection mode) – turn off the power, unplug the Power Cable and check whether some of the cables are not short-circuited. After fixing the cables turn the amplifier on.
- By pressing the Input Selector button on the front panel or one of input selector buttons on the remote controller, select which audio source you want to play. Make sure the audio source is properly connected to the rear panel inputs – for the Bluetooth® source check “Bluetooth® Connection”. The selected source is indicated by one of LED indicators on the front panel.
- Turn on your audio source and start playback.
- Regulate volume on the amplifier to adjust the level of sound.
Note! Check “Additional Information” for other useful operating instructions.
WARNING
High volume levels may damage this amplifier and / or speakers. This may void your warranty.
VOLUME Regulator:
Using the Volume Regulator on the front panel or down ▼ and up ▲ buttons on the remote controller, you can adjust the sound volume from minimum (the knob – max counterclockwise) to maximum (the knob – max clockwise).
WARNING
Distortion and sound quality worsening may occur when the knob is in the maximum position. It may damage the amplifier and / or speakers. This may void your warranty.
MUTE:
During playback press this button to stop amplifier audio output (no sound will be
audible in speakers, headphones nor through the PRE OUT).
Press the Mute or volume regulation buttons on the remote controller to recover
the audio signal output back.
LOUDNESS:
The LOUDNESS function boosts low and high frequencies – it is intended only to be used at low listening levels. The function is controlled by the LOUD button.
- LOUDNESS ON – the Loudness Function Led Indicator is illuminated.
- LOUDNESS OFF – the Loudness Function Led Indicator is switched off.
WARNING
Using at high volume levels may damage this amplifier and / or speakers. This may void your warranty.
DIRECT:
The DIRECT function omits the BASS and TREBLE settings to provide the purest sound.
- The function is controlled by the DIRECT button.
- DIRECT ON – the Direct Function Led Indicator is illuminated.
- DIRECT OFF – the Direct Function Led Indicator is switched off.
- The DIRECT function will not affect the operation of LOUDNESS.
Memory for LOUD and DIRECT functions:
After the amplifier is turned off, the last settings of the LOUDNESS and DIRECT functions will be stored and retrieved after turning on the amplifier.
TREBLE regulator:
You can adjust treble output of the amplifier. The default: the knob is in the center position: the marker on the knob in the vertical position.
- Turn the knob counterclockwise (-) to decrease the amount of high frequencies.
- Turn the knob clockwise to increase the amount of high frequencies (+).
- The TREBLE regulator is active only in the DIRECT OFF mode.
BASS regulator:
You can adjust bass output of the amplifier. The default: the knob is in the center position: the marker on the knob in the vertical position.
- Turn the knob counterclockwise (-) to decrease the amount of low frequencies.
- Turn the knob clockwise (+) to increase the amount of low frequencies (+).
- The BASS regulator is active only in the DIRECT OFF mode.
WARNING
Using the DIRECT OFF and BASS / TREBLE regulators at high volume levels may damage this amplifier and / or speakers. This may void your warranty.
DIMMER:
The DIMMER function is used to switch on and off the Vacuum Tube Window backlight. The function is controlled by the DIMMER button. If the backlight of the Vacuum Tube Window is switched on, then press the DIMMER button to switch it off. Press the button again to switch on the backlight.
Preamplifier Output connection (PRE OUT):
This amplifier is equipped with the preamplifier output, which allows connecting amplification or recording equipment such as a power amplifier, powered speakers, active subwoofer or a CD recorder. The audio signal from the preamplifier of this device is directed to the PRE OUT and its level is variable controlled by the Volume Regulator. All sound adjustments (Direct / Loudness / Bass / Treble) will affect the sound transmitted to the PRE OUT. The output to the SPEAKERS OUT is still active and it works simultaneously with the PRE OUT.
HEADPHONES connection (PHONES):
When headphones (not supplied with this product) are plugged into the headphone output (Phones) the transmission of sound to the speakers and PRE OUT is switched off. The speakers and PRE OUT will be active after you disconnect the headphones. The volume of the headphones is regulated by the Volume Regulator. All sound regulations (Direct / Loudness / Bass / Treble) will affect the sound transmitted to the headphones.
WARNING
Listening at high volume may cause hearing damage.
Bluetooth® Connection
- After the amplifier is switched on – the built-in Bluetooth® receiver is waiting to be paired with a Bluetooth® source.
- Select the Bluetooth® input – the blue Bluetooth® Input LED Indicator will be flashing.
- Select Bluetooth® on your audio source (smartphone, laptop etc.) and start scanning for available Bluetooth® devices.
- After a short time “HTA-800B” will appear on the screen of your audio source.
- Select “Pair” on your audio source to connect with the amplifier. After connection is successful the Bluetooth® Input LED Indicator will be illuminated continuously and it will remain illuminated as long as the current connection is active.
- HTA-800B will now be ready to play your music wirelessly within a range of approximately 5 meters. Start playback on your audio source.
Note! Please refer to your audio source user instruction for details on operating Bluetooth®. Operation and names of specific functions may vary on different devices.
Important Notes – Bluetooth® Connection
- As long as the amplifier is not switched off for longer than 10 seconds – the current Bluetooth® connection is active (even if you change the input). After that time the connection is lost and you will have to repeat the pairing procedure.
- When you move away from the working range of the amplifier Bluetooth® receiver for longer than 60 seconds, the current Bluetooth® connection will be lost and you will have to repeat the pairing procedure. Within 60 seconds the connection can be automatically reconnected.
- When you want to use another Bluetooth® audio source than is currently active, you have to disconnect the active connection and start the Bluetooth® connection procedure.
- Make sure the antenna is securely and firmly installed, and that there are no objects placed between an audio source and the amplifier obscuring the Bluetooth® signal which may result in an unstable or no connection.
Note! The above-listed functionality may vary on different Bluetooth® audio sources (smartphones, computers or other compatible devices). For some audio source devices it may take a shorter or longer period of time to reconnect to the amplifier or it may even require to repeat the pairing procedure each time the Bluetooth® connection is lost.
Note! If your Bluetooth® audio source is not able to find the “HTA-800B” Bluetooth® device or connect to it then switch off the amplifier, wait at least 60 seconds and after the amplifier is switched on repeat the pairing procedure.
Additional Information
Break-In
Your TAGA Harmony amplifier sounds great immediately after it is taken out of the carton but as all hybrid amplifiers, this amplifier requires a “break-in” period to reach its full sonic capabilities. During the “break-in” period it is recommended to operate the amplifier at moderate volume levels. The first level of the “break-in” is reached after approximately 10 hours of play. The optimal level of the “break-in” is reached after approximately 40 to 60 hours of play. It is recommended to avoid one-time short periods of operation unless the amplifier reaches the first “break-in” level. When the amplifier is turned on, it should operate for around 4-6 hours.
Turn off procedure
Make sure to turn off the amplifier first when powering down your system.
WARNING
If the amplifier was turned off even for a short period of time, you should wait at least 2 minutes before turning it back on. Do not turn it ON then OFF and then ON again in quick succession.
Follow this procedure each time you turn your amplifier OFF / ON. This precaution will minimize the stress (high voltages) on internal components.
Vacuum tubes – noise floor and interferences
It is a normal phenomenon for an amplifier equipped with vacuum tubes to produce significant amount of noise (called noise floor or self-noise) which can be audible in speakers and headphones (in one or both channels). Devices equipped with vacuum tubes are more prone to various types of interferences generated by nearby electronic equipment – try to eliminate such a problem by moving this product away from the source of interference or trying to power it from a different power line than other equipment (e.g. from a power outlet in another room).
Vacuum Tube Replacement
The lifetime of vacuum tubes may vary and depends on their operation time and ambient temperature, playback volume levels and the number of on and off cycles. Replacement vacuum tubes are not supplied with this product.
Power transformer – Power filters and conditioners
It is a normal phenomenon that the device’s power transformer may generate a certain amount of audible noise. Very loud operation of the power transformer may be caused by low quality of power supply (voltage surges etc.). In such a case, we suggest using a power filter or conditioner – you can also try to power this product from a different power line than other devices (e.g. from a power outlet in another room).
Specifications
Bluetooth® is a registered trademark of Bluetooth SIG, Inc. We reserve the right to change the technical data and the design of the product without notice as a result of further development. We strongly advise to contact a professional installer or dealer in order to install TAGA Harmony products. We recommend using high quality TAGA Harmony cables and other installation accessories.
Kit Content:
- Amplifier 1 EA
- Remote Controller 1 EA
- Bluetooth® Antenna 1 EA
- Power Cable 1 EA
- Instruction Manual 1 EA
EU declaration of conformity
Your product is marked with the symbol shown on the left. As its manufacturer, hereby we declare that the product is in compliance with the following EU directives and regulations: 2014/53/EU (RED) & 2015/863/EU (RoHS) The full text of the EU declaration of conformity is available from the manufacturer.
Disposal of the product
Disposal of old electrical & electronic equipment (applicable in the European Union and other countries with separate collection systems)
This symbol on the product or on its literature and packaging indicates that this product shall not be treated as household waste. Instead it shall be handed over to the appropriate collection point for the recycling of electrical and electronic equipment. By ensuring that this product is disposed of correctly, you will help to prevent potential negative consequences for the environment and human health, which could be caused by inappropriate waste handling of this product. The recycling of materials will help to conserve natural resources. For more detailed information about recycling of this product, please contact your local government office, your household waste disposal service or the shop where you purchased the product.
Disposal of waste batteries (applicable in the European Union and other countries with separate collection systems)
This symbol on the battery or on the packaging indicates that the battery provided with this product shall not be treated as household waste. On certain batteries this symbol might be used in combination with a chemical symbol. The chemical symbol for lead (Pb) is added if the battery contains more than 0.004 % lead. By ensuring that these batteries are disposed of correctly, you will help to prevent potentially negative consequences for the environment and human health which could be caused by inappropriate waste handling of the battery. The recycling of the materials will help to conserve natural resources. In case of products that for safety, performance or data integrity reasons require a permanent connection with an incorporated battery, this battery should be replaced by qualified service staff only. To ensure that the battery will be treated properly, hand over the product at end-of-life to the appropriate collection point for the recycling of electrical and electronic equipment. For all other batteries, please view the section on how to remove the battery from the product safely. Hand the battery over to the appropriate collection point for the recycling of waste batteries. For more detailed information about recycling of this battery, please contact your local government office, your household waste disposal service or the shop where you purchased the product or battery.
TAGA EUROPE
POLPAK POLAND Sp. z o.o.
AL.JEROZOLIMSKIE 331A
05-816 REGUŁY k/WARSZAWY, POLAND
Email: [email protected]






















