
HTA-600B
HIGH-FIDELITY HYBRID INTEGRATED AMPLIFIER
Instruction Manual
Edition 08-2020
Introduction
Thank you for purchasing this TAGA Harmony amplifier!
HTA-600B utilizes 2 x 6H3 Russian vacuum tubes in the preamp section serving as a buffer amplifier and a pair of TDA7296 transistors in the output.
The HTA-600B combines the best of both worlds – soft and analog-like sound character provided by tubes and adding to that high dynamics and power of transistors.
150W toroidal transformer provides large amounts of clean power, high voltage stability, and very low AC ripple current. This reflects in higher dynamics and extra pure energy and greater abilities to properly drive a different range of speakers.
High-grade capacitors (2 x 50V/3300uF) ensure stable playback improving music tone and sound field depth.
To provide the best clarity of sound the HTA-600B utilizes audiophile-grade capacitors which are used on the input to and output from the tubes as well as for the tone regulators.
Audiophile-grade Japanese ALPS volume potentiometer provides minimal noises and channels crosstalk and has excellent operational feel and limits errors between the two channels.
Oversized aluminum heat sink system (independent heat sink for each channel) helps to disperse internal heat and allows for long-term high power playback with limited distortions.
The high-end class, gold-plated speaker terminals offer almost lossless audio signal transmission to speakers.
The HTA-600B is also an ideal companion for mobile devices – stream music from smartphones, tablets, or computers compatible with Bluetooth ®.
For those who prefer discrete listening, we equipped the HTA-600B with a high-end headphone preamplifier.
A preamplifier output is dedicated for an optional external power amplifier or powered subwoofer and speakers.
The HTA-600B offers additional options for easy upgrading the sound quality:
- Removable IEC power cable gives you an option to upgrade your system with a premium audiophile power cable at any time;
- The tubes are installed in high-quality ceramic sockets and they can be very easily exchanged for new tubes of your choice.
The HTA-600B is a splendid mixture of analog tube sound, power, precision, purity, and multi-dimensional soundstage imaging!
Cleaning
Do not use strong or abrasive cleaners. Use a damp, soft cloth for cleaning.
Specifications and the latest instruction manual edition
Full technical specifications and the latest edition of the instruction manual are available on www.TagaHarmony.com.
Safety Instructions
IMPORTANT
READ THIS SECTION CAREFULLY BEFORE PROCEEDING!
CAUTION RISK OF ELECTRIC SHOCK![]() DO NOT OPEN |
| WARNING: TO REDUCE THE RISK OF FIRE OR ELECTRIC SHOCK, DO NOT EXPOSE THIS PRODUCT TO RAIN OR MOISTURE. DO NOT REMOVE COVER (OR BACK). NO USER-SERVICEABLE PARTS INSIDE. REFER SERVICING TO QUALIFIED SERVICE PERSONNEL. |
The triangle containing a lightning symbol is intended to alert the user to the presence of uninsulated dangerous voltages within the product’s enclosure that may be of sufficient magnitude to constitute a risk of electric shock to persons.
An exclamation mark in a triangle is intended to alert the user to the presence of important operating and maintenance (servicing) instructions in the literature accompanying the appliance.
WARNING: TO REDUCE THE RISK OF FIRE OR ELECTRIC SHOCK, DO NOT EXPOSE THIS APPARATUS TO RAIN OR MOISTURE, AND OBJECTS FILLED WITH LIQUIDS, SUCH AS VASES, SHOULD NOT BE PLACED ON THIS APPARATUS.
CAUTION: TO PREVENT ELECTRIC SHOCK, FULLY AND SECURELY INSERT THE POWER CABLE PLUG INTO THE POWER OUTLET, AND POWER CABLE CONNECTOR INTO THE UNIT SOCKET (IF THIS UNIT IS NOT EQUIPPED WITH AN INTEGRATED [ATTACHED] POWER CORD).
CAUTION: FOR CONTINUED PROTECTION AGAINST RISK OF FIRE, REPLACE THE FUSE (IF THE UNIT IS EQUIPPED WITH A USER-REPLACEABLE FUSE) ONLY WITH THE SAME AMPERAGE AND VOLTAGE TYPE. IN CASE WHEN THE UNIT IS NOT EQUIPPED WITH A USER-REPLACEABLE FUSE – REFER REPLACEMENT TO QUALIFIED SERVICE PERSONNEL.
WARNING: THE UNIT MAY BECOME HOT. ALWAYS PROVIDE ADEQUATE VENTILATION TO ALLOW FOR COOLING. DO NOT PLACE THE UNIT NEAR A HEAT SOURCE, OR IN SPACES THAT CAN RESTRICT VENTILATION.
Safety Instructions
- Read Instructions – All the safety and operating instructions should be read before the product is operated.
- Retain Instructions – The safety and operating instructions should be retained for future reference.
- Heed Warnings – All warnings on the product and in the operating instructions should be adhered to.
- Follow Instructions – All operating and use instructions should be followed.
- Cleaning – Unplug this product from the power outlet before cleaning. Do not use liquid cleaners or aerosol cleaners.
- Water and Moisture – Do not use this product near water – for example, near a bathtub, washbowl, kitchen sink, or laundry tub; in a wet basement; or near a swimming pool; and the like. These precautions also apply to the power cord.
- Accessories – Do not place this product on an unstable cart, stand, tripod, bracket, or table. The product may fall, causing serious injury to a child or adult and serious damage to the product. Use only with a cart, stand, tripod, bracket, or table recommended by the manufacturer or sold with the product. Any mounting of the product should follow the manufacturer’s instructions and should use a mounting accessory recommended by the manufacturer.
- Ventilation – This unit may be equipped with slots and openings in the cabinet (housing) which are provided for ventilation and to ensure reliable operation of the product and to protect it from overheating and these openings must not be blocked or covered. The openings should never be blocked by placing the product on a bed, sofa, rug, or another similar surface. This product should be not placed in a built-in installation such as a bookcase or rack unless proper ventilation is provided or the manufacturer’s instructions have been adhered to. For products equipped with a separate power supply unit, leave at least 5cm (2in.) of free space on all sides and the top of the power supply.
- Power Sources – This product should be operated only from the type of power source indicated on the marking label (placed on the product and/or, if applicable, on a separate power supply unit). If you are not sure of the type of power supply in your home, consult your product dealer or local power company. For products intended to operate from battery power or other sources, refer to the operating instructions.
- Grounding and Polarity – some units for proper operation or to take full advantage of their capabilities may require to be connected to a grounded power outlet – refer to the user manual for more information. Some units may have markings for the live (L) and neutral (N) conductors for power – in order to take full advantage of the capabilities of such products, it is recommended to properly connect the polarity according to the markings on the unit – refer to the user manual for more information. Connecting the polarity not in accordance with the markings will not affect the durability and reliability of the device.
- Power-cord Protection – Power-supply cords should be routed so that they are not likely to be walked on or pinched by items placed upon or against them, paying particular attention to cords at plugs, convenience receptacles, and the point where they exit from the product.
- Lighting – For added protection for this product during a lightning storm or when it is left unattended and unused for long periods of time, unplug it from the wall outlet and disconnect the antenna or system cables. This will prevent damage to the product due to lightning and power-line surges.
- Overloading – Do not overload wall outlets, extension cords, or integral convenience receptacles as this can result in a risk of fire or electric shock.
- Object and Liquid Entry – Never push objects of any kind into this product through openings as they may touch dangerous voltage points or short-out parts that could result in a fire or electric shock. Do not expose this apparatus to dripping or splashing and ensure that no objects filled with water, such as vases are placed on the apparatus.
- Servicing – Do not attempt to service this product yourself as opening or removing covers may expose you to dangerous voltage or other hazards. Refer all servicing to qualified service personnel.
- Damage Requiring Service – Unplug this product from the wall outlet and refer servicing to qualified personnel under the following conditions:
- when power supply cord or plug is damaged;
- if the liquid has been spilled or objects have fallen into the product;
- if the product does not operate normally by following the operating instructions. Adjust only those controls that are covered by the operating instructions as an improper adjustment of other controls may result in damage and will require extensive work by a qualified technician to restore the product to its normal operation;
- if the product has been dropped or damaged in any way;
- if the product exhibits a distinct change in performance – this indicates a need for a service.
1 7. Replacement Parts – when replacement parts are required, be sure the technician has used replacement parts specified by the manufacturer or with the same characteristics as the original part. Unauthorized substitutions may result in fire, electric shock, or other hazards.
18. Safety Check – Upon completion of any service or repairs to this product, ask the service technician to perform a safety check to determine that the product is in proper operating condition.
19. Wall or ceiling mounting – The product should be mounted to a wall or ceiling only as recommended by the manufacturer.
20. Heat – The product should be situated away from heat sources such as radiators, heat registers, stoves or other products (including amplifiers) that produce heat.
21. [Refer to products equipped with vacuum tubes] Tube Cage or cover – For your safety and to protect the vacuum tubes this product may be equipped with the factory-installed vacuum tube cage or cover. It is not recommended to remove the cage or cover unless it is required to change the vacuum tubes.
When the cage or cover is removed – do not touch the vacuum tubes – they may be hot and burn the skin!
22. Operating Environment – Operating environment temperature and humidity of the unit: +5°C to +35°C (+41°F to +95°F); less than 85% RH (cooling slots not locked).
Remote Controller

- Always use AAA batteries and do not use rechargeable batteries.
- Do not mix new batteries with old batteries or different kinds of batteries.
- If the batteries run out, remove the old batteries and replace them with new ones within several minutes.
- If the batteries are placed incorrectly, they can cause an explosion.
- Remove the batteries if the remote control is not used for a long period of time.
- Do not handle and store the batteries together with metallic tools.
Battery Installation
- Prepare two AAA batteries (not provided with this product).
- Remove the rear cover.
- Insert the batteries into the battery compartment. Carefully follow the polarity diagram inside the battery compartment ( positive + and negative – symbols).
- Reinstall the rear cover.
Operating Range
Use the remote controller by aiming it at the remote controller sensor.
The remote controller can operate in the maximum range of 5 meters away from the amplifier and within 30 degrees from the axis of the controller sensor.
Note! Exposing the remote controller sensor to direct sunlight or strong light may cause faulty operation.
Remote Controller
- CD Input Selector Button
- Line Input Selector Button
- Bluetooth® Input Selector Button
- Optical Input Selector Button
- Mute Button
- Volume Buttons (▲/ ▼)
- Dimmer Button
Front and Rear Panel
Front Panel:
- Input Selector Button
- Power Switch (ON and OFF)
- Headphone ¼” Jack Output
- Analog CD / LINE Inputs Led Indicators (Red color)
- Bluetooth® Input Led Indicator (Blue color)
- Loudness Button (ON and OFF)
- Vacuum Tube Window
- Remote Controller Sensor
- Direct Button (ON and OFF)
- Digital OPTICAL Input Led Indicator (Green color)
- Treble Regulator
- Bass Regulator
- Volume Regulator with Volume Change Led Indicator
Front and Rear Panel
Rear Panel:
14. Analog Stereo RCA Inputs CD / LINE
15. Digital Input OPTICAL
16. Preamplifier Stereo RCA Output
17. Speaker Right Channel Output (Speaker Connectors)
18. Speaker Left Channel Output (Speaker Connectors)
19. Power Cable Input and Fuse Box
20. Bluetooth® Antenna and Antenna Socket
A blown fuse should be only exchanged for exactly the same type as indicated on the rear amplifier panel.
The Power Cable should be disconnected!
Hooking Up Speaker Cables
The Speaker Connectors can accommodate up to 10AWG speaker cables as well as most of the popular plugs (banana etc.). It is recommended to leave about 150 cm (5 feet) of extra cable at the amplifier end to facilitate positioning and installation of the amplifier. Do not use staples, nails, or other metal objects to secure the cables. You will get the best sound quality and least amount of hum by keeping the cables away from other electrical wires and cables.
Pay attention to connecting the polarity of the amplifier correctly with the speakers in each speaker group (speakers should be connected RED + with RED + amplifier connector, BLACK – with BLACK – amplifier connector).
Before connecting make sure that your amplifier is turned off.
Do not let bare speaker wires touch each other or any metal part of this unit it can damage this amplifier and/or speakers.
This may void your warranty.
Please refer to your speaker instruction manual for more information.
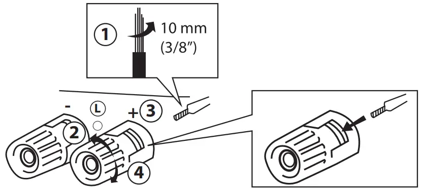
Hooking Up Speaker Cables
Connecting speaker cables
Speaker cables have 2 conductors. Each conductor should be connected to a separate speaker connector – mind the polarity while connecting.
For each conductor:
- Remove approximately 10 mm (3/8”) of insulation from the end of the conductor.
Twist the bare wires firmly together. - Loosen the speaker connector.
- Insert the bare wires of the conductor into the gap of the speaker connector.
- Tighten the speaker connector.

Connecting via banana plug
Mind the polarity while connecting.
Note! An insert hole for the banana plug in some speaker connectors may be secured with a plastic plug – make sure to remove this plastic plug before inserting the banana plug.
- Tighten the speaker connector.
- Insert the banana plug into the end of the corresponding connector.

Hooking up the Amplifier
Smartphones, tablets, etc.

- Make sure the amplifier is turned off (the Power Switch
and the Power Cable are removed). - Turn the Volume Regulator to MIN (max counterclockwise). Screw-in the Bluetooth® antenna into the antenna socket.
Note! Make sure the antenna is securely and firmly installed – otherwise the “HTA600B” Bluetooth ® device may not be found or the connection may be unstable. - Using speaker cables (not supplied with this product) connect your speakers to the SPEAKERS OUT connectors located on the rear of the amplifier (check “Hooking Up Speaker Cables” for more details).
- If you want to play music from analog audio source devices (CD player, FM tuner, etc.): using RCA interconnect cables (not supplied with this product) connect them to the analog inputs (CD, LINE).
- If you want to play a digital audio source (CD/DVD/Blu-ray player, video game console, etc.) equipped with an optical output, connect it to the digital input: OPTICAL. Use a digital optical cable (not supplied with this product).
Hooking up the Amplifier
6. Preamplifier Output (PRE OUT): this amplifier is equipped with a preamplifier output. Using an RCA interconnect cable (not supplied with this product) you can connect to it external equipment (power amplifier, powered speakers, active subwoofer, etc.).
The PRE OUT level is variable controlled according to the Volume Regulator. All sound regulations (Loudness / Bass / Treble) will affect the sound transmitted to the PRE OUT.
7. If you want to listen to music via headphones: connect the headphones to the Headphones output (check “Headphones connection” for more details).
8. If you want to stream music via Bluetooth® from compatible devices check “Bluetooth® Connection” for more details.
9. Your amplifier is ready for operation.
Only speakers within range of impedance 4 – 8Ω can be connected to this amplifier. Connecting speakers outside this range can damage this amplifier and/or speakers. This may void your warranty.
Operation
- Plug the Power Cable into the amplifier and into the electrical outlet.
- Turn on the amplifier – press the Power Switch (the Power Switch
).
The status LED located on the Volume Regulator should turn red in a few seconds.
If it does not, it means that the amplifier is working in abnormal condition (a protection mode) – turn off the power, unplug the Power Cable and check whether some of the cables are not short-circuited. After fixing the cables turn the amplifier on. - By pressing the Input Selector button on the front panel or pressing one of the input selector buttons on the remote controller, select which audio source you want to play. Make sure the audio source is properly connected to the rear panel inputs. The selected source is indicated by one of the LED indicators on the front panel.
- Turn on your audio source and start playback.
- Regulate volume on the amplifier to adjust the level of sound.
Note! Check “Additional Information” for other useful operating instructions.
High volume levels can damage this amplifier and/or speakers. This may void your warranty.
Headphones connection:
When headphones (not supplied with this product) are plugged into the headphone input (Phones) the transmission of sound to the speakers and PRE OUT is switched off. The speakers and PRE OUT are again active after you disconnect the headphones. The volume of the headphones is regulated by the Volume Regulator (front panel and remote controller).
All sound regulations (Loudness / Bass / Treble) will affect the sound transmitted to the headphones.
Operation
Listening at a high volume can cause hearing damage.
Volume Regulator (front panel and remote controller):
Using the Volume Regulator on the front panel or down ▼ and up ▲ buttons on the remote controller, you can adjust the sound volume from minimum (the knob – max counterclockwise) to maximum (the knob – max clockwise).
Distortion and sound quality worsening may occur when the knob is in the maximum position. It may damage the amplifier and/or speakers. This may void your warranty.
MUTE (remote controller):
During playback press this button to stop amplifier audio output (no sound will be audible in speakers, headphones nor through the PRE OUT).
Press the MUTE again or change the volume level (volume regulator on the front panel or volume buttons on the remote controller) to recover the audio signal output back.
LOUDNESS (front panel):
Press the LOUD loudness compensation button down (
) to increase the level of the high and low frequencies – it is intended to be used at low listening levels. Press the button again (
) to get back to regular amplifier settings. The DIRECT button will not affect the operation of the LOUD button.
Using high volume levels can damage this amplifier and/or speakers. This may void your warranty.
DIRECT (front panel):
Press the DIRECT button down (
) to enjoy the purest sound without any adjustments (BASS and TREBLE regulators will be disabled). Press the button again (
) to allow sound adjustments by the BASS and TREBLE regulators. The DIRECT button will not affect the operation of LOUDNESS.
Using the DIRECT OFF and BASS / TREBLE regulators at high volume levels can damage this amplifier and/or speakers. This may void your warranty.
TREBLE regulator (front panel):
You can adjust the treble output of the amplifier. The default: the knob is in the center position: the marker on the knob in the vertical position.
Turn the knob counterclockwise (-) to decrease the number of high frequencies.
Turn the knob clockwise to increase the number of high frequencies (+).
The TREBLE regulator is active only in the DIRECT OFF mode.
Operation
BASS regulator (front panel):
You can adjust the bass output of the amplifier. The default: the knob is in the center position: the marker on the knob in the vertical position.
Turn the knob counterclockwise (-) to decrease the number of low frequencies.
Turn the knob clockwise (+) to increase the number of low frequencies (+).
The BASS regulator is active only in the DIRECT OFF mode.
DIMMER (remote controller):
After the amplifier is turned on, the vacuum tube window is backlit (factory setting).
Press the DIMMER button to switch off the backlight of the vacuum tube window.
Press the button again to switch on the backlight.
Bluetooth® Connection
Bluetooth® Connection
- After the amplifier is switched on – the built-in Bluetooth® the receiver is waiting to be paired with a Bluetooth® source.
- Select the Bluetooth® input – the blue Bluetooth® Input LED indicator will be flashing.
- Select Bluetooth® on your audio source (smartphone, laptop, etc.) and start scanning for available Bluetooth® devices.
- After a short time “HTA-600B” will appear on the screen of your audio source.
- Select “Pair” on your audio source to connect with the amplifier. After the connection is successful the Bluetooth® Input Led Indicator will be illuminated continuously and it will remain illuminated as long as the current connection is active.
- HTA-600B will now be ready to play your music wirelessly within a range of approximately 5 meters. Start playback on your audio source.
Note! Please refer to your audio source user instruction for details on operating the Bluetooth®. Operation and names of specific functions may vary on different devices.
Important Notes – Bluetooth® Connection - As long as the amplifier is not switched off for longer than 10 seconds – the current Bluetooth® connection is active (even if you change the input). After that time the connection is lost and you will have to repeat the pairing procedure.
- When you move away from the working range of the amplifier Bluetooth ® receiver for longer than 60 seconds, the current Bluetooth ® connection will be lost and you ill have to repeat the pairing procedure. Within 60 seconds the connection can be automatically reconnected.
- When you want to use another Bluetooth ® audio source than currently active, you have to disconnect the active connection and start the Bluetooth ® connection procedure.
- Make sure the antenna is securely and firmly installed as well that it is not obscured- otherwise the “HTA-600B” Bluetooth® device may not be found or the connection may be unstable.
Bluetooth® Connection
Note! The above-listed functionality may vary on different Bluetooth® audio sources (smartphones, computers, or other compatible devices). For some audio source devices, it may take a shorter or longer period of time to reconnect to the amplifier or it may even require repeating the pairing procedure each time the Bluetooth® connection is lost.
Note! If your Bluetooth® audio source is not able to find the “HTA-600B” Bluetooth ® device or connect to it then switch off the amplifier, wait at least 60 seconds, and after the amplifier is switched on repeat the pairing procedure.
Additional Information
Break-In
Your TAGA Harmony amplifier sounds great immediately after it is taken out of the carton but as all hybrid amplifiers, this amplifier requires a “break-in” period to reach its full sonic capabilities.
During the “break-in” period it is recommended to operate the amplifier at moderate volume levels.
The first level of the “break-in” is reached after approximately 10 hours of play.
The optimal level of the “break-in” is reached after approximately 40 to 60 hours of play.
It is recommended to avoid one-time short periods of operation unless the amplifier reaches the first “break-in” level. When the amplifier is turned on, it should operate for around 4-6 hours.
Turn off procedure Make sure to turn off the amplifier first when powering down your system.
If the amplifier was turned off even for a short period of time, you should wait at least 2 minutes before turning it back on. Do not turn it ON then OFF and then ON again in quick succession.
Follow this procedure each time you turn your amplifier OFF / ON. This precaution will minimize the stress (high voltages) on internal components.
Vacuum tubes – noise floor and interferences
It is a normal phenomenon for an amplifier equipped with vacuum tubes to produce a significant amount of noise (called noise floor or self-noise) which can be audible in speakers and headphones (in one or both channels).
Devices equipped with vacuum tubes are more prone to various types of interferences generated by nearby electronic equipment – try to eliminate such a problem by moving this product away from the source of interference or trying to power it from a different power line than other equipment (e.g. from a power outlet in another room).
Vacuum Tube Replacement
The lifetime of vacuum tubes may vary and depends on their operation time and ambient temperature, playback volume levels and the number of on and off cycles.
Replacement vacuum tubes are not supplied with this product.
Additional Information
The warranty time for vacuum tubes is shorter than for other components of this device – for more details check your warranty terms or contact a local dealer.
The vacuum tubes are installed inside the device and should be replaced only by qualified service personnel.
Power transformer – Power filters and conditioners
It is a normal phenomenon that the device’s power transformer may generate a certain amount of audible noise.
Very loud operation of the power transformer may be caused by the low quality of power supply (voltage surges etc.).
In such a case, we suggest using a power filter or conditioner – you can also try to power this product from a different power line than other devices (e.g. from a power outlet in another room).
Specifications
| Vacuum tubes | 2 x 6H3 (Made in Russia) |
| Power output/impedance | 2 x 30W 8f2 2 x 50W 40 |
| DA converter | 24bit / 192kHz Cirrus Logic CS4344 |
| Wireless connectivity | Bluetooth® v4.0 |
| Digital inputs | Optical |
| Analog inputs | CD, Line |
| Analog outputs | RCA Pre-Out |
| Headphone output | Impedance: 32-3000 Output power: 300mW, 3000 |
| Frequency response | 20Hz – 20kHz (±2dB) |
| Total Harmonic Distortions | 51% (1kHz, 1W) |
| Signal/Noise ratio | 75dB |
| Features/accessories | Bass / Treble regulation Aluminum remote controller Antenna Bluetooth® Removable IEC power cord |
| AC power / power consumption | 220-240V 50/60Hz, 150W |
| Dimensions (H x W x D) | 8.5 x 43 x 31 cm |
| Weight | 6 kg / pc. |
Bluetooth® is a registered trademark of Bluetooth SIG, Inc.
We reserve the right to change the technical data and the design of the product without notice as a result of further development.
We strongly advise contacting a professional installer or dealer in order to install TAGA Harmony products.
We recommend using high-quality TAGA Harmony cables and other installation accessories.
Kit Content:
| Amplifier | 1EA |
| Remote Controller | 1EA |
| Bluetooth® Antenna | 1EA |
| Power Cable | 1EA |
| Instruction Manual | 1EA |
![]() | Your product is marked with the symbol as shown on the left. For EU (European Union) member users: This product has been tested and found in compliance with requirements of the European Community 2014/30/EU (EMC) & 2014/35/EU (LVD) & 2014/53/EU (RED) directives. |
![]() | IMPORTANT! Your product is marked with the symbol as shown on the left. For EU (European Union) member users: According to the WEEE (Waste electrical and electronic equipment) Directive, do not dispose of this product as household waste or commercial waste. waste electrical and electronic equipment should be appropriately collected and recycled as required by practices established for your country. For information on recycling of this product, please contact your local authorities, your household waste disposal service, or the shop where you purchased the product. |
TAGA EUROPE
POLPAK POLAND Sp. z o.o.
AL.JEROZOLIMSKIE 331A
05-816 REGUŁY k/WARSZAWY, POLAND
Email: [email protected]
www.TagaHarmony.com

























