
DIAMOND / PLATINUM SE / PLATINUM / PLATINUM SLIM /
AZURE / AUDIO-VIDEO / inMOVE Passive Speaker Series*
*and other series of passive speakers not listed.

Instruction Manual
Introduction
Congratulations on purchasing TAGA Harmony speakers!
Our speakers provide the finest music and home theatre performance with wide dispersion and spaciousness, deep bass, and impressive dynamics, adding sonic accuracy, precise location, and ultra-low distortions. Utilizing advanced materials, state-of-the-art engineering and innovative design by an international team of professional designers position TAGA Harmony as one of the leaders in the audio industry. Thanks to unique technology, used to build our speakers and the true passion of our designers TAGA Harmony is setting the standard for sonic excellence and offers the best value in sound performance.
Whether you enjoy your favorite music or movie TAGA Harmony speakers always deliver the high-end sound with striking clarity and spaciousness as well as dynamic low bass at any volume level.
CABINET CARE
Great care and craftsmanship have gone into the construction and finish of the cabinet. Periodically use a soft, dry cloth to remove dust or fingerprints. Do not use strong chemical cleaners, paper towels, or other abrasive materials as it may damage the finish.
IMPORTANT REMARKS
Please read this instruction manual carefully before installation and keep it for future reference.
- If not clearly specified otherwise in the product specifications (available on the www.tagaharmony.com website), this speaker is intended for indoor use only.
- Please do not dismantle any parts of the speakers as this may void your warranty – servicing should be done only by a qualified TAGA Harmony repair center.
- During connecting the speakers make sure to power off your amplifier(receiver) or another source.
- Make sure that all connections are done according to this manual and a manual is provided with your amplifier(receiver).
- Make sure that your amplifier(receiver) has suitable output power and a working impedance compatible with the speakers. Using an unsuitable amplifier(receiver) may damage the speakers and/or amplifier(receiver) and may void your warranty. The speakers may be damaged by a too powerful amplifier(receiver) [too high output power] as well as by an underpowered amplifier(receiver) [distortions of sound].
- Do not use high volume levels for a long time – this may damage the speakers and void your warranty.
- When switching on and off your amplifier(receiver), turn down the volume to avoid a strong electrical impact to be delivered to the speakers.
- Avoid positioning the speakers too near to a traditional TV set – these speakers are not magnetically shielded.
- Position the speakers in ventilated and dry atmosphere and do not expose them to the sun or other heat sources.
- Position the speakers on a stable and hard surface.
- Make sure to avoid short-circuit of + and – speaker terminals: this may damage the speakers and/or amplifier (receiver) and may void your warranty.
- When the speakers are not operating, cover them with protective grills (if supplied).
- As safety precautions to avoid tip-over of speakers we recommend anchoring them to the wall or other permanent construction.
Note! Wall anchoring devices have to be purchased separately and are not delivered with your speaker.
SPECIFICATIONS
Full technical specifications are available on the www.TagaHarmony.com website.
Unpacking the speakers
If you notice any damages in transportation, report it immediately to your dealer. Keep the speaker carton for future use.
Your speakers are delivered in the factory packaging (carton) and may be packed in a few different ways:
- Floorstanding (F) speakers: 1 carton usually contains 1 piece of the speaker.
- Bookshelf (B) and Surround (S) speakers: 1 carton usually contains 2 pieces of the speaker.
- Center (C) speakers: 1 carton usually contains 1 piece of the speaker.
- LCR / LCRS speakers: 1 carton usually contains 1 piece of the speaker.
- Home Theatre packages:
5.0: 1 carton usually contains 5 pieces of the speaker.
6.0: 1 carton usually contains 6 pieces of the speaker.
7.0: 1 carton usually contains 7 pieces of the speaker.
Note! For detailed information about a number of speakers refer to the information on the packaging.
Floorstanding (tower) Speakers (F):
Most floor-standing speakers are supplied with spikes – depending on the series and model the spikes may be packed in the same packaging as the speakers or separately.
Depending on the series and model the speakers may be provided with factory bases (plinths) or feet and additional accessories for installing them.
Note! The installation instruction for bases (plinths) or feet may be provided separately – usually in the box with the bases (plinths) or feet.
Note! Some accessories may be packed with the speakers and some with the bases (plinths) or feet. Check with your local dealer for more details.
Floorstanding (F) speakers: 1 carton usually contains 1 piece of the speaker.
For certain floor standing speakers 1 carton may contain 2 pieces – refer to the information on the packaging. When unpacking your speakers you can choose one of two installation options:
1) with the base(plinth) or feet and spikes or with 2) the spikes only.
If your speaker is provided with the base(plinth) or feet TAGA Harmony recommends the first option.
- BASE(PLINTH) / FEET with SPIKES [refer to a separate installation instruction]
1 carton contains 1 piece of floor standing speaker
To prevent damage to the speaker, install the base(plinth) / feet and the spikes while the speaker is still in the carton.
Place the carton with the speaker on the floor in the upside-down position and open it from the bottom, remove the protective bag, and install the base(plinth) / feet and the spikes.
1 carton contains 2 pieces of floor standing speaker [including Home Theatre packages]
Remove the speakers from the carton and place them on a stable surface in a horizontal position above the floor level.
Remove the protective bag from the bottom of the speakers and install the bases(plinth) / feet and the spikes. - SPIKES only
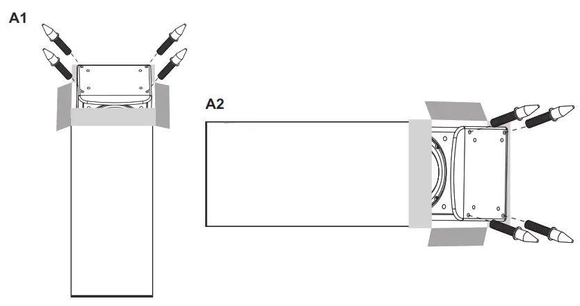
1 carton contains 1 piece of floor standing speaker
To prevent damage to the speaker, install the spikes while the speaker is still in the carton.
Place the carton with the speaker on the floor in the upside-down position and open it from the bottom, remove the protective bag.
Screw-in the spikes into the threaded sockets located at the bottom side of the speaker (place the speaker in the A1 or A2 position).

FINAL STEP
Carefully turn the carton with the speaker upside down. When the speaker is securely placed on the floor, remove the carton and internal packaging – your speaker is ready for placement in your room.
1 carton contains 2 pieces of floor standing speaker [including Home Theatre packages]
Remove the speakers from the carton and place them on a stable surface in a horizontal position above the floor level.
Remove the protective bag from the bottom of the speakers.
Screw-in the spikes into the threaded sockets located at the bottom side of the speaker (place the speaker in the A3 position).

FINAL STEP
Carefully turn the speaker upside down. When the speaker is securely placed on the floor, remove the protective bag – your speaker is ready for placement in your room.
Note! If your speaker is equipped with 2 adjoining threaded sockets at each speaker corner then to provide better speaker stability the outer sockets are recommended for installing the spikes.
Note! Certain speakers may be provided with additional rubber feet which can be used interchangeably with the spikes.
Note! Depending on the series and model the speakers may be provided with additional spike accessories (like decorative rings etc.).
Bookshelf (B), Satellite (S), Surround (S), LCR and LCRS Speakers and Home Theatre packages:
Place the carton on the floor.
Open it and carefully take out the speaker/speakers.
Installing optional rubber pads

Certain speakers may be supplied with self-adhesive rubber pads.
If you plan to place your speakers on bookshelves, speaker stands, and other surfaces you may protect your speakers and placement surfaces by installing the rubber pads to the bottom corners of your speakers.
Placement
Floorstanding Speakers Remarks:
- Never drag the speakers to move them, as this can damage the spikes and/or the cabinet. Always lift the speakers and carry them to a new location.
- The speakers have a high center of gravity and may become unstable and fall over during earthquakes, when rocked or improperly positioned. If this is a concern, the speakers should be anchored to the wall, floor, or other solid objects.
STEREO : Floorstanding (F) / Bookshelf (B) / Satellite (S) / LCR (left-right) / LCRS (left-right)
Before deciding where to place the speakers, search for the best location in your room, keep in mind the following rules, and base on the figure on this page as a guide:
- For the best results, place the speakers 150 -250 cm (5 – 8 feet) apart from each other and this distance should be around ¾ of the distance from your listening position to the front line of speakers.
- Keep the tweeters approximately at the ear level while seated.
- Twisting the speakers a little inward towards the listening position may give a more spacious and realistic soundstage.
- Placing the speakers near a corner or back wall will tend to increase their bass output but may result in a “boomy” or “muddy” sound.
- Placing the speakers further into the room will tend to decrease their bass output, but may result in improved articulation and clarity.
- Place the speakers at least 60 cm (2 feet) away from corners and other surfaces which may interfere or reflect sound (like tall furniture).
- Some models may be labeled as the Left and Right channels (according to the info on the rear speaker label).
- We suggest experimenting with speakers placement to achieve the best bass level and stereo imaging in your room.
- Refer to the “HOME THEATRE” chapter if you also plan to use the speakers in your home theatre system.
See the below example of speakers placement in Stereo systems
HOME THEATRE
For FRONT channels: use the main speakers (Floorstanding (F) / Bookshelf (B) / Satellite (S) / LCR (left-right) / LCRS (left-right)). Place one speaker on the left and another on the right, along either side of your video screen (TV, projection screen).
Refer to the “STEREO” chapter for further information regarding front speakers placement.
For CENTER channel: use the center speaker (Center (C) / LCR (center) / LCRS (center)).
Place the speaker horizontally at the ear level while seated. If you have a TV mounted on the wall, place the speaker slightly below it. If you have a TV on a table, place the speaker above it and angle it towards the ear level while seated (if possible).
6.0/6.1 systems – place the second center speaker (rear center) on the opposite wall to the first one – at the same height and angle it towards the ear level while seated (if possible).
The center speakers can be placed on bookshelves, speaker stands, or hung on walls.
For SURROUND channels: use the surround speakers (Satellite (S) / Surround (S) / LCR (surround: left-right) / LCRS (surround: left-right)). The surround speakers can be placed on bookshelves, speaker stands, or hung on walls.
Place the speakers above the ear level while seated, but no higher than the ear level while standing.
5.0/5.1/6.0/6.1 systems – place the right and left surround on the right and left side of your listening position or place them in corners behind your listening position.
7.0/7.1 systems – place the right and left surround on the right and left sides of your listening position. The two additional rear surround speakers should be placed behind your listening position. They should be placed at equal distances from your listening position, and about half as far as the right and left surround. All four surrounds should be mounted at the same height.
For the BASS channel: use the active subwoofer. TAGA Harmony active subwoofers will add impact and realism to both music and film soundtracks. Contact your TAGA Harmony dealer to learn more about the best option for your system. Refer to your subwoofer instruction manual for more information about your subwoofer placement.
Note! Final placement depends on a home theatre system, room acoustics and space, and your listening preferences.
Satellite (S) Speakers
TAGA Harmony speakers marked as „satellite speakers” can be used in Stereo (as Left and Right speakers) and Home Theatre systems (as Front and Surround channels).
LCR / LCRS Speakers
TAGA Harmony LCR and LCRS speakers can be used in Stereo (as Left and Right speakers) and Home Theatre systems (as Front, Center, and Surround channels).
Dipole / Bipole Surround Speakers
Certain surround speakers may have a Dipole / Bipole design with a set of drivers located on either side of the speakers. When installing such speakers make sure that the speakers’ sides with the tweeters drivers on the top (over the mid-woofer drivers) face the front of the listening room.

| 1. TV or projection screen 2. Front channel left the main speaker 3. Powered subwoofer 4. Center speaker 5. Front channel right main speaker 6. Surround channel left speaker 6a. Surround channel left speaker (not applicable for 7.0 / 7.1) | 7. Surround channel right speaker 7a. Surround channel right speaker (not applicable for 7.0 / 7.1) 8. Rear channel left surround speaker (only 7.0 / 7.1) 9. Rear channel right surround speaker (only 7.0 / 7.1) 10. Listening position 11. Rear center speaker (only 6.0 / 6.1) |
See the below example of Dipole / Bipole speakers placement in surround channels.
Note! Remember to point the tweeter driver on the top (over the mid-woofer drivers) to the front of the listening room.

Note! Check with your local dealer for more information about other placement options and multichannel applications.
Wall-Mounting of Satellite (S), Surround (S), Center (C), LCR, and LCRS speakers
Certain speakers can be equipped with wall mounts located on the rear panels. They can be mounted on walls or other vertical surfaces. The customer is responsible for the proper selection and use of mounting hardware (not provided with the product) to properly and safely install the speakers on the walls.
Note! The speakers are not intended for ceiling mounting!
- In order to install the speaker choose and prepare hooks and screws or wall anchors which are appropriate for the mounting surface and the speaker weight – check with your local dealer or installer for more details.
Note! Hooks, screws, and wall anchors are not included with your speakers.
- Install the prepared mounting hardware in the wall where you want to mount the speaker.
- Connect the speaker cable to the speaker terminals.
- Hang the speaker on the wall.
Note! For in-wall installations, we recommend installing optional rubber pads (if provided with your speaker) on the rear of the speaker to protect the wall and the speaker as well as to provide extra space in-between.
Hooking up the wires
The speaker terminal can accommodate up to 10 AWG bare speaker cables (up to 14 AWG in selected models – consult your local TAGA Harmony dealer). It is recommended to leave about 150 cm (5 feet) of extra cable at the speaker end to facilitate positioning and installation of the speaker. Depending on the model TAGA Harmony speaker terminals accept the most popular types of plugs (banana plugs, spades plugs, etc.).
Do not use staples, nails, or other metal objects to secure the speaker cables. You will get the best sound quality and least amount of hum by keeping the speaker cables away from other electrical wires and cables.
WARNING! During connecting the speakers make sure to power off your amplifier(receiver) or another source.
Note! Consult your local TAGA Harmony dealer for further information about speaker cables and connection options.

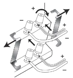
The speakers utilize color-coded terminals. The RED coded terminal is +, the BLACK coded is terminal is –: some terminals may have additional marking + and –. Pay attention to connecting the polarity of the speaker correctly with the amplifier speaker output terminals (connect RED + with RED + and BLACK – with BLACK -). Please refer to your amplifier(receiver) instruction manual for more information. The most common connection is shown in the left figure. IMPORTANT: Make sure to avoid a short- circuit of RED(+) and BLACK(-) speaker terminals – this may damage the speakers and/or amplifier(receiver) and may void your warranty.
Standard connection
The right wiring diagram shows polarity connections for one channel of a stereo or home theater system.

Bi-wiring connection (selected speakers only)

The outer connection panel and internal dividing network (crossover) are designed so that separate sets of speaker cables can be attached to the low-frequency driver and high-frequency driver portions of this dividing network. This is called “bi-wiring”.
Bi-wiring can provide several sonic advantages and considerably more flexibility in power amplifier selection (Single-Stereo and Dual-Stereo).
- Loosen the terminals and remove the speaker jumpers.
- Insert the speaker wire for the high frequencies into the top set of terminals and tighten.
- Insert the speaker wire for the low frequencies into the bottom set of terminals and tighten.

Speaker wire jumpers
Selected speaker models may be equipped with separate speaker wire jumpers: 2 jumpers (RED + and BLACK -) for each speaker.
If you want to use the bi-wiring connection you do not have to install the jumpers. If you want to use the standard connection, install the jumpers as shown in the figure. Insert the banana plugs in the upper terminals – unscrew lower terminals, insert the spade plugs and tighten the terminals.

Removable front logo badge (selected models)

Selected speaker models may be equipped with the magnetic front logo badge. Usually, the speaker is delivered with the badge installed. To remove the badge pull it gently forward. To install the badge back gently attach it to the place from where it was removed.
Note! Make sure not to scratch the speaker during removing/installing the badge.
Final adjustments
After you have your speakers positioned in the room, correctly connected, and your audio system properly set up, you can start doing final adjustments.
Break-In
TAGA Harmony speakers sound great immediately after they are taken out of the carton.
Start listening to music at moderate volume levels to break in the speakers.
The speakers will sound even better after approximately 3-50 hours of play.
Sound
Start playing your favorite music or video. You should hear balanced audio reproduction across the entire frequency spectrum. If otherwise then check all wiring connections or consult your local TAGA Harmony dealer. In stereo systems, the amount of bass and the stereo-image quality will be affected by a number of different factors, including your room’s size and shape, and the position of the speakers in the room. Listen to a variety of music selections and note the bass level. If there is too much bass, move the speakers away from the nearby walls. If there is not enough bass move the speakers closer to the nearby walls. For a better stereo image – experiment with positioning speakers relative to each other and relative to your listening position.
We strongly advise contacting a professional installer or dealer in order to install TAGA Harmony products.
We recommend using high-quality TAGA Harmony cables and other installation accessories.
![]() | Your product is marked with the symbol as shown on the left. |
![]() | IMPORTANT! |
TAGA EUROPE
POLPAK POLAND Sp. z o.o.
AL.JEROZOLIMSKIE 331A
05-816 REGUŁY k/WARSZAWY, POLAND
Email: [email protected]
www.TagaHarmony.com




















