ELAC Debut 2.0 B6.2 Bookshelf Speakers
Specifications
- Product Dimensions:6 x 7.7 x 14.8 inches
- Item Weight: 31 pounds
- Connectivity Technology: Wired
- Speaker Type: Bookshelf, Center Channel
- Recommended Uses for Product: Music, Movies
- Enclosure Type: 2-Way Bass Reflex
- Frequency Response: 46Hz-35,000Hz
- Nominal Impedance: 6 Ohms
- Brand: ELAC
Introduction
It was difficult to top its award-winning predecessor, but the new B6.2 raises the bar even further by providing performance that is inversely proportional to its small size. And with sound that rivals speakers that cost much, much more, it is still the finest value among bookshelf speakers. Response to Frequency: 46Hz to 35000Hz
Safety Instructions
General information
- Please read and follow these safety instructions.
- Keep them safe for future reference.
- Observe all warnings on the speaker and in the manual. Please check the speaker for damage before use. The speaker must be in perfect working condition. Damaged parts may lead to personal injury.
Use only as directed
- Connect the speaker(s) according to the instructions in the manual.
- Many ELAC speakers are equipped with spikes and/or antislip feet. They are explicitly provided for leveling the speaker. For leveling on an uneven floor, unscrew the spikes or ant-slip feet by 2-3 turns of thread. The speaker should always be in perfect vertical alignment: the stability of the speaker must not be compromised by using spikes or anti-slip feet as the speaker may tip-over.
Location
- Install the speakers on a level surface only
- When choosing the location of these speakers do not place them in locations that are:
- In direct sunlight
- Very humid
- Prone to vibrations
- Exceptionally hot or cold
- Near CRT Televisions (the speakers are not magnetically shielded and may cause color issues with a CRT based TV)
- Close to magnetic cards (Since the speakers are not magnetically shielded placing magnetic cards such as credit cards or commuter cards may cause them to fail).
WARNING
Please ensure the product is perfectly stable to avoid injury from tip-over. Please note, that stability can be increased by using spikes on carpeted surfaces. However, the mounting of spikes must be carried out carefully due to their very sharp ends which may cause injuries. The stability on slippery floors can be increased by using Velcro fastening tape or double-sided adhesive tape. Do not install the speaker near any heat sources such as radiators, heating valves, stoves, or other apparatus (including amplifiers) that produce heat, or in areas where there is a risk of explosion.
- Do not block any ventilation openings. Install in accordance with the manufacturer’s instructions.
- Do not install the speaker in a closed rack or in a closed cupboard.
- Do not put burning candles on or near the speaker.
- Do not install the speaker near transformers because electromagnetic stray fields can cause hum noise on Wooers.
- In combination with certain materials/ lacquers material surfaces, ant-slip feet or spike washers may cause colored imprints on the surfaces.
Overload
Extreme overload of the device due to very high volume may cause damage to individual components. Because or tneposSIDie danger, you should never leave loudspeakers under extreme overload condition unattended.
Service
DANGER Do not open the cabinet because the components and conductors may carry current Servicing to be carried out by qualities service personnel only.
Servicing is required when the loudspeaker has been damaged in any way, such as damage to the power supply cord or the plug, or when liquid has been spilled or objects have fallen onto the loudspeaker, the speaker has been exposed to rain or moisture, does not operate normally, or hass been dropped. To reduce the risk of electric shock, do not open the loudspeaker. Servicing should bee Carried out by quelled service personnel only.
Cleaning NOTE Cean only with sort, smooth cloth or with dust brush. Do not use scouring agents, alcohol, benzene, Turniture polish or other agents Tor cleaning! Modern furniture is often coated with multiple varnishes and plastics which can be treated with chemical agents. Some of these agents contain Substances which degrade or soften the rubber feet. therefore we advise that you place an antk-Slip mat underneath the loudspeakers).
Volume CAUTION! Continuous high volume may cause severe damage to your hearing. Please listen responsibly.
Disposal The packaging is made from recyclable materials. Dispose of this in an environmentally friendly manner. At end of life do not dispose of the speaker(s) with standard household waste. The speaker must be recycled in accordance with local legislation. Ask your local government for futher information on recycling as the device contains valuable raw materials. Disable the speaker(s) before disposal.
Philosophy Thank you for purchasing this ELAC product Since the time we started (1926), ELAC has always striven to achieve the very best. Your new ELAC speakers are built to the highest standards using high-quality components that are carefully constructed to deliver the bestinclass sound quality. Iney are developed by a passionate group of individuals wrnose soul purpose is to bringa new dimension of sound quality into your home. Enjoy
Before Use
Avoid damage to the speakers and other components:
- Carefully unbox the speakers carefully to avoid physically damaging your speakers.
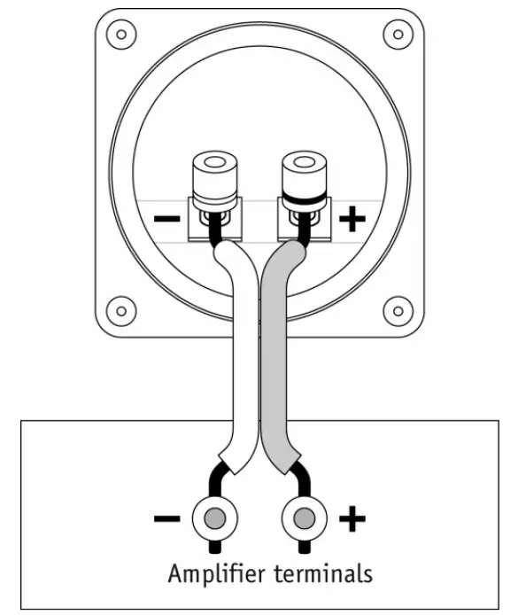
- Use appropriate gauge wires (minimum of 16 gauge wire for runs up to 25 feet).
- Make sure wire polarity is connected correctly. Most speaker cables are coded for ease of use. Make sure positive (red) connection on the amplifier terminal is connected to the positive (red) on your speakers.
- Follow the same instructions or the negative side. strip off approximately 12 or the insulation from the ends or ten speaker cable, wattle bare strands Ana insert into the Dining post. Ensure your equipment is turned off before connecting speakers.
- Check to ensure positive and negative wires are not touching each other once they’re connected to the speaker terminals.

Installing and Removing the Grills
The mesh grills of your Debut speakers are designed to be removable if desired. To remove it, hold the top or bottom edges of the grill close to the mounting points and pull gently. 1o replace the grill, align the pegs on the grills with the holes on the speaker and press in gently.
IMPORTANT!
ELAC F5.2/F6.2 Floor standing Speakers Safety Clip
The ELAC F5.2 and F6.2 Floor standing speakers include a safety clip pre-installed on the back of the cabinet for securing to a wall to prevent tip-over. Use support hooks (not included) screwed into a wall and pass appropriate size cord (not included) around the hook and through the safety clip. Test to ensure mounted hooks and cord will prevent tipping of the speaker.

CAUTION
The safety clip is nota mounting fixture and the speaker should not be hung on the wall using the clip. ELAC goes not Claim responsibility Tor damage resulting rom improper assembly, installation, strength or the installation materials, misuse, or natural disaster.
Speaker Placement
Dealer maximum performance and optimal sound quality tromp your ELAC Debut speakers with proper the speakers for your particular room. There are no virile the following suggestions will help optimize your desired results. Remember the best sound setup is what sounds best for you so don’t be afraid to experiment and make adjustments to the placement and directivity f th ne speaker.

Place the speakers approximately one to two feet away (ig. 1) Tromp bondages such as walls) and especially articular to comma royalty enhance that mic unnatural nr location i idablato citing ne loudspeaker so that the distance dts unnatural. the distance to the rear wall is not equal to the distance to the side wall.
Stereo Setup
- For the best results and the most realistic stereo image and lifelike sound, place the speakers so that an equilateral triangle (ig. 2) Is created between the speakers and your favorite listening position. This set up creates the optimum imaging performance.
- If you find that your B5.2/B6.2 or F5.2/F6.2 left and right speakers are too far apart, angle (toe in) them towards the listening position to gain a more focused center Edge.

Surround Sound Setup
Whether you use the B5.2/86.2 bookshelf or the F5.2/F6.2 floor standing speakers for a 5.-channel surround higher as the front speakers for the most enveloping canfield 1ke the onto speaker you may need to PEE WIL e poisoning by pointing the rear surround speakers towards the listening area.

Center Speaker Setup
The ELAC C5.2/C6.2 center channel is designed to produce dialog sounds and should be positioned above or DE low (ig. 3) your television. Align with the center or the television. As much as possible, try to keep the C.2c6.2 close to the same level (night) as your trot speakers tor a more even sound stage. Keeping the same height for the center channel can be very challenging so it might be necessary to tilt the center speaker up (IT too low) or down (it too high), to aim it towards the listening area.

Optimal results for the center are obtained by setting the receiver/processor center channel size to small. if you have a choice, set the crossover frequency to 80Hz.
On-Wall Speaker Setup
The ELAC OW4.2 on-wall speakers are designed as either on-wall surround speakers, on wall front channel speakers, or on-wall side channel speakers. Do not block the speaker vents on the bottom of
the speakers. We have included wall brackets for mounting the speakers to the wall; however mounting hardware is not included. We highly suggest that a professional installer performs this installation. Different wall materials require different types of mounting hardware. Mount the speaker bracket using the supplied screws to the rear of the speaker as shown in Fig. 1.
Mount the wall bracket to the wall using the appropriate mounting hardware based on your wall type. We recommend you consult an installation professional for mounting the wall plate to ensure a secure mount. Wall Mounting screws are not provided.


Frequently Asked Questions
The SVS sb 2000 subwoofer might be the greatest option, however I’m not sure about the amp. If that one is too pricey, their SB 1000 would also be a fantastic option.
Correct I will let Amazon know that their information about the 6.5″ woofer is incorrect. The question now is whether they can change it.
The size of the cabinet and woofer, and thus, the bass output.
The Sanus BF 24 would be a fantastic choice for many occasions because you want the tweeter to be at ear level when you’re in your ideal seating position…
These bookshelf speakers weigh more than speakers for the ceiling. They cannot be mounted in the ceiling unless special clamps or other solutions are considered, in my opinion.
Although I haven’t tried removing the tweeter grill, I prefer the primary grill off. I’ve read that the tweeter grill functions as a wave guide.
This wall mount is what I use.
Over 30W/ch, it is preferable.
These speakers are not powered. To drive these, you will need an amplifier. These may be driven effectively with 80 to 100 W.
Although the floor is less than ideal, bookshelf speakers can be installed wherever. Tweeters need to be close to the ear.
A power amp or an integrated amp is required. You might need to buy amplified speakers from Amazon, such as the Audio Engine or Kef Ls50.
To start with, I’m not an electrical engineer.
Second, these speakers are unpowered and will be connected to an amplifier rather than a power source directly. The voltage will be handled by the receiver/amplifier.
I think it’s referred to as a five-way binding post.



















