Operating instructions

About this Documentation
Documentation validity
This documentation applies to the following function modules in the AV series for mounting to AV valve systems and as a stand-alone variant:
- Exhaust modules
- Pressure regulators
- Shutoff modules
- Throttle modules
It is intended for installers, operators, service personnel, and system owners and contains important information on the safe and proper installation, commissioning, and operation of the product and how to remedy simple malfunctions yourself.
Additional documentation
- Only commission the product once you have obtained the following documentation and understood and complied with its contents.
- R412015575, Notes on Safety
- R412018507, valve system assembly, and connection, AV03/AV05
- System documentation (provided by the machine/system manufacturer and not included in the AVENTICS scope of delivery)
You can also find all instructions, with the exception of the system documentation, on CD R412018133.
Presentation of information
To allow you to begin working with the product quickly and safely, uniform safety instructions, symbols, terms, and abbreviations are used in this documentation. For better understanding, these are explained in the following sections.
Notes on safety
In this documentation, there are safety instructions before the steps whenever there is a risk of personal injury or damage to equipment. The measures described to avoid these hazards must be followed. Safety instructions are set out as follows:
SIGNAL WORD
Hazard type and source
Consequences of non-observance
- Measures to avoid these hazards
- Safety sign: draws attention to the risk
- Signal word: identifies the degree of hazard
- Hazard type and source: identifies the hazard type and source
- Consequences: describes what occurs when the safety instructions are not complied with
- Precautions: states how the hazard can be avoided
Table 1: Hazard classes according to ANSI Z 535.6-2006
DANGER
Indicates a hazardous situation that, if not avoided, will certainly result in death or serious injury.
WARNING
Indicates a hazardous situation that, if not avoided, could result in death or serious injury.
CAUTION
Indicates a hazardous situation that, if not avoided, could result in minor or moderate injury.
NOTICE
Indicates that damage may be inflicted on the product or the environment.
Symbols
The following symbols indicate information that is not relevant for safety but that helps in comprehending the documentation.
Table 2: Meaning of the symbols
Symbol Meaning
If this information is disregarded, the product cannot be used or operated optimally.
- Individual, independent action
Table 2: Meaning of the symbols
| Symbol | Meaning |
| 1. 2. 3. | Numbered steps: The numbers indicate sequential steps. |
Abbreviations
This documentation uses the following abbreviations:
Table 3: Abbreviations
| Abbreviation | Meaning |
| AV | Advanced Valve |
Notes on safety
About this chapter
The product has been manufactured according to the accepted rules of current technology. Even so, there is a risk of injury and damage to equipment if the following chapter and safety instructions of this documentation are not followed.
- Read these instructions completely before working with the product.
- Keep this documentation in a location where it is accessible to all users at all times.
- Always include the documentation when you pass the product on to third parties.
Intended use
The function modules are pneumatic devices that are attached to an AV valve system or used as a stand-alone device together with pneumatic valves.
The function modules are intended for professional use only and not for private use.
The function modules may only be used for industrial applications.
- Use within the limits listed in the technical data.
- Only use compressed air as the medium. Operation with pure oxygen is not permitted.
Improper use
Improper use of the product includes:
- Using the function modules for any application not stated in these instructions,
- Using the function modules under operating conditions that deviate from those described in these instructions,
- Use of the function modules as a safety component
- Using the function modules as a pressure relief valve within the meaning of the ISO 4414 standard.
The user alone bears the risks of improper use of the product.
Personnel qualifications
The work described in this document requires basic electrical and pneumatic knowledge, as well as knowledge of the appropriate technical terms. In order to ensure safe use, these activities may therefore only be carried out by qualified technical personnel or an instructed person under the direction and supervision of qualified personnel.
Qualified personnel are those who can recognize possible hazards and institute the appropriate safety measures, due to their professional training, knowledge, and experience, as well as their understanding of the relevant regulations pertaining to the work to be done. Qualified personnel must observe the rules relevant to the subject area.
General safety instructions
- Observe the regulations for accident prevention and environmental protection.
- Observe the safety instructions and regulations of the country in which the product is used or operated.
- Only use AVENTICS products that are in perfect working order.
- Follow all the instructions on the product.
- Only use accessories and spare parts approved by the manufacturer.
- Comply with the technical data and ambient conditions listed in these operating instructions.
- If there is a malfunction, do not attempt unauthorized repairs. Instead, contact your nearest AVENTICS sales office.
- You may only commission the product if you have determined that the end product (such as a machine or system) in which the AVENTICS products are installed meets the country-specific provisions, safety regulations, and standards for the specific application.
Safety instructions related to the product and technology
CAUTION
Danger of injury due to loose PUR tubing!
The push-in fittings are only suitable for PUR tubing if you are using PUR tubing from AVENTICS or if additional stiffener sleeves from other providers have been inserted in the ends of the PUR tubing.
- Use only AVENTICS stiffener sleeves with the following material numbers for PUR tubing from other providers:
| 8183040000 8183060000 8183080000 | Ø 4 x 0.75 Ø 6 x 1 Ø 8 x 1 |
General Instructions on Equipment and Product Damage
NOTICE
Mechanical loads!
Damage to function modules!
- Make sure that the function modules are not under mechanical strain.
The danger of injury if assembled under pressure or voltage!
Assembling when under pressure or electrical voltage can lead to injuries and damage to the product or system components. The danger of injury from electric shocks and sudden pressure drops.
- Make sure the relevant system part is not under pressure or voltage before performing the following tasks:
- Disassembling/assembling the product
- Disassembling/assembling the system
- Protect the system from being restarted.
Delivery Contents
- 1 function module according to order
- 1 set of operating instructions
Additionally for pressure regulators, depending on the version
- 1 or 2 blanking plugs
About This Product
Series AV function modules are pneumatic components, which extend the functionality of the connected valve. Depending on the order, you can mount the function modules
on the working connections of the AV valve systems or use them as a stand-alone device.
Devices to connect to AV valve systems have pneumatic push-in fittings on the valve side, which are directly inserted into connections 2 and 4 of the AV valve systems.
Stand-alone devices have pneumatic push-in fittings on the valve side for the tubing connection.

- Exhaust modules: For 5/3 directional valves with the closed center, outputs 2 and 4 are pressurized after switching in the center. If the actuator needs to be moved, e.g. for installation, maintenance, or to release persons, you can exhaust the operating lines by applying control pressure to the exhaust module. When combined with vertical actuators, exhaust modules with exhaust or pressure limitation may be used up to a maximum load of 15 kg as well as up to a speed of Vmax<33mm/s.
- Pressure regulators: You can mechanically regulate the pressure on output connections 2 and 4 of a valve on the pressure regulator and check it using a pressure gauge.
- single-channel pressure regulators regulate one of the two output connections: either output connection 2 or 4. The second output connection is uncontrolled.
- Two-channel pressure regulators regulate both output connections 2 and 4.
- Shutoff modules: You can manually shut off output connections 2 and 4.
- You can lock manually operated shutoff modules to prevent unintentional release.
- Pneumatically operated shutoff modules are available with and without position detection.
- Throttle module: The throttle module can be used to mechanically reduce the
flow to output connections 2 and 4 of a valve independent of each other.- Uni-directional throttle modules reduce the flow from the operating line to the valve system. Due to a non-return valve, the flow from the valve system to the operating line is almost unreduced.
- Bi-directional throttle modules reduce the flow in both directions.
Product identification
- Check the part number on the rating plate to determine whether the function module matches your order.
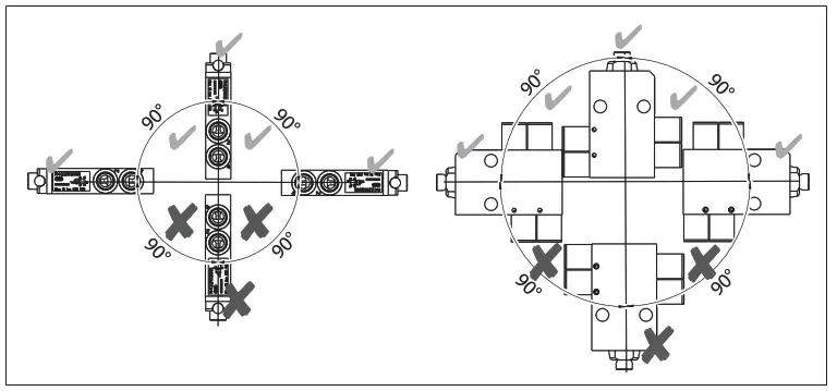
Mounting orientation
Exhaust modules, pressure regulators, throttle modules, and pneumatically operated shutoff modules can have any mounting orientation if used with dry and oil-free compressed air.
Manually operated shutoff modules must be fastened so that the lock points upwards. A deviation of up to ±90° is permissible (see Fig. 1).
Fig. 1: Permissible mounting orientation for manually operated shutoff module
Assembly
Function modules for assembly on AV valve systems and stand-alone variants are mounted in a different order.
CAUTION
The danger of injury if assembled under pressure!
Assembling when under pressure can lead to injuries and damage to the product or system components.
- Make sure that the relevant system part is not under voltage or pressure before you assemble the product.
- Protect the system from being restarted.
Mounting the function module to the AV valve system
Fig. 2 shows how to pneumatically connect a function module to a valve system using an exhaust module as an example. All other function modules are connected with the respective AV valve system in a corresponding way.
For the stand-alone variant, you must connect the valve side connections on the function module with the valve system using tubing.
- Remove the retaining clip.
- Remove the pneumatic push-in fittings.
- Plug the function module with the two valve side connections 2 and 4 into the two output connections on the valve.
- Insert the retaining clip back into the base plate to fix the function module.
Fig. 2: Mounting function modules (example: exhaust module for AV valve systems)
Mounting and stacking the function modules
In order to mount function modules, you will need mounting bracket kit R422103091, consisting of 2 mounting brackets (1) and 2x M4 countersunk screws (2).
- Mount the valve system on a mounting surface.
- Align the mounting bracket flush to the outer function modules and fix the mounting brackets onto the mounting surface, each with two M4 countersunk screws (3) (not included in the scope of delivery).
Mounting two-channel pressure regulators
Only use countersunk screws otherwise it may not be possible to mount adjacent operating lines. - Connect the two mounting brackets (1), each with one M4 countersunk screw (2) (included in the scope of delivery) with the pressure regulators. Tightening torque 1.2±0.2 Nm
Stacking two-channel pressure regulators
You will need stacking assembly kit R422103090, consisting of 5 stacking assembly plates and 6 oval-head screws, to stack the two-channel pressure regulators. - Place the stacking assembly plates (4) in the slot (6) on the top side of the pressure regulators so that they cover half of the two pressure regulators each. The stacking assembly plates must interlock with each other.
- Insert the oval-head screws (5) and tighten them. Tightening torque: 0.7 ±0.1 Nm/tool: T8
Connecting two-channel pressure regulators - Connect both operating lines to connections 2 and 4.
Fig. 3: Mounting and stacking two-channel pressure regulators
- Mounting bracket
- Countersunk screw M4, in the scope of delivery
- Countersunk screw M4, not in the scope of delivery
- Stacking assembly plate
- Oval-head screw
- Slot
Mounting and stacking exhaust modules, shutoff modules, throttle modules, and single-channel pressure regulators
NOTICE
Damage to property due to incorrect stacking assembly of function modules to the AV valve systems!
When stacking exhaust modules, shutoff modules, throttle modules, and single-channel pressure regulators into AV systems, they may be pressed together.
This means that the function modules on the AV valve connection are n longer tight.
- Fix the function modules on the left and right with mounting brackets.
- Make sure that the function modules are not pulled together, but mounted parallel to each other.
3. Mount both the mounting brackets on the function module with two M6 screws (7) with nuts (8) (not included in the scope of delivery). The screws are used as tie rods.
This way the modules are stacked.
Connecting exhaust modules, shutoff modules, throttle modules, and single-channel pressure regulators
4. Connect both operating lines to connections 2 and 4.
5. Exhaust module: Connect the pilot air to the pilot control connection.

Fig. 4: Mounting and stacking exhaust modules, shutoff modules, throttle modules, and single-channel pressure regulators
3 Countersunk screw M4, not in the scope of delivery
7 Screw M6, not included in the scope of delivery
8 Nut M6, not included in the scope of delivery
1 Mounting bracket
Mounting and stacking the stand-alone function modules
Stacking two-channel pressure regulators
- Place the pressure regulators next to each other so that both mounting pins (9) reach into the corresponding holes in the neighboring valve.
- Place the stacking assembly plates (4) in the slot (6) on the top side of the pressure regulators so that they cover half of the two pressure regulators each. The stacking assembly plates must interlock with each other.
- Insert the oval-head screws (5) and tighten them. Tightening torque: 0.7 ±0.1 Nm Tool: T8
Fig. 5: Stacking two-channel pressure regulators
9 Fixing pins
4 Stacking assembly plate
5 Oval-head screw
6 Slot
Mounting two-channel pressure regulators
In order to mount pressure regulators, will need mounting bracket kit R422103091, consisting of 2 mounting brackets (1) and 2x M4 countersunk screws (2).
- Fix the mounting brackets to the function module with one M4 countersunk screw each (included in the scope of delivery). Tightening torque 1.2±0.2 Nm
- Fix the mounting brackets on the mounting surface with two M4 countersunk screws each (not included in the scope of delivery).
Connecting two-channel pressure regulators - Connect both operating lines to connections 2 and 4.
Fig. 6: Mounting the two-channel pressure regulators on a mounting surface with mounting brackets
- Mounting bracket
- Countersunk screw M4, in the scope of delivery
- Countersunk screw M4 is not in the scope of delivery
Mounting and stacking exhaust modules, shutoff modules, throttle modules, and single-channel pressure regulators
To stack the exhaust modules, shutoff modules, and throttle modules you will need two M6 screws with nuts (not included in the scope of delivery). The screws are used as tie rods. The length of the screws depends on the number of function modules.
- Align the function modules parallel to each other. Position the mounting brackets on the outside of the function modules.
- Guide both M6 screws (7) through both the through holes on the mounting brackets and function modules (see Fig. 7).
- Place one M6 nut (8) on each of the two screws and tighten them. Tightening torque: 1.2 ±0.2 Nm
- Fix the two mounting brackets on the mounting surface with two M4 countersunk screws each (not included in scope of delivery).
Connecting exhaust modules, shutoff modules, throttle modules, and single-channel pressure regulators
5. Connect both operating lines to connections 2 and 4.
6. Exhaust module: Connect the pilot air to the pilot control connection.
Fig. 7: Mounting and stacking exhaust modules, shutoff modules, throttle modules, and single-channel pressure regulators
1 Mounting bracket
3 Countersunk screw M4, not in the scope of delivery
7 Screw M6, not included in the scope of delivery
8 Nut M6, not included in the scope of delivery
Operation
Exhaust module: Exhausting the operating line
To exhaust the operating line:
- Apply at least the minimum pressure P2 illustrated in Fig. 8, which corresponds with the pressure on connections 2 or 4, to the pilot control connection to operate the exhaust module.

Fig. 8: minimum pilot pressure depending on working pressure
The exhaust module and the air circuit should be tested monthly to ensure they function correctly.
Fig. 9: Exhaust module
10 Connection for the pilot airline
Pressure regulator: Setting the working pressure
CAUTION
The danger of injury due to escaping compressed air!
The pressure gauge connections are pressurized and must therefore always be closed off with a pressure gauge or blanking plugs during operation.
- Only remove the pressure gauge or blanking plugs when no compressed air is applied to the working connection.
NOTICE
The danger of overturning the adjustment screw!
Damage to the pressure regulator!
- Never turn the adjustment screw firmly all the way to the stop (maximum tightening torque: 1 Nm).
The appropriate AV valve must be controlled so that you can set the working pressure.
For single-channel pressure regulators, you can control the pressure either at connection 2 or connection 4, depending on the version.
For two-channel pressure regulators, you can control the pressure at connection 2 and at connection 4 independent of each other.
To set the pressure in the operating line you must set the adjustment screws for connections 2 or 4. The pressure in the operating line can be checked by mounting a pressure gauge (12, 13) to the respective pressure gauge connections.
- Replace the blanking plugs (14) with a pressure gauge (Ø 4) (15) if necessary.
- Loosen the lock nut (16) on the adjustment screw (17, 18).
- Turn the adjustment screw in a clockwise direction to increase the pressure. The setting in the end stop corresponds with the unregulated working pressure. Turn the adjustment screw in an anti-clockwise direction to reduce the pressure.
- Retighten the lock nut once the required pressure has been set.
Fig. 10: Pressure regulator, two-channel and single-channel
12 Pressure gauge connection for connection 2
13 Pressure gauge connection for connection 4
14 Blanking plug
15 Pressure gauges
16 Lock nut
17 Adjustment screw for connection 2
18 Adjustment screw for connection 4
Shutoff module: Blocking the working pressure
The shutoff module and the air circuit should be tested monthly to ensure they function correctly.
Manually operated shutoff module
To block the operating line:
- Use a screwdriver to turn the lock (18) 45° in an anticlockwise direction until it releases. Then turn another 45°.
- If necessary, protect the lock against unintentional actuation with a cable lock for shut-off valves (material number: 7472D02758) or a lock. The hole diameter is 5 mm.
To unlock the shutoff module:
- Remove the cable lock for shut-off valves or the lock.
- Turn the lock 45° in a clockwise direction, then push the lock in up to the end stop and turn it another 45° in a clockwise direction up to the stop.
Fig. 11: Manually operated shutoff module
18 Lock
Pneumatically operated shutoff module
To release the operating line:
- Apply at least the minimum pressure P2 illustrated in Fig. 12., which corresponds with the pressure on connections 2 or 4, to the pilot control connection to operate the shutoff module.
Fig. 12: Working pressure diagram for pneumatically operated shutoff module
Fig. 13: Pneumatically operated shutoff module
19 Sensor connection M8x1 (optional)
20 Pilot control connection Ø 4
Pneumatically operated shutoff modules are also available with position detection. A sensor with M8 connection can be used to query the position.
Table 4: Sensor data
Electrical data for the sensor
| Behavior | The sensor signal is supplied when no pilot air is applied at the shutoff point, i.e. no air flows through the operating line. |
| Output | PNP |
| Max. current consumption | 15 mA |
| Min./max. voltage range | 10 to 30 V |
| Short-circuit proof | Yes |
| Voltage drop | < 2.5 V |
| Protection class according to EN 60529/IEC529 | IP67 for assembled connection |
Table 5: Pin assignment for sensor connection
| Pin | Assignment | |
![]() | 1 | 0V |
| 4 | Output | |
| 3 | +Vs | |
Pin orientation depends on the sensor angle position.
Throttle module: adjusting the throttle
NOTICE
The danger of overturning the adjustment screw!
Damage to the throttle module!
- Never turn the adjustment screw firmly all the way to the stop (maximum tightening torque: 0.5 Nm).
Throttle modules come in uni-directional and bi-directional versions. You can identify the version by the symbol (23) on the front.
Operating lines 2 and 4 can be reduced independently of each other. To set the flow in the operating line you must set the adjustment screws for connections 2 or 4.

Fig. 14: Flow diagram for throttle module
- Using an Allen key, turn the adjustment screw (21, 22) counterclockwise 5 mm to increase the flow. The setting in the end stop corresponds to the maximum possible flow. Turn the adjustment screw in a clockwise direction to reduce the flow.
- If necessary, secure the adjustment screw with a cover plate (24) and/or a cover sticker (26).
Fig. 15: Throttle module
| 21 Adjustment screw for connection 2 22 Adjustment screw for connection 4 23 Symbol for the type of throttle 24 Cover plate to prevent changes to the adjustment screw | 25 Screw to fasten the cover plate 26 Cover sticker 27 Symbol for uni-directional flow direction 28 Symbol for bi-directional flow direction |
The throttle module and the air circuit should be tested monthly to ensure they function correctly.
Disposal
- Comply with national regulations regarding disposal.
Troubleshooting
Please contact one of the addresses found under www.aventics.com/contact.
Technical Data
Table 6: General data
General data
| Operating temperature range | -10°C to 60°C |
| Storage temperature range | —25°C to 80°C |
| Working pressure min./max. | 0-10 bar |
| Pressure regulator adjustment range | 0.5-10 bar |
| Setting the range of the throttle module | See Fig. 14 “Flow diagram for throttle module” |
| Permissible medium | Compressed air |
| Max. particle size | 40 pm |
| Oil content of compressed air | 0-5 mg/m3 |
The pressure dew point must be at least 15°C below the ambient and medium temperatures and must not exceed 3°C.
The oil content of compressed air must remain constant during the life cycle.
- Use only the approved oils from AVENTICS, see the AVENTICS online catalog, chapter “Technical information”.
Mounting orientation
- Exhaust modules, pressure regulators, throttle modules, and pneumatically operated shutoff modules:
Any if used with dry and oil-free compressed air - Manually operated shutoff modules: see Fig. 1
Table 7: Standards and directives
Standards and directives complied with
DIN EN ISO 4414 Pneumatic fluid power – General rules and safety requirements for systems and their components
Further technical data can be found in our online catalog at www.aventics.com/pneumatics-catalog.
Spare Parts and Accessories
Table 8: Accessories
| Description | Mat. no. |
| Cover sticker (4x): Prevents manipulation of the throttle module. The stickers can be placed over the adjustment screws to prevent unauthorized changes. After positioning, the stickers cannot be removed without destroying them. | R422003596 |
| Cover plate (incl. screw and 4 cover stickers): Prevents manipulation to the throttle module. The cover plate can be fastened over the adjustment screwto prevent unauthorized changes. The cover stickers can be used as additional protection. | R422003595 |
| Stacking assembly kit: To stack two-channel pressure regulators | R422103090 |
| Mounting bracket kit: To fasten function modules to the mounting plate | R422103091 |
Further information on spare parts and accessories can be found in the online catalog at www.aventics.com/pneumatics-catalog.
The data specified above only serve to describe the product. No statements concerning a certain condition or suitability for a certain application can be derived from our information. The given information does not release the user from the obligation of their own judgment and verification. It must be remembered that our products are subject to a natural process of wear and aging.
An example configuration is depicted on the title page. The delivered product may thus vary from that in the illustration. Translation of the original operating instructions. The original operating instructions were created in the German language.
R422003121–BAL–001–AC/2018-04 Subject to modifications. © All rights reserved by AVENTICS GmbH, even and especially in cases of proprietary rights applications. It may not be reproduced or given to third parties without its consent.
AVENTICS GmbH
Ulmer Straße 4
30880 Laatzen, GERMANY
Phone +49 (0) 5 11-21 36-0
Fax: +49 (0) 511-21 36-2 69
www.aventics.com
[email protected]
Further addresses:
www.aventics.com/contact




















