![]()
Cooker Hood
User Manual

GDT 2561 X – GDT 2562 X
01M-8802113600-4821-09
01M-8895563600-4821-09
01M-9201143600-4821-09
Please read this user manual first!
Dear Valued Customer,
Thank you for preferring this Grundig appliance. We hope that you get the best results from your appliance which has been manufactured with high quality and state-ofthe-art technology. For this reason, please read this entire user manual and all other accompanying documents carefully before using the appliance and keep it as a reference for future use. If you handover the appliance to someone else, give the user manual as well. Follow the instructions by paying attention to all the information and warnings in the user manual.
Remember that this user manual may also apply to other models. Differences between models are explicitly described in the manual.
Meanings of the Symbols
Following symbols are used in various sections of this user manual:
| Important information and useful hints about usage. | |
| WARNING: Warnings against dangerous situations concerning the security of life and property. | |
| WARNING: Warning for danger of fire. | |
| WARNING: Warning for electric shock. |
![]()
This appliance has been produced in environmentally friendly facilities without harming the nature.
Important safety and environmental instructions
General safety
Important Safety Instructions ReadCarefully And Keep For FutureReference This section contains safety instructions that will help protect from risk of fire, electric shock, exposure to leak microwave energy, personal injury, or property damage. Failure to followthese instructions shall void any warranty.
- Grundig products comply with the applicable safety standards; therefore, in case of any damage on the appliance or power cable, it should be repaired or replaced by the dealer, service center, or a specialist and authorized service alike to avoid any danger. Faulty or unqualified repair work may be dangerous and cause risk to the user.
- This appliance is intended to be used in household and similar applications such as:
- Staff kitchen areas in shops, offices, and other working environments;
- Farm houses
- By clients in hotels, and other residential type environments;
- Bed and Breakfast type environments.
- Operate the appliance for its intended purpose only as described in this manual.
- The manufacturer cannot be held liable for damages resulting from improper installation or misuse of the product.
- This appliance can be used by children aged from 8 years and above and persons with reduced physical, sensory or mental capabilities or lack of experience and knowledge if they have been given supervision or instruction concerning use of the appliance in a safe way and understand the hazards involved.
- Children shall not be allowed play with the appliance. Cleaning and user maintenance shall not be made by children without supervision.
- The minimum distance between the supporting surface for the cooking vessels on the hob and the lowest part of your product must be at least 65 cm.
- If the instructions for installation for the gas hob specify a greater distance, this has to be taken into account.
- Make sure that your mains power supply complies with the information supplied on the rating plate of the appliance.
- Never use the appliance if the power cable or the appliance itself is damaged.
- Prevent damage to the power cable by not squeezing, bending, or rubbing it on sharp edges. Keep the power cable away from hot surfaces and naked flame.
- Use the appliance with a grounded outlet only.
WARNING: Do not connect the appliance to the mains until the installation is fully complete. - Place the appliance in a way so that the plug is always accessible.
- Do not touch the lamps if they have operated for a long time. They can burn your hands since they will be hot.
- Follow the regulations set out by competent authorities on discharge of the exhaust air (this warning is not applicable for use without flue).
- Operate your appliance after putting a pot, pan, etc. on the hob. Otherwise, high heat may cause deformation in some parts of your product.
- Turn off the hob before taking the pot, pan, etc. from it.
- Do not leave hot oil on the hob. Pans with hot oil may cause self-combustion.
- Pay attention to your curtains and covers since oil may catch fire while cooking food such as fries.
- Grease filter must be cleaned at least monthly. Carbon filter must be replaced at least every 3 months.
- Product shall be cleaned accordance with user manual. If cleaning was not carried out inaccordance with user manual, there may be fire risk.
- Do not use non-fire-resistant filtering materials instead of thecurrent filter.
- Only use the original parts orparts recommended by the manufacturer.
- Do not operate the product without the filter and do not remove the filters while the product is running.
- In the event of be started any flame, de-energize your product and cooking appliances.
- In the event of be started any flame, cover the flame and never use water to extinguish.
- Unplug the appliance before each cleaning and when the appliance is not in use.
- The negative pressure in the environment should not exceed 4 Pa(4×10 bar) while the hood for electric hob and appliances running on another type of energy but electricity operate simultaneously.
- In the environment where the appliance is being used, the exhaust of devices running on fuel oil or gas, such as room heater must be absolutely isolated or device must be hermetical type.
- When connecting the flue, use pipes with a diameter of 120 or 150 mm. Pipe connection must be as short as possible and have as few elbows as possible.
- Danger of choking! Keep all the packaging materials away from children.
CAUTION: Accessible parts may become hot when used with cook- ing appliances. - The product outlet must not be connected to air channels that include other smoke.
- The ventilation in the room may be insufficient when the hood for electric hob is used simultaneously with the devices operating on gas or other fuels (this may not apply to appliances that only discharge the air back into the room).
- Objects placed on the product may fall. Do not place any objects on the product.
- Do not flambe under the your product.
WARNING: Before installing the Hood, remove the protective films. - Never leave high naked flames under the hood when it is in operation
- Deep fat fryers must be continuously monitored during use: overheated oil can burst into flames.
Compliance with the WEEE Directive and Disposing of the Waste Product:
This product complies with EU WEEE Directive (2012/19/EU). This product bears a classification symbol for waste electrical and electronic equipment (WEEE).
This symbol indicates that this product shall not be disposed with other household wastes at the end of its service life. Used device must be returned to official collection point for the recycling of electrical and electronic devices. To find these collection systems please contact to your local authorities or the retailer where the product was purchased. Each household performs an important role in recovering and recycling of old appliances. Appropriate disposal of used appliances helps prevent potential negative consequences for the environment and human health.
Compliance with RoHS Directive
The product you have purchased complies with EU RoHS Directive (2011/65/EU). It does not contain harmful and prohibited materials specified in the Directive.
Package Information
Packaging materials of the product are manufactured from recyclable materials in accordance with our National Environment Regulations. Do not dispose of the packaging materials together with the domestic or other wastes. Take them to the packaging material collection points designated by the local authorities.
General Appearance
Overview

| 1. Body 2. Control panel | 3. Grease filter 4. Lighting |

Technical data
| Model | GDT2561X | GDT2562X |
| Supply Voltage and Frequency | 220 – 240V~50Hz | |
| Lamp power | 2×3 W | |
| Motor power | 210 W | |
| Flow rate — 2.Level | 455 m3/h | |
| Insulation Class | CLASS I | |
Operation of the appliance
Controlling the appliance

| A | Press this button to turn on the appliance, the product will operate at speed level 1, when this button is pressed. |
| B | The product will operate at speed level 2, when this button is pressed. |
| C | By exploring the display, you may follow which speed the product operates at on it. |
| D | The product will operate at booster level, when this button is pressed. |
| E | Press this button to switch the lamp on and off. |
By pressing and holding any engine operating button for more than 2 seconds, a 15 minutes timer func- tion will be initiated. A signal will be displayed as soon as the chronometer starts, and the engine will automatically stop after 15 minutes.
Energy efficient usage
- When using your appliance, adjust the speed settings according to vapour and odour intensity, in order to save energy.
- Use low speeds (1, 2) under normal conditions, and booster level (
) for intense odour and vapour. - The lamps on the hood are placed for illuminating the cooking area.
- Using them for environmental lighting shall cause unnecessary energy expenditure and insufficient lighting.
Operation of the hood
- Your appliance contains a motor that has various speeds.
- For better performance, we recommend using low speeds under normal conditions and high speeds in cases of strong odours and intense vapour.
- You can start your appliance by pressing on the desired speed setting button. (A, B, D)
- You can illuminate the cooking area by pressing the lamp (E).
Cleaning time for the metal filter
Filters must be cleaned when the signal “c” is displayed on the screen or (depending on the use) after 3 or 4 weeks. In order to clear the “c” signal, after the filters have been cleaned and replaced, press and hold the button (A) for more than 3 seconds (when the device is turned off). the letter “e” will appear on the screen, and the appliance will operate normally. if operations are necessary be- fore clearing the letter “c”, then the active engine speed will appear for 1 second when you press the (A) button and then the engine will resume functioning.
The “c” symbol will be displayed after 60 hours of functioning.
Replacement of lamp

Make the electrical connections of the appliance.
Your appliance uses 3W spot LED lamp. For replacing the lamps, push downwards on the holder from its behind, turn it counter-clockwise, and take it out downwards. Apply the above operation in reverse to install new lamps.
| Bulb | |
| Bulb power | 3 W |
| Holder/Socket | GZ 10 |
| Bulb voltage | 220 – 240 V |
| Size | 53 x 50 mm |
| ILCOS code | DR/F-3-220-240GZ10-50-53 |
| Luminous flux | 250 lm |
| Correlated colour temperature | 3000 K |
This product contains a light source of energy efficiency class “F”.
Operation with chimney connection
Vapour is extracted through the flue duct, which is fastened to the connection head on the hood.- The diameter of the flue duct must be the same as the connection ring. In horizontal settings, the pipe has to have a slight upward slope (around 10º) so that the air can exit the room easily.
Operation without chimney connection
Air is filtered through the carbon filter and recirculated in the room. Carbon filter is used when it is impossible to use a flue in the house.- In flueless use, remove the flaps inside the flue adapter.
- Remove the aluminum grease filter. To install the carbon filter, fit the filter to the tabs by centring it on the plastic piece on both sides of the fan body. tighten it by turning right or left.
- Replace aluminum grease filter.
Cleaing and maintenance
Before cleaning and maintenance, unplug the product or turn off the switch.
Cleaning of the grease filter
Grease filter retains the oil particles in the air.
Grease filters may change colour after repeated cleaning. This is normal and does not require replacement of filters.

- External grease filter
- Internal grease Filter
• Pull the sliding plate out by holding the front panel. Remove the external grease filter first, and then the internal grease filter.
• Push the grease filter lock forward.
• Then lower it slightly down and pull it out. Otherwise, you can bend the filter. Wash and rinse grease filters with liquid detergent and replace grease filters to their sockets by by carrying out the steps specified above in reverse order. This filter retain the oil particles in the air.
You may wash your grease filters in the dishwasher.
CAUTION: In case of normal use, clean your filter once in a month.
Replacement of carbon filters
Odour removing filters contain charcoal (Active carbon). Grease filters must be installed in the product, regardless of whether or not carbon filters are used.

- Remove the grease filter.
- To remove the carbon filter, remove the carbon filter from its housing by rotating it counter-clockwise from the tab.
- Install the new carbon filter.
- Install the grease filter.
CAUTION
- Carbon filter shall never be washed.
- Replace carbon filters once every 3 months.
- You can obtain the carbon filter from the authorized services.
WARNING: Before starting the in- stallation, read the safety information on User Manual.
WARNING: Failure to install with screws and stabilizers in accordance with these instructions may result in electric shock.
For the installation of the hood, please contact the nearest Authorized Service.
It is the customer’s responsibility to prepare the location and electrical installation of the hood.
Position of the appliance

- Distance between the cooker and the cooker hood must be considered prior to assembly. This distance should be 65 cm.
- Distance must be measured from the surface of grate for gas cookers,
- From surface of glass for electric cookers.
Drilling the hanging holes
Paste the installation template provided with the product on the surface where the product is to be installed.
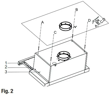
Drill holes with the diameter of 04 mm on the points marked A, B, C, D on the arrangement scheme (Fig. 1).
Tighten the exhaust vent of the specified tube in the installation template to the given dimensions

The dimensions provided in the images are for representation purpose. Carefully Follow the installation template offered to you with the purchased product.
The equipment will be installed on the housing in points A, B, C, D using the 4 x 40 screws supplied with the equipment. Do not rub the front panel against the housing case when the sliding set is moving (Fig. 2).

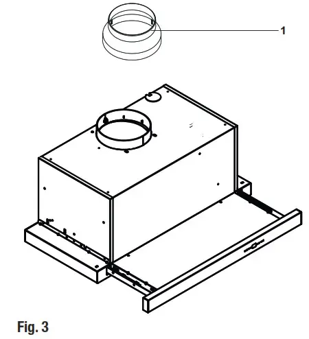
If necessary, insert the 0150/120 mm tube adapt-er at the tube outlet (Fig. 3).

The 0150/120mm exhaust tube adapter is sold optionally. Contact your dealer in order to purchase it.
Perform the connection for the air exhaust for this product.
Installing and unpacking the appliance
- check whether the appliance presents faults.
- Any faults caused by transport should be immediately reported to the courier service.
- Visible faults must also be communicated to the seller.
- Do not allow children to play with the packaging material!!!
Storage
- If you do not intend to use the appliance for a long time, please store it carefully.
- Please make sure that the appliance is unplugged, cooled down, and totally dry.
- Store the appliance in a cool and dry place.
- Keep the appliance out of the reach of children
Handling and transportation
- During handling and transportation, carry the appliance in its original packaging. The packaging of the appliance protects it against physical damage.
- Do not place heavy loads on the appliance or the packaging. The appliance may be damaged.
- Dropping the appliance will render it non-operational or cause permanent damage.
Troubleshooting
| Troubleshooting | Root Cause | Help |
| The appliance is not working. | Check your fuses. | The fuse may be blown, inspect and restore it. |
| The appliance is not working. | Check the electrical connection. | The mains voltage shall be between 220 and 240 V. |
| The appliance is not working. | Check the electrical connection. | Check if another appliance in your kitchen operates. |
| The illumination light does not operate. | Check the electrical connection. | The mains voltage shall be between 220 and 240 V. |
| The illumination light does not operate. | Inspect the lamp switch. | Lamp switch shall be at “on” position. |
| The illumination light does not operate. | Inspect the lamps. | The lamps of the appliance shall illuminate. |
| Air inlet of the appliance is inadequate. | Inspect the grease filter. | Under normal operating conditions, grease filter shall be cleaned at least once in a month. |
| Air inlet of the appliance is inadequate. | Check the air discharge flue. | The air discharge flue shall be at “on” position. |
| Air inlet of the appliance is inadequate. | Inspect the carbon filter. | The filters of the appliances with carbon filters shall be replaced once in every 3 months under normal conditions. |
Beko Grundig Deutschland GmbH
Thomas-Edison-Platz 3 63263 Neu-Isenburg
www.grundig.com



















