Elite 35 Grix 90 X Cooker Hoods
Product Information
The product is a kitchen hood for ventilation purposes. It can be used with gas or other fuel-burning appliances. The product has two versions, aspirating and filtering. It comes with a control panel with buttons for turning on/off the light and setting the timer for delayed shutdown.
Warnings
It is important to ensure proper ventilation when using the product with other fuel-burning appliances. The hood and filters must be cleaned monthly to prevent fire hazards. Do not use any other type of light bulb except the one indicated in the maintenance section of the manual. Do not fry food unattended, as overheated oil can cause fires. The hood and filters may become hot when used with a stovetop. Follow appropriate regulations for disposal of the product.
Installation
The aspirating version requires a duct for fumes to be connected to the hood, while the filtering version does not. The product must be installed in a cabinet or other supportive structure. Electrical wiring must be done by a licensed professional.
Usage
- Turn on/off the light using button 1 on the control panel.
- Set the timer for delayed shutdown using button 2 on the control panel.
- The filter has a grease saturation indicator (L3) that blinks alternately with the charcoal saturation indicator (L4) when it needs to be cleaned or replaced.
- Clean the filter using only a damp cloth with neutral liquid detergent. Do not use any tools or cleaning products containing abrasives or alcohol.
- Replace the bulbs with assistance from technical service.
Follow appropriate regulations for disposal of the product.
Instruction on mounting and use
Closely follow the instructions set out in this manual. All responsibility, for any eventual inconveniences, damages or fires caused by not complying with the instructions in this manual, is declined. This appliance is intended to be used in household and similar application such as: – staff kitchen areas in shop, offices and other working environments; – farm houses; – by clients in hotels, motels and other residential type environments; – bed and breakfast type environments.
- It is important to conserve this booklet for consultation at any moment. In the case of sale, cession or move, make sure it is together with the product.
- Read the instructions carefully: there is important information about installation, use and safety.
- Do not carry out electrical or mechanical variations on the product or on the discharge conduits.
- Before proceeding with the installation of the appliance verify that there are no damaged all components. Otherwise contact your dealer and do not proceed with the installation.
Note: The parts marked with the symbol “(*)” are optional accessories supplied only with some models or otherwise not supplied, but available for purchase.
Caution
- Before any cleaning or maintenance operation, disconnect hood from the mains by removing the plug or disconnecting the mains electrical supply.
- Always wear work gloves for all installation and maintenance operations.
- This appliance can be used by children aged from 8 years and above and persons with reduced physical, sensory or mental capabilities or lack of experience and knowledge if they have been given supervision or instruction concerning use of the appliance in a safe way and understand the hazards involved.
- Children shall not be allowed to tamper with the controls or play with the appliance.
- Cleaning and user maintenance shall not be made by children without supervision.
- The premises where the appliance is installed must be sufficiently ventilated, when the kitchen hood is used together with other gas combustion devices or other fuels.
- The hood must be regularly cleaned on both the inside and outside (AT LEAST ONCE A MONTH).
- This must be completed in accordance with the maintenance instructions provided. Failure to follow the instructions provided regarding the cleaning of the hood and filters will lead to the risk of fires.
- Do not flambé under the range hood.
- For lamp replacement use only lamp type indicated in the Maintenance/Replacing lamps section of this manual.
- The use of exposed flames is detrimental to the filters and may cause a fire risk, and must therefore be avoided in all circumstances.
- Any frying must be done with care in order to make sure that the oil does not overheat and ignite.
- CAUTION: Accessible parts of the hood may become hot when used with cooking appliances.
- Do not connect the appliance to the mains until the installation is fully complete.
- With regards to the technical and safety measures to be adopted for fume discharging it is important to closely follow the regulations provided by the local authorities.
- The air must not be discharged into a flue that is used for exhausting fumes from appliance burning gas or other fuels.
- Do not use or leave the hood without the lamp correctly mounted due to the possible risk of electric shocks.
- Never use the hood without effectively mounted grids.
- The hood must NEVER be used as a support surface unless specifically indicated.
- Use only the fixing screws supplied with the product for installation or, if not supplied, purchase the correct screws type.
- Use the correct length for the screws which are identified in the Installation Guide.
- In case of doubt, consult an authorized service assistance center or similar qualified person.

WARNING!
- Failure to install the screws or fixing device in accordance with these instructions may result in electrical hazards.
- Do not use with a programmer, timer, separate remote control system or any other device that switches on automatically.
- This appliance is marked according to the European directive 2012/19/EC on Waste Electrical and Electronic Equipment (WEEE).
- By ensuring this product is disposed of correctly, you will help prevent potential negative consequences for the environment and human health, which could otherwise be caused by inappropriate waste handling of this product.
- The symbol on the product, or on the documents accompanying the product, indicates that this appliance may not be treated as household waste. Instead it should be taken to the appropriate collection point for the recycling of electrical and electronic equipment. Disposal must be carried out in accordance with local environmental regulations for waste disposal.
- For further detailed information regarding the process, collection and recycling of this product, please contact the appropriate department of your local authorities or the local department for household waste or the shop where you purchased this product.
Appliance designed, tested and manufactured according to:
- Safety: EN/IEC 60335-1; EN/IEC 60335-2-31, EN/IEC 62233.
- Performance: EN/IEC 61591; ISO 5167-1; ISO 5167-3; ISO 5168; EN/IEC 60704-1; EN/IEC 60704-2-13; EN/IEC 60704-3; ISO 3741; EN 50564; IEC 62301.
- EMC: EN 55014-1; CISPR 14-1; EN 55014-2; CISPR 14-2; EN/IEC 61000-3-2; EN/IEC 61000-3-3. Suggestions for a correct use in order to reduce the environmental impact: Switch ON the hood at minimum speed when you start cooking and kept it running for few minutes after cooking is finished. Increase the speed only in case of large amount of smoke and vapor and use boost speed(s) only in extreme situations. Replace the charcoal filter(s) when necessary to maintain a good odor reduction efficiency. Clean the grease filter(s) when necessary to maintain a good grease filter efficiency. Use the maximum diameter of the ducting system indicated in this manual to optimize efficiency and minimize noise.

Use
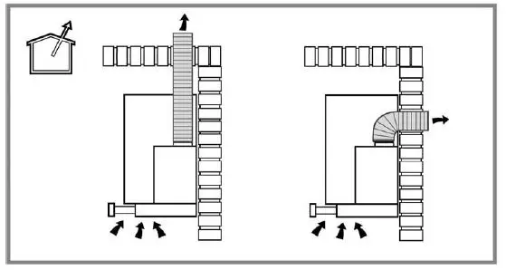
The hood is designed to be used either for exhausting or filter version.
Extraction version
In this case the fumes are conveyed outside of the building by means of a special pipe connected with the connection ring located on top of the hood.
CAUTION!
The exhausting pipe is not supplied and must be purchased apart. Diameter of the exhausting pipe must be equal to that of the connection ring.
CAUTION!
- If the hood is supplied with active charcoal filter, then it must be removed.Connect the hood and discharge holes on the walls with a diameter equivalent to the air outlet (connection flange).
- ! Use a duct of the minimum indispensable length.
- ! Use a duct with as few elbows as possible (maximum elbow angle: 90°).
- ! Avoid drastic changes in the duct cross-section.
Attention! If the hood is supplied with carbon filter, then it must be removed.
Filtration version
The aspirated air will be degreased and deodorised before being fed back into the room. In order to use the hood in this version, you have to install a system of additional filtering based on activated charcoal. Attention! If the hood is not supplied with carbon filter, then it must be ordered and mounted.

Installation
The minimum distance between the supporting surface for the cooking equipment on the hob and the lowest part of the range hood must be not less than 43cm from electric cookers and 65cm from gas or mixed cookers. If the instructions for installation for the gas hob specify a greater distance, this must be adhered to.
Electrical connection
The mains power supply must correspond to the rating indicated on the plate situated inside the hood. If provided with a plug connect the hood to a socket in compliance with current regulations and positioned in an accessible area, after installation. If it not fitted with a plug (direct mains connection) or if the plug is not located in an accessible area, after installation, apply a double pole switch in accordance with standards which assures the complete disconnection of the mains under conditions relating to over-current category III, in accordance with installation instructions.
WARNING!
Before re-connecting the hood circuit to the mains supply and checking the efficient function, always check that the mains cable is correctly assembled. The hood is provided with a special power cable ; if the cable is damaged, request a new one from Technical Service.
Mounting
Before beginning installation:
- Check that the product purchased is of a suitable size for the chosen installation area.
- Remove the charcoal (*) filter/s if supplied (see also relative paragraph). This/these is/are to be mounted only if you want lo use the hood in the filtering version.
- Check (for transport reasons) that there is no other supplied material inside the hood (e.g. packets with screws (*), guarantees (*), etc.), eventually removing them and keeping them.
This hood is designed for fitting in a cabinet or on some other support.
Operation
The hood is fitted with a control panel with aspiration speed selection control and a light switch to control cooking area lights.
Control Panel
- Button ON/OFF light
- Button ON/OFF Timer: delayed switch-off of the selected suction speed (power):
- Suction speed (power) 1: 20 minutes
- Suction speed (power) 2: 15 minutes
- Suction speed (power) 3: 10 minutes
- Intensive suction speed (power): 5 minutes

- Button OFF / Decrease of suction speed (power)
- Button ON / Increase of suction speed (power)
- Display, showing:
- Suction speed (power): LEDs L1 – L2 – L3 – L4 (flashing) light up according to the selected suction speed (power).
Note: the L4 LED – intensive suction speed (power) works for about 5 minutes, then the hood sets the intermediate speed. - Timer: t he LED of the selected speed flashes to indicate that the timer is active.
- Grease filter saturation: the L3 and L4 LEDs flash alternately at short intervals of time.
Activated charcoal filter saturation: the L3 and L4 LEDs flash simultaneously at short intervals of time.
- Suction speed (power): LEDs L1 – L2 – L3 – L4 (flashing) light up according to the selected suction speed (power).
Reset of the filter saturation indicator: perform filter maintenance, then press button 2 until the LEDs turn off.
Note: The activated charcoal filter saturation is normally disabled and is enabled only if the hood is used in the filtering version (with charcoal filter installed).
In order to activate it, proceed as follows:
- Switch off the hood
- Keep pressed simultaneously buttons 3 and 4, until the LEDs L1 and L2 flash briefly.
Repeat the operation to disable; only LED L1 flashes briefly.
Maintenance
Cleaning
Clean using ONLY the cloth dampened with neutral liquid detergent. DO NOT CLEAN WITH TOOLS OR INSTRUMENTS. Do not use abrasive products. DO NOT USE ALCOHOL!
Grease filter
Fig. 3-12
Traps cooking grease particles.
The grease filter must be cleaned once a month using non aggressive detergents, either by hand or in the dishwasher, which must be set to a low temperature and a short cycle. When washed in a dishwasher, the grease filter may discolor slightly, but this does not affect its filtering capacity. To remove the grease filter, pull the spring release handle.
Charcoal filter (filter version only)
It absorbs unpleasant odors caused by cooking.
The saturation of the charcoal filter occurs after more or less prolonged use, depending on the type of cooking and the regularity of cleaning of the grease filter. In any case it is necessary to replace the cartridge at least every four months. The charcoal filter may NOT be washed or regenerated. Fig. 12
Replacing lamps
The hood is equipped with a lighting system based on LED technology. The LEDs guarantee an optimum lighting, a duration up to 10 times as long as the traditional lamps and allow to save 90% electrical energy. For replacement, contact the technical service.





















