GRUNDIG GDS 2460 B Cooker Hood
Please read this user manual first!
Dear Valued Customer,
Thank you for preferring this Grundig appliance. We hope that you get the best results from your appliance which has been manufactured with high quality and state-of-the-art technology. For this reason, please read this entire user manual and all other accompanying documents carefully before using the appliance and keep it as a reference for future use. If you handover the appliance to someone else, give the user manual as well. Follow the instructions by paying attention to all the information and warnings in the user manual.
Remember that this user manual may also apply to other models. Differences between models are explicitly described in the manual.
Meanings of the Symbols
Following symbols are used in various sections of this user manual:
- Important information and useful hints about usage
- WARNING: Warnings against dangerous situa-tions concerning the security of life and property..
- WARNING: Warning for danger of fire.
- WARNING: Warning for electric shock.
Important safety and environmental instructions
General safety
Important Safety Instructions Read Carefully And Keep For Future Reference This section contains safety instructions that will help protect from risk of fire, electric shock, exposure to leak micro-wave energy, personal injury or property damage. Failure to follow these instructions shall void any warranty.
- Grundig products comply with the applicable safety standards; therefore, in case of any damage on the appliance or power cable, it should be repaired or replaced by the dealer, service center or a specialist and authorized service alike to avoid any danger. Faulty or unqualified repair work may be dangerous and cause risk to the user.
- This appliance is intended to be used in household and similar applications such as:
- Staff kitchen areas in shops, offices and other working en-vironments;
- Farm houses
- By clients in hotels, and other residential type environments;
- Bed and Breakfast type envi-ronments.
- Operate the appliance for its intended purpose only as de-scribed in this manual.
- The manufacturer cannot be held liable for damages resulting from improper installation or misuse of the product.
- This appliance can be used by children aged from 8 years and above and persons with reduced physical, sensory or mental ca-pabilities or lack of experience and knowledge if they have been given supervision or instruction concerning use of the appliance in a safe way and understand the hazards involved.
- Children shall not be allowed play with the appliance. Cleaning and user maintenance shall not be made by children without su-pervision.
- The minimum distance between the supporting surface for the cooking vessels on the hob and the lowest part of your product must be at least 65 cm.
- If the instructions for installation for the gas hob specify a greater distance, this has to be taken into account.
- Make sure that your mains power supply complies with the information supplied on the rat-ing plate of the appliance.
- Never use the appliance if the power cable or the appliance it-self is damaged.
- Prevent damage to the power cable by not squeezing, bending, or rubbing it on sharp edges. Keep the power cable away from hot surfaces and naked flame.
- Use the appliance with a grounded outlet only.
- Do not touch the lamps if they have operated for a long time. They can burn your hands since they will be hot.
- Follow the regulations set out by competent authorities on dis-charge of the exhaust air (this warning is not applicable for use without flue).
- Operate your appliance after put-ting a pot, pan etc. on the hob. Otherwise, high heat may cause deformation in some parts of your product.
- Turn off the hob before taking the pot, pan etc. from it.
- Do not leave hot oil on the hob. Pans with hot oil may cause self combustion.
- Pay attention to your curtains and covers since oil may catch fire while cooking food such as fries.
- Grease filter must be cleaned at least monthly. Carbon filter must be replaced at least every 3 months.
- Product shall be cleaned ac-cordance with user manual. If cleaning was not carried out in accordance with user manual, there may be fire risk.
- Do not use non-fire-resistant filtering materials instead of the current filter.
- Only use the original parts or parts recommended by the man-ufacturer.
- Do not operate the product with-out the filter and do not remove the filters while the product is running.
- In the event of be started any flame, de-energize your product and cooking appliances.
- In the event of be started any flame, cover the flame and never use water to extinguish.
- Unplug the appliance before each cleaning and when the ap-pliance is not in use.
- The negative pressure in the envi-ronment should not exceed 4 Pa (4×10 bar) while the hood for elec-tric hob and appliances running on another type of energy but electric-ity operate simultaneously.
- In the environment where the appliance is being used, the ex-haust of devices running on fuel oil or gas, such as room heater must be absolutely isolated or device must be hermetical type.
- When connecting the flue, use pipes with a diameter of 120 or 150 mm. Pipe connection must be as short as possible and have as few elbows as possible.
- Danger of choking! Keep all the packaging materials away from children.\
CAUTION: Accessible parts may become hot when used with cook-ing appliances.
- The product outlet must not be connected to air channels that include other smoke.
- The ventilation in the room may be insufficient when the hood for electric hob is used simultane-ously with the devices operating on gas or other fuels (this may not apply to appliances that only discharge the air back into the room).
- Objects placed on the product may fall. Do not place any ob-jects on the product.
- Do not flambe under the your product.
WARNING: Before installing the Hood, remove the protective films.
- Never leave high naked flames under the hood when it is in op-eration
- Deep fat fryers must be contin-uously monitored during use: overheated oil can burst into flames.
Compliance with the WEEE Directive and Disposing of the Waste Product:
This product complies with EU WEEE Directive (2012/19/EU). This product bears a classification symbol for waste electrical and electronic equip-ment (WEEE).
This symbol indicates that this product shall not be disposed with other household wastes at the end of its ser-vice life. Used device must be returned to offical collection point for recycling of electrical and electronic devices. To find these collection systems please contact to your local au-thorities or retailer where the product was pu-chased. Each household performs important role in recovering and recycling of old appliance. Appropriate disposal of used appliance helps pre-vent potential negative consequences for the envi-ronment and human health.
Compliance with RoHS Directive
The product you have purchased complies with EU RoHS Directive (2011/65/EU). It does not contain harmful and prohibited materials specified in the Directive.
Package Information
Packaging materials of the product are manufactured from recyclable materials in accordance with our National Environment Regulations. Do not dis-pose of the packaging materials together with the domestic or other wastes. Take them to the pack-aging material collection points designated by the local authorities.
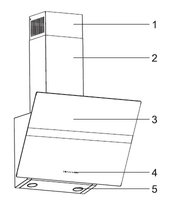
General appearance
Overview


- Inner chimney
- Outer chimney
- Grease filter (Behind glass cover)
- Control panel
- Lighting
Technical Data
| Model | GDS 2460 B GDS 5460 B |
| Supply voltage & Frequency | 220-240V ~ 50 Hz |
| Lamp Power | 2 x 3 W |
| Motor Power | 210 W |
| Flow rate – 3. Level | 632 m³/h |
| Insulation Class of Motor | Class F |
| Insulation Class | Class I |
Operation of the appliance
Controlling the Appliance
|
A B C D | |
| A : 1st Stage Button | Operates the appliance on 1st speed. When you press this button again to turn off the appliance, the screen and speed stage turn off. |
| B : 2nd Stage Button | Operates the appliance on 2nd speed. When you press this button again to turn off the appliance, the screen and speed stage turn off. |
| C : 3rd Stage Button | Operates the appliance on 3rd speed. When you press this button again to turn off the appliance, the screen and speed stage turn off. |
| D : Lamp On / Off | You can illuminate the cooking area by pressing this button. To turn the lights off, you can press the button again. |
Energy-efficient usage
- When using your appliance, adjust the speed settings according to vapour and odour intensity, in order to save energy.
- Use low speeds (1-2) under normal conditions, and high speed (3) for intense odour and vapour.
- The lamps on the hood are placed for illuminat-ing the cooking area.
- Using them for environmental lighting shall cause unnecessary energy expenditure and in-sufficient lighting.
Operating the hood
- Your appliance contains a motor that has various speeds.
- For better performance, we recommend using low speeds under normal conditions and high speeds in cases of strong odours and intense vapor.
- You can start your appliance by pressing on the desired speed setting button. (A, B, C).
- You may illuminate the cooking area by pressing the lamp (D).
Automatic stop
Your appliance has Automatic Stop feature, ena-bling it to ventilate for a bit more and remove the unwanted odours and vapour inside the environ-ment and turn off automatically after the cooking is done. To enable Automatic Stop feature, press the any speed stage button (A, B, C) on the control panel for longer than 2 seconds; the 15-minute timer function shall be activated. When the au-tomatic stop feature is active, pressing the same speed button shall disable the automatic stop function and the appliance’s motor shall stop. This feature is disables when you switch between dif-ferent speed stages. If you want the appliance to stop automatically, you need to enable the auto-matic stop feature again.
Replacement of Lamp
| Bulb | |
| Bulb Power | 3 W |
| Holder / Socket | GZ 10 |
| Bulb Voltage | 220 – 240 V |
| Size | 53 x 50 mm |
| ILCOS Code | DR/F3-220-240-GZ10-50-53 |
| Luminous flux | 250 lm |
| Correlated colour temperature | 3000 K |
Make the electrical connections of the appli-ance. Your appliance uses 3W spot LED lamp. For replacing the lamps, push downwards on the holder from its behind, turn it coun-ter-clockwise, and take it out downwards.
Operation of the appliance
This product contains a light source of energy ef-ficiency class “F”.
Operation with chimney connection
- Vapour is extracted through the flue duct, which is fastened to the connection head on the hood.
- The diameter of the flue duct must be the same as the connection ring. In horizontal settings, the pipe has to have a slight upward slope (around 10º) so that the air can exit the room easily.
Operation without chimney connection
- Air is filtered through the carbon filter and recirculated in the room. Carbon filter is used when it is impossible to use a flue in the house.
- In flueless use, remove the flaps inside the flue adapter.
- Remove the Grease filter. To install the carbon filter, fit the filter to the tabs by centring it on the plastic piece on both sides of the fan body. tighten it by turning right or left.
- Replace Grease filter.
Cleaning and maintenance
Before cleaning and maintenance, unplug the product or turn off the switch.
Cleaning of the grease filter
This filter retains the oil particles in the air. Grease filter may change colour as they are washed; this is normal and does not require replacing your grease filter.
- Push the Grease filter lock forward.
- Then pull it slightly down and pull it out. Oth-erwise, you can bend the filter. Wash and rinse Grease filter with liquid detergent and replace grease filter to their sockets by by carrying out the steps specified above in reverse order. This filter retains the oil particles in the air.
- You may wash your grease filter in the dishwasher.
- CAUTION: In case of normal use, clean your filter once in a month.
Replacement of Carbon Filters
Odour-removing filters contain charcoal (Active car-bon). Grease filter must be installed in the product, regardless of whether or not carbon filters are used.
- Remove the grease filter.
- To remove the carbon filter, remove the car-bon filter from its housing by rotating it coun-ter-clockwise from the tab.
- Install the new carbon filter.
- Install the grease filter.
CAUTION
- The carbon filter shall never be washed.
- Replace carbon filters once every 3 months.
- You can obtain the carbon filter from the authorized services.
Installation of the appliance
WARNING: Before starting the in-stallation, read the safety informa-tion on user manual.
WARNING: Failure to install with screws and stabilizers in accordance with these instructions may result in electric shock.
For the installation of the hood, please contact the nearest Authorized Service.
It is the customer’s responsibility to prepare the location and electrical installation of the hood.
Position of the appliance
- Distance between the cooker and the cooker hood must be considered prior to assembly. This distance should be 65 cm (Figure 1).
- Distance must be measured from the surface of grate for gas cookers,
- from the surface of glass for electric cookers.
Installation accessories
- Product
- Outer chimney
- Inner chimney
- Flue Connection Plate
- Ø150/120mm Plastic Flue Adapter
- User Manual
- Assembly Pattern
- Ø8 mm Plastic Dowel
- Ø6 mm Plastic Dowel
- 4,8 x 50 Screws
- 3,9 x 22 Screws
- 3,5 x 9.5 Screws
- Plastic Flue Adapter
- Air Baffle
The information necessary to make the location suitable for the appliance installation is given be-low.
Wall mounting
- Wall must be flat, straight and have the suffi-cient bearing capacity.
- Depth of drilling holes must comply with the length of bolts.
- The bolts and dowels provided are suitable for brick walls. For other construction material (e.g. drywall, plate, porous concrete), suitable fixing dowels and nuts shall be used.
CAUTION: Before drilling, ensure that there are no power, gas or wa-ter pipes in the close proximity of the drilling locations.
Draw a mid location line from the ceiling perpen-dicular to the lower edge of the hood .
Paste the installing template provided within the accessories on the surface where the hood is to be mounted. In doing this operation, observe the mounting height of the hood (Figure 2).
There is a tab in the middle of the flue connection plate. Place the middle point of this tab on the line that is drawn perpendicular to the wall. In doing this operation, adjust the hood according to the maximum height (Figure 2). Mark the holes wherethe flue connection plate will be mounted with the help of a pen (Figure 2/a).
Drill the marked points with Ø6mm drill and insert 2 plastic dowels in the drilled holes (Figure 2/a).
Fix the flue connection plate to the wall with 3,9×22 screws (Figure 2/a).
To assemble the hood body, you can use the A, B, C, D Ø8 mm drill on the assembly template, and insert 4.8x50mm plastic dowels at these points. (Figure 2/b).
2 piece 4.8×50 suspension screw with a clearance of 5 mm between the screw head and the wall (Figure 2/b).
- Hanger Plate
- Hanging Plate Connection Screw
In order to install your hood to the wall, loosen the screws on the hanger plates mounted on the mo-tor cabin and pull them up, and then fasten again (Figure 3/A). - Turn on the suction glass of the hood and remove the aluminum oil filter.
Installation of the appliance
(Figure 4)
Hold the cooker hood by its body and place it on the suspension screws on the wall and tighten the screws (Figure 4).
Fix the cooker hood with 4.8×50 screws through the mounting hole on the interior of the appliance (Figure 4).
Connecting to flue
If you are going to use the Ø 120/150 mm plastic flue adapter, connect one end of the pipe to this adapter, if you are not going to use it, to the direct output on the product. Connect the other end of the pipe to your flue. Check that these two con-nections are tight enough so they will not come out when the appliance runs on full power. Ensure that the flaps inside the flue work when tightened with clamp. Connect the flue connection duct outside the adapter. If the connection duct is fitted inside the adapter, the covers that prevent air return shall remain closed and air won’t be sucked in. The length of the pipe connection as well as the num-ber of elbows must be as minimum as possible.
- Flue exit pipe
- Non return flaps
- Plastic Flue
The covers are closed then the appliance is not operating and prevent possible outside odour and dust from entering inside.
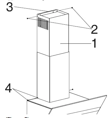
Mounting the flue
Make the electrical connection of your product be-fore starting flue installation. Insert the flue plates Around the body. Screw the Outer chimney to the Outer chimney fastening plates which are on the motor cabin (Figure 5). Extend the Inner chimney to the flue fastening plate fixed to the wall from its upper outer edge, and screw.
- Inner chimney
- Inner chimney Connection Screws
- Flue Connection Plate
- Outer chimney Connection Screws
Installation of air baffle
While using with the carbon filter, air baffle is pro-vided with your appliance with the aim of re-re-leasing the air which is cleaned with carbon filter from the perforated located on the flue. Assemble the air baffle as follows.
(Figure 6)
There is a tab in the middle of the flue connection plate. Place the middle point of this tab on the line that is drawn perpendicular to the wall. Align hori-zontally and mark the holes where the connection plate will be mounted via a pen (Figure 6/A, B).
Drill the marked points with Ø6mm drill and insert 2 plastic dowels in the drilled holes
Fix the flue connection plate to the wall with 3.9×22 screws (Figure 6/A, B).
For air baffle assembly, install point C, D, E, F with Ø6mm drill and Ø6mm plastic dowels
Assemble cooker hood’s body
- Flap Pin Socket
- Flap Pin
Insert the plastic pin (Figure 7/area no. 2) on the pin socket on the motor exhaust (Figure 7/area no.1). Then bend the flap lightly to insert the other pin on the flap and insert the other pin to its socket
(Figure 8)
- Air Baffle
- Plastic Flue
Attach the plastic flue adapter, which is included in the package, in the direction of the air baffle. Lock the flue adapter by turning it in the direction of the arrow
(Figure 9)
Assemble the air baffle group with 3.9 x 22 screws from point C, D, E, F that you have already prepared
(Figure 10)
1. Aluminium Air Outlet Pipe
Make the air outlet pipe assembly
- Since twists and bends in the alu-minium pipe will lead to reduction in the air suction power, avoid using twists and bends as much as possible.
Install plate flues of the cooker hood
GRUNDIG GDS 2460 B Cooker Hood



















