ALUTHERM VERRE Wifi
Instruction Manual![]()
Alutherm Verre WiFi Convector Heater
| 1000 W Art. nr. 360912 1500 W Art. nr. 360936 2000 W Art. nr. 360950 | 360929 (Swiss Plug) 360943 (Swiss Plug) 360967 (Swiss Plug) |

This product is only suitable for well-insulated spaces of occasional use.
| Model identifier(s): Alutherm Verre 1000 | |||||
| The item I Symbol I Value I Unit | Item I Unit | ||||
| Heat output | Type of heat input, for electric storage local space heaters only (select one) | ||||
| Nominal heat output | Phnom | 1,0 | kW | manual heat charge control’ with integrated thermostat | Not applicable |
| Minimum heat output (indicative) | Pin | 0,4 | kW | manual heat charge control with mom and/or outdoor temperature feedback | Not applicable |
| Maximum continuous heat output | Pmax,c | 1,0 | kW | electronic heat charge control with room and Mr outdoor temperature feedback | Not applicable |
| Auxiliary electricity consumption | fan-assisted heat output | Not applicable | |||
| At nominal heat output | elmax | 960 | kW | Type het output/room temperature control ( select one)a | |
| At minimum heat output | Elgin | 405 | kW | single stage heat output and no room temperature control | no |
| In standby mode | USB | 0.542W(WIFI function if any turned for | Two or more manual stages, no room temperature control | no | |
| 1.04W(while the WIFI function turned 0n) | with mechanic thermostat room temperature control | no | |||
| with electronic room temperature control | no | ||||
| electronic room temperature control plus day timer | no | ||||
| electronic room temperature control plus week timer | yes | ||||
| Other control options (multiple selections possible) | |||||
| room temperature control, with presence detection | no | ||||
| room temperature control, with open window detection | yes | ||||
| with distance control option | yes | ||||
| with adaptive start control | no | ||||
| with working time limitation | no | ||||
| with black bulb sensor | no | ||||
| Contact details | EUROM-KOKOSSTRAAT 20-8281JC-GENEMUIDEN-NETHERLANDS | ||||
| Model identifier(s): Alutherm Verne 1500 W | |||||
| Item I SYrnbol I Value I Unit | Item I Unit | ||||
| Heat output | Type of heat input, for electric storage local space heaters only (select one) | ||||
| Nominal heat output | Poem | 1,5 | kW | wmiathn ‘Inatiehgeraattecdhtahrgre:sntairtd ‘ | Not applicable |
| Minimum heat output (indicative) | Pin | 0,6 | kW | manual heat charge control with room and(or outdoor temperature feedback | Not applicable |
| Maximum continuous heat output | Pmax,c | 1,5 | kW | electronic heat charge control with room and/or outdoor temperature feedback | Not applicable |
| Auxiliary electricity consumption | fan-assisted heat output | Not applicable | |||
| At nominal heat output | elmax | 1,430 | kW | Type ct of one heat output/room temperature control (sele) | |
| At minimum heat output | Elgin | 0.575 | kW | single stage heat output and no room temperature control | no |
| In standby mode | USB | 0.542W(WIFI function if any turned off) | Two or more manual stages, no room temperature control | no | |
| 1.04W(while the WIFI function turned on) | with mechanic thermostat room temperature control | no | |||
| with electronic room temperature control | no | ||||
| electronic room temperature control plus day timer | no | ||||
| electronic room temperature control plus week timer | yes | ||||
| Other control options (multiple selections possible) | |||||
| room temperature control, with presence detection | no | ||||
| room temperature control, with open window detection | yes | ||||
| with distance control option | yes | ||||
| with adaptive start control | no | ||||
| with working time limitation | no | ||||
| with black bulb sensor | no | ||||
| Contact details | EUROM-KOKOSSTRAAT 20-8281JC-GENEMUIDEN-NETHERLANDS | ||||
| Model identifier(s):Alutherm Verre 2000 W | |||||
| Item I SYmbol I Value I Unit | Item I Unit | ||||
| Heat output | Type of heat input, for electric storage local space heaters only (select one) | ||||
| Nominal heat output | Prom | 2,0 | kW | wmiathn ‘Inatiehgefaattecdhtahrgfem’oantairtd . | Not applicable |
| Minimum heat output (indicative) | Pin | 0,8 | kW | manual heat charge control with room and/or outdoor temperature feedback | Not applicable |
| Maximum continuous heat output | Pmax,c | 2,0 | kW | electronic heat charge control with room and/or outdoor temperature feedback | Not applicable |
| Auxiliary electricity consumption | fan-assisted heat output | Not applicable | |||
| At nominal heat output | elmax | 1,920 | kW | Type of heat output/room temperature control (select one) | |
| At minimum heat output | Elgin | 0.770 | kW | single stage heat output and no room temperature control | no |
| In standby mode | USB | 0.542W(WIFI function if any turned off) | Two or more manual stages, no room temperature control | no | |
| 1.04W(while the WIFI function turned on) | with mechanic thermostat room temperature control | no | |||
| with electronic room temperature control | no | ||||
| electronic room temperature control plus day timer | no | ||||
| electronic room temperature control plus week timer | yes | ||||
| Other control options (multiple selections possible) | |||||
| room temperature control, with presence detection | no | ||||
| room temperature control, with open window detection | yes | ||||
| with distance control option | yes | ||||
| with adaptive start control | no | ||||
| with working time limitation | no | ||||
| with black bulb sensor | no | ||||
| Contact details | EUROM-KOKOSSTRAAT 20-8281 JC-GENEMUIDEN-NETHERLANDS | ||||
Thank you
Thank you very much for choosing a EUROM device. You have made a good choice! We hope you will be satisfied with its functioning.
To get maximum profit from your product, it is important to read this manual attentively and totally before use and to understand what is written. Read especially the safety instructions: they are there to protect you and your environment.
Keep the manual in a safe place for future reference. The store also the package: that is the best protection for your product in times of no-use. And if you at any time pass the appliance on, pass on the manual and package too.
We wish you a lot of fun with the Alutherm Verre!
Eurom
Kokosstraat 20
8281 JC Genemuiden (NL)
[email protected]
www.eurom.nl
This manual has been compiled with the utmost care. Nevertheless, we reserve the right to optimize this manual at any time and to adjust it technically. The image used may differ.
Symbol explanation
Do not cover the device!
Important warning
This device is drip-proof / splash-proof and may be used in bathrooms and other damp rooms. To prevent contact with water, the device must be mounted in bathrooms and in a humid place at a fixed location at least 100 cm from water taps and water reservoirs. The use of the device on feet is not permitted in bathrooms and damp rooms.
Technical data
| Type | 1000 | 1500 | 2000 |
| Supply Voltage | 220-240V-50Hz | ||
| Capacity | 1000W | 1500W | 2000W |
| Settings | 400/600/1000W | 600/900/1500W | 800/1200/2000W |
| Thermostat | + | ||
| Day-timer | + | ||
| Weekly timer | + | ||
| Insulation class | IP24 | ||
| Dimensions Wall mounted Freestanding | 9,1x62x44 cm 21x62x47,2 cm | 9,1×76,5×44 cm 21×79,5×47,2 cm | 9,1×92,8×44 cm 21×92,8×47,2 |
| Weight | 5,1 kg | 7,2 kg | 9,2 |
Warning electric heaters
Safety warning – general
- Read the user instructions carefully and completely before using (and installing) this device. Keep the instruction leaflet somewhere safe so that you can consult it and pass it on in the future.
- Before use, check your new device (including cable and plug) for any visible damage. Never use a damaged device but take it back to the supplier for a replacement.
- In the event of incorrect usage or installation, there is a risk of electric shocks and/or a fire hazard.
Warnings position of the device with wall mounting
- Do not use the device before it has been fully installed as set out in the user instructions. Never use the device standing up or leaning against something, or similar. Never insert the plug into the socket before the device has been correctly installed at the appropriate place.
- When installing, the following minimum distances should be considered:
Minimum distance to ceiling: 150 cm
Minimum distance to side walls: 30 cm
Minimum distance to the ground: 30 cm
Minimum distance to the front: 50 cm - The air around the device must be able to circulate freely. Never install it too close to large objects and never under a shelf, cupboard, curtains, or similar. The minimum distances from large objects such as shelves, cupboards, etc. to the top, sides, and underneath of the device are equal to the aforementioned minimum distances to ceilings, side walls, and the ground, respectively.
- This device is, in principle, suitable for installation in damp spaces such as bathrooms, washrooms, etc. (IP24). The device may only be used in the bathroom if it is installed at a fixed point and the device is at least 100 centimeters from water points and water reservoirs (tap, bath, shower, toilet, sink, swimming pool, etc.).
Make sure that the device cannot fall into the water and that it cannot be penetrated by water. If the device does get wet make sure you remove the plug from the socket! Do not use a device that is wet inside but take it to be repaired. Never immerse the device, cable, or plug in water or any other fluid, and never touch the device with wet hands. - If the device is installed in a bathroom, it must be installed such that the switches and other operating components cannot be touched by a person in the bath or shower.
- The wall or ceiling to which the device is secured and the ceiling and walls within 1 meter of the device must not be made of flammable materials. Materials must be resistant to temperatures of at least 200°C without burning, melting, deforming, or bursting into flames. Check regularly to ensure that the wall and ceiling are not overheating; this could be dangerous!
- Only use the device if it has been secured properly. Make sure that you always use attachment materials that are suitable for the surface you are working with; consult an expert if required.
- With wall installation: never block the space between the device and the wall.
- If this device is connected directly to your electrical installation, it must be installed by a specialist, taking into account the valid regulations/legislation.
Warnings position of the device with free-standing use
- Only use the device when the feet/wheels have been installed.
Using the device without feet/wheels creates a significant risk of fire. Always remove the plug from the socket if you are installing/removing it. - Do not use this device in the immediate vicinity of a bath, shower, or swimming pool.
- This device is drip-proof / splash-proof and may be used in bathrooms and other damp rooms. To prevent contact with water, the device must be mounted in bathrooms and in a humid place at a fixed location at least 100 cm from water taps and water reservoirs. The use of the device on feet is not permitted in bathrooms and damp rooms. Do not place the device near waterpoints and/or water reservoirs. Make sure that the device cannot fall into the water and that it cannot be penetrated by water. If the device does get wet make sure you remove the plug from the socket! Do not use a device that is wet inside but take it to be repaired. Never immerse the device, cable, or plug in water or any other fluid, and never touch the device with wet hands.
- The air around the device must be able to circulate freely. Never install it too close to walls or large objects and never under a shelf, cupboard, curtains, or similar. When locating the device, make sure you have the following minimum free space: Front, minimum free space 50 cm Back, minimum free space 30 cm Sides, minimum free space 50 cm Top, minimum free space 100 cm 5. Always place the unit on a sturdy, flat horizontal surface
- The base on which the device is placed must not be made of flammable materials. It must be resistant to temperatures of at least 125°C without burning, melting, deforming, or bursting into flames. Check regularly to ensure that the surface is not overheating; this could be dangerous!
- Never place the device on surfaces such as beds or deep-pile carpets as openings could be blocked.
Other warnings position of the device
- Never install/place this device behind a door or by an open window, where rain could get in.
- Do not place the device near, under, or facing an electrical socket and not in the vicinity of an open fire or heat source.
- Do not use the device nearby or facing furniture, curtains, paper, clothing, bedding, towels, or other flammable materials. Keep at least 1 meter from the device!
- Do not use the heater outdoors or in areas that are smaller than 10m³ (1000) / 15m³ (1500) / 20m³ (2000).
- The device contains hot and/or glowing and sparking components. Do not, therefore, use where fuels, paint, flammable fluids, and/or gases are stored. Do not use the device in an environment that poses a fire risk, e.g. near gas tanks, gas pipes, or aerosols. This is an explosion and fire risk!
Warnings – use
- Do not use additions/accessories on the device that have not been supplied or approved by the manufacturer.
- Only use the device for its intended purpose and in the manner set out in this instruction leaflet.
- Some parts of this device will get very hot and could cause burns. You must pay particular attention to children, vulnerable persons, and pets that are present near the device. Never leave them alone with a working device.
- Never cover or block the device; it will overheat and this could lead to a fire risk. Never hang or place objects such as clothing, towels, blankets, cushions, paper, etc. on the device. The minimum distance of 1 meter between the device and flammable materials must always be applied. Ventilation openings should never be blocked as this may pose a fire risk. Never use the device to dry clothing or place anything on it. Do not let anything lean against the device!
- The device is exclusively intended for normal, household usage. Only use for providing heat in your home.
- The connection voltage and frequency, as given on the device, must correspond to that of the socket to be used. The electrical socket to be used must be an earthed connection. The electrical installation must be protected via a 30 mA earth leakage circuit breaker. The electrical socket that you are using must be to hand at all times in order to be able to remove the plug from the socket in the event of an emergency.
- To avoid overloading and/or fuses being blown, do not use any other equipment on the same socket or electrical group as the one used for the device.
- Unroll the electric cable for the device fully before inserting the plug into the socket and ensure that the electrical cable does not come into contact with the fireplace or get hot. Do not run the electrical cable under the carpet, cover with mats, runners, or similar, and do not place it in areas that are walked on frequently. Ensure that it cannot be stepped on and that no furniture is placed on top of it. Do not bend the electrical cable around sharp corners and do not roll up too tightly after use! Prevent the electrical cable from coming into contact with oil, solvents, and sharp objects. Check the cable and plug regularly for damage. Do not bend or pinch the electrical cable and do not wind it around the device; this could damage the insulation!
- The use of an extension cable is not advised as this can lead to overheating and fire. If the use of an extension cable is unavoidable, make sure that it is not damaged and that it is an approved extension cable with a minimum diameter of 3×1,5mm² (1000) / 3×2,5mm² (1500, 2000) and a minimum permitted capacity of 1200 Watt (1000) / 1800 Watt (1500) / 2500 Watt (2000). Always fully extend the cable in order to prevent overheating.
- Only connect the device to a fixed socket. Do not use multi-plug adapters or similar.
- During use, the plug may begin to feel warm; this is normal. If it’s really warm, there may be something wrong with the socket. Please contact your electrician.
- Always turn off the device and remove the plug from the power socket: Never turn the device off using the plug!
- Prevent foreign objects from entering the radiation/ventilation or outlet openings on the device. This may cause electric shock, fire, or damage.
- Never leave a working device unattended but switch it off and then remove the plug from the socket. Always remove the plug from the socket when the unit is not in use! Always remove the plug by pulling on the plug itself; never pull on the electrical cable!
- Apart from manual use, this device can also be operated via an app or timer. However, you operate it, make sure that the safety guidelines are taken into account at all times! Do not operate the device with an additional time clock, timer, volume control such as a dimmer or similar, or any other device that automatically turns on the device.
- This device gets hot during use. Never touch the device when it is on or shortly thereafter; it could burn you.
- Never operate the device with wet hands.
Who can use the device?
- Children younger than 3 must be kept out of the vicinity of the device unless they are continuously supervised.
- Children between the ages of 3 and 8 may only switch the device on or off if it is set up or installed at its usual location and they are supervised or have received instructions regarding the safe use of the device and understand the corresponding hazards. Children between the ages of 3 and 8 may not insert the plug into the socket, adjust the device settings, or clean or maintain it.
- This device can only be used by children from the age of 8 and elderly persons and persons with diminished physical or mental capacities or a lack of experience and expertise if they are supervised or have received instructions regarding the safe use of the device and understand the corresponding hazards.
- Children may not clean or maintain the device without supervision.
- Children may not play with the device.
Warnings for maintenance
- Keep the device clean. Dust, dirt, and/or deposits in the device often lead to overheating. Ensure that this type of build-up is regularly removed.
- Always switch the device off, remove plug from socket and let the device cool down before you:
– clean the device
– users – maintain the device.
– touch or move the device. - Do not use the device if the glass panel is damaged/broken.
- Never switch the device on if you have noticed damage to the device itself, the cable or plug, or if it does not work properly, makes strange noises, smells odd or you can see smoke, or if it has fallen or shows any other signs of damage. Remove the plug from the socket immediately. Take the entire device back to your supplier or a recognized electrician to be checked and/or repaired.
Always ask for original parts to be used. - The device may only be opened and/or repaired by a competent and qualified person. Do not carry out your own repairs as this could be dangerous! Repairs carried out by unauthorized persons or changes made to the device could damage the dust/waterproof capacity of the device and will nullify the guarantee and the manufacturer’s liability.
- If the electrical cable is damaged, it must be replaced by the manufacturer, their service department, or somebody with similar qualifications in order to prevent creating a hazard.
Failing to adhere to points 3, 4, 5, could lead to damage, fire, and/or personal injury. They will invalidate the guarantee and the supplier, importer, and/or manufacturer shall not be liable for the consequences.
Description
- Heat outlet grille
- Air inlet grille
- Operating panel and LED display
- Main switch
- Feet (only freestanding)
- Remote control
- Connection extra temperature sensor (separate thermostat sensor included)

The LED display (3) has 4 lines: 1st line:
– 3 suns, indicate whether the heater is set to low, medium, or high capacity.
– The wifi symbol. If there is a wifi connection, this symbol will stay on.
– “P”: thermostat function or working according to the weekly timer.
– “M”: working on set capacity. 2nd line:
– SET indicates that a day or time can be set.
– ON indicates that the heater is switched on.
– OFF indicates that the heater has been switched off by the stand-by button or the topple safeguard.
– The figures show the temperature 3rd line:
– The time: both the ordinary time and the set times for the weekly timer.
4th line:
– The days of the week: 1 = Monday, 2 = Tuesday, and so on.
Installation
- Remove all packaging material and keep it out of reach of children. After removing the packaging, check the appliance for damage or other signs that could indicate a fault/defect/malfunction. In case of doubt, do not use the appliance, but contact your vendor for inspection or replacement.
- Choose a suitable location (wall-mounted or free-standing) for the device to take into account all the warnings mentioned earlier in this manual.
- Note: For free-standing use: Only use the device when the feet are mounted. The use of the device without feet is particularly flammable.
Wall mounting

| Dimensions | 1000 W | 1500 W | 2000 W |
| A | 662 mm | 807 mm | 970 mm |
| B | 140 mm | ||
| C | 487 mm |


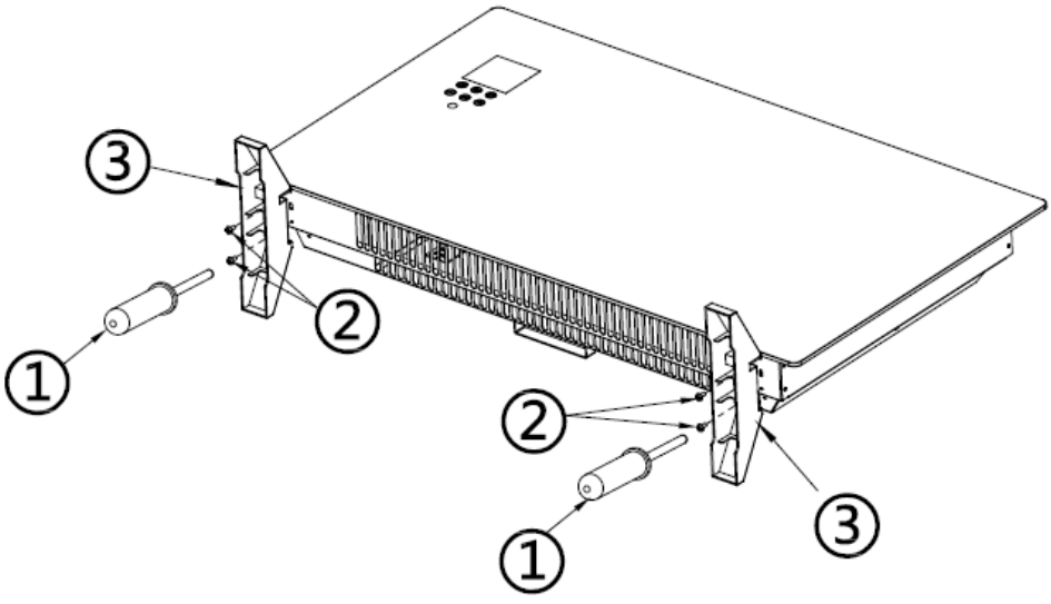
- Secure the 2 hanging brackets o the wall. Choose left and a right bracket and secure them with the channel to the top, the short sides against the wall (see diagram). Drill 2 holes in the wall, with a distance of 662 mm (1000) / 807 mm (1500) / 970 mm (2000) between them, at least 60 cm. above the floor and horizontal. Push plugs into the drilled holes and screw the brackets to the wall using the 2 large screws.
- Screw the other 2 brackets with the smaller screws below the heater, in the relevant holes (see diagram): screw through the long side of the bracket, the short side facing down. The short side will come to lie against the wall.
- Hang the heater on both brackets and let it drop into the channels.
- The short sides of the other 2 brackets will fall against the wall. Mark where these must be screwed to the wall and lift the heater out of the brackets.
- Drill 2 holes at the marked locations and insert plugs.
- Hang the heater back on the brackets, let it drop into the channels, and screw the last 2 large screws through the lower brackets against the wall.
- Check to ensure your heater is horizontal and secure, with the minimum distance to the floor, ceiling, and any side walls.
Freestanding
Attach the feet supplied to the underside of the heater (see picture):
- Turn the heater upside down. Place a blanket (or something similar) under the heater to prevent damage!
- Place the feet on their place on the bottom of the heater. This will ensure that the threaded holes will align correctly.
- Securely attach the feet to the heater using the (2×2) self-tapping screws.

- Return the heater to the upright position.
- Make sure a working heater is always placed on a solid, flat, and horizontal surface.
Deep-pile carpeting is unsuitable!
Using for the first time and operation
- Check to make sure the main switch is set to O (off).
- Check that the heater is stable and upright, in line with instructions.
- Now insert the plug into the 220/240V socket.
- Set the main switch to I (on). The display will show: OFF
External temperature sensor
Because the temperature sensor is located on the heater, it does not measure the external temperature very accurately. If you want accurate measuring, connect the separate
thermostat (included in the delivery) by inserting the small plug into the control panel and placing the sensor approx. 2 meters away from the heater (see illustration). For this
purpose, you should remove the heater from the wall and subsequently, place it back. When you have connected the separate thermostat, it automatically takes over the thermostat operation.

Using the operating panel:
The operating panel (3) has 6 buttons:MOD / SET / WEEK / + / – / ON-OFF![]()
- Press the ON/OFF button in order to switch the heater on. The display lights up and the heater can be operated.
- Now, set the day and time. Press and hold SET until SET appears on the screen. The numbers of the weekdays (line 4) will blink. Use the + and – buttons to find the right day (1 – Monday, 2 = Tuesday, etc.) and confirm with SET. The hour will now blink. Use the + and – buttons to set the right hour and confirm withSET. The minutes will now blink. Use the + and – buttons to set the right minutes and confirm with SET. The day and time are now set.
Please Note:
o The day and time settings will be lost if the heater is switched off using the main switch or plug; these will be retained if the ON/OFF button is used.
o If you do not set a time and day, the heater will assume that it is day 1 and 00.00.
o The screen goes off automatically after 2 minutes and can be turned on again with any button. - Press MOD to set whether you wish to work with the M or P function. Under the M-function, you use the + and – buttons (remote control: with the bar button) to set the capacity at which the heater will work: low, medium, or high – see technical details. The thermostat cannot be adjusted.
- Under the P-function, you can use the + and – buttons to set the desired temperature for the heater, which it will then try to maintain. The heater will automatically select the correct capacity: 1 or 2 degrees of heat = low, 3, 4 or 5 degrees of heat is medium and 6 or more degrees of heat is high. Once the desired temperature is reached, the heater automatically turns off, and then back on again when it cools down.
- Under the P-function, you can also set the weekly timer. Pressing WEEK, allows you to set or check the weekly timer. Please note! To set the weekly timer, you must first enter the day and time correctly.
Setting weekly timer:
- Press the WEEK button and hold it in. A blinking ‘01’ will now appear on the display. Use the + and – buttons to choose “01” (one-off setting) or “][“ (the setting your install will be implemented every week). Confirm with SET.
Note: the setting(s) that you enter under ‘one-off’ (01) must fall into the current week. On Sunday (day 7) at 24.00, all one-off settings will be turned to non-active. A setting that you enter on Tuesday for Saturday will work, but a setting that you enter on Saturday for Tuesday will not.
Note: a one-off setting (01) will only be implemented by the heater once, but the timer setting will stay as non-active in the memory and therefore takes the place of one of the four possible settings on that day. You are better off deleting it, see later.
Please Note: The choice of ‘one-off’ or ‘repeated’ now applies to all timer settings!
- “01 SET ON” appears on the screen to signify that you can set the first ‘on’ time. You can now use the + and – buttons to select the day of the week for the setting. Press SET for the right day.
- The temperature (standard 25°) now appears on the display and blinks. Use the + and – buttons to adjust it, from 0 to 37°C. Confirm with SET.
- The hour will now blink. Choose the right hour and confirm with SET.
- The minutes will now blink. Choose the right minutes and confirm with SET. The first activation time is now set.
- Now, “01 SET OFF” will appear on the display, to indicate that you must set the deactivation time. Do this in the same way as set out in the above 2 points. Your first setting is now entered.
A ‘02’ will now appear on the display. You can now set a second activation/deactivation time; a total of 4 per day and 28 per week. If you don’t need to, wait until the screen returns to the standard settings.
Attention! All timer settings (maximum 28 per week) will be processed completely one by one. Therefore, make sure that they do not contradict each other! - Now switch the heater on using the ON/OFF switch. The screen will show P and OFF to indicate that a setting has been programmed but that the heater is
currently off. At the set time, it will switch on and off automatically. - The set timer details will be retained after it is switched off using the main switch or plug.
- If you press repeatedly on WEEK, you will see the following timer settings, one after the other:
– One-off or repeated
– Thermostat setting
– Timer on-time
– Timer off-time
– Next timer setting - If you would like to delete a specific setting, press and hold WEEK and then search for the timer setting that you need. Go past 01- ][ and on/off first by pressing SET briefly. When the number of the timer setting that you wish to change appears, press SET for a little longer. You will hear a short beep and the selected setting has been deleted.
- If you wish to delete all timer settings, press the WEEK button and hold. Press and hold the MOD and SET buttons at the same time, until you hear a beep. The screen will show 88:88, indicating that all settings have been deleted. Please
Note: all timer settings can only be deleted with the buttons on the operating panel, not with the remote control! - If you wish to retain the timer details but do not want to use the timer for a while, push and hold the WEEK button and then push and hold the MOD until TIME disappears from the screen to indicate that the data will be retained but will not be active. By pressing MOD again until TIME appears, you will reactivate the timer.
Screen protection: If the settings on a working heater are not adjusted for 2 minutes, the LED display will go out but ON will stay on. It will light up again when you press a button. If the heather is switched off using the ON/OFF button, the OFF screen will stay on.
Using with the remote control:
The remote control (5) has the same 6 buttons as the operating panel (MOD = MODE) and works in roughly the same way, but:
You cannot use the remote control (under M-mode) to set the capacity with the + or – buttons. Use the bar button for this purpose.
The remote control has an ECO button for an energy-efficient mode; the heater maintains the room at 16°C. The screen shows EC. Deactivate by pressing ECO again. Nothing else can be set under this setting.
If the heater is working on ECO setting and a timer setting becomes active, the heater will start to work according to the timer setting. When the heat goes off, the heater will not return to the ECO setting, but go off.
The remote control also has an open-window detection; when you choose this function, the heater will turn itself off when the temperature in the room drops by 8 or more degrees in 15 minutes. Turn the heater on again with the on/off button. Press the symbol again to cancel the open-window detection. The heater will begin to work in the pre-set function. When the heater operates according to a set week program and you turn on the open-window detection, the heater will only work during the set operating times of the week program.

Working with the app via wifi:
The heater can also be operated using an app on your smartphone. The heater must be connected with a wifi modem. See the back of the booklet for instructions on how to install the app. By activating the app on your smartphone or tablet, and selecting the device, you can operate the heater with the smartphone. You do not need to set a day or time as they are set automatically (both on the app and on the display).
You can use the app to switch the device on and off, regulate the temperature and capacity, set the ECO setting, and open-window detection. The app can also be used to set 20 on and off settings daily, on the weekly timer.
If the device is connected with wifi and is switched on, the display will show (during screen saver) the wifi symbol and ON. If the device is connected to wifi but switched off, the display will show the wifi symbol and OFF.
Note: timer settings that are created using the app are not visible on the display; timer settings that are created using the operating panel or remote control are not visible on the app! Once there is a wifi connection, you cannot create a new weekly timer using the panel or the remote control (WEEK and SET buttons are turned off); any existing, manually entered weekly timer settings will remain active under wifi.
Do not use both methods at the same time!!!
When the heater has logged into wifi, an automatic connection will be made when it is switched on. The wifi symbol will be on all the time. If the wifi symbol blinks quickly, there is no connection.
You can reset the wifi settings by pressing and holding the MODE button. Existing connections will be deleted, the wifi symbol will begin to blink and a new connection will be made.
You can switch off the wifi connection (and the blinking wifi symbol) by pressing and holding the ON/OFF button. If you hear a long beep, the wifi is switched off; the wifi symbol will go out. By pressing and holding the ON/OFF button, you will hear a short beep to indicate that wifi is switched on again. The wifi symbol will come back on.
Warning! After switching the heater on or off, you will hear a quiet sound. This is normal and no reason to worry. It is just the material expanding and shrinking during heating and cool-down.
Wi-Fi and app operation
The heater can also be controlled with an App. To do this, the heater must be connected to a Wi-Fi modem.
Download the Eurom Smart App
– Scan the QR code below or search for ‘Eurom Smart’ in the App Store or Google Play and follow the download instructions.
http://smartapp.tuya.com/eurom
– The Eurom Smart App will be added.
– For more information about the App see: www.eurom.nl/nl/manuals.
Safety precautions App
Safety and remote operation
Your Eurom heater can be easily operated, via the same WLAN, via a different WLAN, or via a 3G or 4G mobile network. This makes it possible to operate your heater remotely, without your direct supervision. Beware that even when operating the heater remotely, all safety precautions stated in the user manual supplied must be observed. Read and understand these safety precautions and make sure that all safety precautions are taken also with remote operation.
Safety and setting the timer
The Eurom Smart App has a ‘Smart Timer’ with which you can create a schedule yourself with days and times on which the heater is to automatically switch itself on and off. Any timer data entered into the Eurom Smart App will be stored in the heater. This means that, once you have entered the timer data and the heater loses the connection with the Wi-Fi modem, the heater will still be able to switch itself on and off at your specified times. Storing the timer data in the heater is a safety precaution. Your set on and off times schedule will also work without a Wi-Fi connection. So the heater will not unexpectedly continue heating up if the Wi-Fi connection (temporarily) fails.
The Smart timer data will be stored, even if the heater is switched off or the plug is removed from the socket. The set Smart timer data can only be checked via the App and also only be removed via the App. Bear this in mind when entering the data into the Smart Timer. The Smart Timer data is not visible on the heater. Regularly check in the App whether the entered Smart Timer data are still correct. You can consult an elaborate Eurom Smart App user manual with the QR code below:

or on the website: http://www.eurom.nl/nl/manuals
Safety measures
Topple safeguard
The heater is equipped with a topple safeguard which switches the heater off if it accidentally falls over. It will start working again once it has been set upright. but, before reusing, switch if off, unplug and check for damage. Do not use the heater if it is damaged or malfunctioning, but have it inspected/repaired!
Overheating safeguard
In case of internal overheating, the overheating safeguard will switch the heater off. This may occur if the heater cannot give off enough heat or if it cannot draw in enough fresh air. As mentioned above, this is generally caused by (partially) covering the heater, obstructing the air intake and/or outlet grills, or installing the heater too close to a wall or something similar. After cooling down, the heater will automatically switch on again but if the cause has not been eliminated, this could be repeated (with all of the corresponding risks) In case of overheating, switch off the heater and unplug. Give the heater time to cool down, remove the source of the overheating and use as normal. If the problem persists or if you have not been able to trace the source of the overheating, turn the heater off immediately and unplug. Contact a servicing point to have the heater repaired.
Cleaning and maintenance
Keep the heater clean. Deposits of dust and dirt in the appliance are a common cause of overheating so these should be removed regularly. Switch off the heater, remove the plug from the socket and allow the heater to cool down before cleaning or carrying out maintenance work.
- Wipe the outside of the heater regularly with a dry or slightly damp cloth. Do not use aggressive soaps, sprays, cleaners or abrasives, waxes, polishes or chemical solutions!
- If the heater is hung on the wall, clean the back and the space behind the heater. Then remove the heater from the wall, see ‘Installation’.
- Use a vacuum cleaner to carefully remove any dust and dirt from the grills and ensure that the air intake and outlet openings are clean. Be careful not to touch or damage any internal parts during cleaning!
- The heater contains no other parts which need maintenance.
- At the end of the season, store the cleaned heater in the original packaging if possible. Store it upright in a cool, dry, and dust-free place.
Removal
In the EU this symbol indicates that this product may be disposed of as ordinary household waste. Old equipment contains valuable materials, suitable for recycling. These materials should be made suitable for reuse in order to prevent any adverse effects to health and the environment caused by unregulated waste collection. Therefore, please make sure that you bring old equipment to a designated collection point. Alternatively, contact the original supplier, who can make sure that as many of the components as possible can be recycled.
CE – declaration
Eurom
Kokosstraat 20
8281 JC Genemuiden
Holland
Declares that the following device is in sole responsibility
| Product : | Convector Heater |
| Brandname : | EUROM |
| Model : | Alutherm Verre 1000, 1500, and 2000 W |
| Article number: | 1000 W 360912 (360929 Swiss plug) 1500 W 360936 (360943 Swiss plug) 2000 W 360950 (360967 Swiss plugs) |
Complies with the following harmonization rules:
| Low Voltage Directive: Electromagnetic Compatibility Directive: Radio Equipment Directive: Restriction of Hazardous Substances RoHS Directive: Framework Directive Ecodesign requirements: Regulation Ecodesign requirements for Individual room heaters: Regulation Ecodesign requirements Electricity consumption in standby and off state: | LVD 2014/35/EU EMC 2014/30/EU RED 2014/53/EU 2011/65/EU&(EU)2015/863 ERP 2009/125/EC (EU) 2015/1188 1275/2008/EC |
applied harmonized standards:
EN 60335-1:2012+A11:14+A13:17
EN 60335-2-30:2009+A11:2012
EN 62233:2008
EN 55014-1:2017
EN 55014-2:2015
EN 61000-3-2:2014
EN 61000-3-3:2013
EN 300 328 V2.1.1:2016
EN 301 489-1 V2.2.0:2017
EN 301 489-17 V3.2.0:2017
EN 62479:2010
| Genemuiden, 01-10-2019 W.J. Bakker | ![]() |
EUROM
Kokosstraat 20
8281 JC Genemuiden
[email protected]
www.eurom.nl
011019
The remote control also has an open-window detection; when you choose this function, the heater will turn itself off when the temperature in the room drops by 8 or more degrees in 15 minutes. Turn the heater on again with the on/off button. Press the symbol again to cancel the open-window detection. The heater will begin to work in the pre-set function. When the heater operates according to a set week program and you turn on the open-window detection, the heater will only work during the set operating times of the week program.



















