PROVIDA VARME PVIL3000BLK WiFi Radiant Heater

NOTE
When the heater is first used you may detect an odor. This is because the protective layers of oil that the devices elements are coated in during production will burn off in first use. This should not cause concern and you should allow the appliance to heat up in an open environment to make the smell disappear.
IMPORTANT SAFEGUARDS
When using any electrical product the following basic safety precautions should always be followed, to reduce the risk of fire, electrical shock or injury to persons or property:
- Use only the voltage specified on the rating plate of the heater.
- Do not cover the grilles or block entry or exit of airflow by placing appliance against any surface. Keep all objects at least 1 metre from the front, side and rear of appliance.
- Do not place the prouduct close to a radiant heat
- Do not use in areas where gasoline, paint or other flammable liquids are used or stored.
- To avoid burns, when the heater is in use do not allow bare skin to come in contact with Always ensure the heater is switched off and cool before transporting.
- Do not immerse the heater in liquid or allow liquid to enter the interior of the heater, as this could cause an electric shock.
- Do not operate the appliance if the cord or plug are damaged, or if the appliance malfunctions or has been dropped or damaged in any manner.
- Seek assistance from a qualified electrician for any mechanical adjustments, service or repairs.
- Do not touch the appliance with wet
- The most common cause of overheating is deposits of dust or fluff in the heater.
- Ensure these deposits are removed regularly by unplugging the heater and vacuum cleaning air vents and grilles.
- Do not use this product near a window because rain may cause electric shock.
- Use a soft damp cloth to clean the appliance.
- Ensure that it is switched off and disconnected from the mains before hand.
- Do not connect the appliance to the mains voltage until it is fully installed in the desired position.
- Do not use the appliance in the immediate surroundings of a bath/shower, swimming pool or any liquid container.
- Switch off and let the surface cool before moving.
- We do not recommend use of an extension lead to operate this appliance.
- Please ensure that the power supply is switched off when the appliance is not in use.
- Do not allow the cord to come into contact with the heated surface during operation.
CAUTION
This heater is not suitable to be used on long pile carpets or flokati rugs.
- Do not run the cord in areas where it can cause someone to trip or
- Do not twist, kink or warp the cord around the heater, as this may cause the insulation to waken and split.
- Always ensure that cord has been removed from any cord storage area.
- Do not store heater while it is still
- This appliance is not to be used by young children without
- Do not locate this appliance below the socket-
- All covers of this appliance are intended to protect direct access to the heating elements and must be in place when the appliance is in
- Please only use this product as per its intended use outlined in this manual.
- Any other use is not recommended by the manufacturer and may cause fire, electric shock or injury.
- This appliance can be used by children aged 8 years and above.
- It should only be used by persons with reduced physical, sensory or mental capabilities if they have been given supervision or instruction concerning safe use of the appliance and understand associated potential hazards.
- Children should not play with the appliance.
- Cleaning and maintenance should not be carried out by children without supervision.
- Children of less than 3 years should be kept away from the appliance unless continuously supervised.
- Children aged between 3 and 8 should only switch the appliance on or off if it has been placed or installed in its normal operating position and they have been given supervision or instruction concerning safe use of the appliance and understand associated potential hazards.
- Children aged 3-8 should not plug in, clean or perform user maintenance on the appliance at any time.
- CAUTION-Some parts of this prouduct can become very hot and cause burns.
- Particular attention has to be given where children and vulnerable people are present.
- When installing the heater, please ensure that it is at least 8m above floor level.
- If the supply cord is damaged it must be replaced by a qualified electrician to avoid a hazard.
WARINING
This heater is not equipped with a device to control the room temperature. Do not use this heater in small rooms when they are occupied by persons not capable of leaving the room on their own unless constant supervision is provided.
Product instruction

PRODUCT SIZE

CIRCUIT DIAGRAM

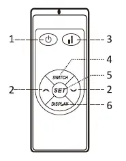
PRODUCT CONTROL PANEL

- On/off button 1
- Adjustment button
- High/Low switch button
- Switch button
- Set button
- Display button
Remote control 2 heating levels Thermostat Timer IP44 approval.
OPERATION GUIDE
Take out the heater from the carton carefully. Please save the carton for storage purposes. Firmly fix the heater in the desired position by following the installation instructions. Do not plug other high-power appliances in the same socket as the heater to avoid over loading.
Switch On
- Press to turn the heater on and the screen will display the room temperature.
- If the current room temperature is lower than the pre set temperature the heating function will begin to operate, and the indicator light will blink.
Lock Function
Press followed by and the LOCK indicator light will luminate. All keys are invalid when the lock function is activated.
Display screen On/off
Press to switch off the display. Press the button again for the display to illuminate.
Temperature Setting
To set the temperature press Gep then press or to increase or decrease the temperature by 1°C. The maximum temperature is 45°C. Once the desired temperature is set the system will automatically update and return to its normal operational status where the screen displays the room temperature.
Timing switch setting
Press SeD and the 00 will flash, use and O to set the time. The minimum time set up is 1 hour and the maximum is 24 hours. Each time you press or O the time will increase or decrease by 1 hour. When the time is set the system will automatically save and return to its normal operating status, however, it will now display the time on the screen.
Open the window to detect
When the temperature reduces by 3°C or more within two minutes, the intelligent window detection function kicks in and the heater will stop working. The LED display will flash and the heater will make a clicking sound. The heater will only resume working when it is manually reset by hand. Press SWITCH button and then SET button in 5 seconds, then Open Window function is activate and display show ON. After ON flash 5 seconds, the display resume original display. Press SWITCH button and then SET button in 5 seconds, then turn off the Open Window function, display show OFF.
Note
One Window function is OFF while factor setting.
Wi-Fi reset setting with Wi-Fi model
When the heater is in operation press followed by CD within 5 seconds. Then hold for around 10 seconds and the Wi-Fi will reset.
High/Low setting
When the heater is in operation press O to switch between the high and low heating settin.
Switch Off
Press O to turn the device off.
WARNING
This heater is hot when in use. To avoid burns, do not let bare skin touch any hot surfaces.
SERVICE
When a service is required contact a qualified service centre.
REPLACEMENT OF POWER CORD
If the power cord is damaged it must be replaced by a service agent or equivalent persons in order to prevent a hazard.
CHILD Supervision
This appliance is not intended to be use by children or infirm persons without supervision.
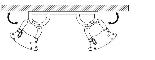
INSTALLATION GUIDE


Step one use the screws to install two of the fixed frames to the device.

Step two use the Screws to install the fixed frames to the wall or ceiling.
Step three affix the device to the chosen area with screws.

Ceiling installation

The device must be installed at least 200mm from the wall.
Double hanging ceiling installation
Two electrical appliances are connected through a connecting frame installed on the ceiling. Spare parts must be purchased separately

IF THE HEATER IS TO BE WALL MOUNTED

IT MUST BE AT LEAST 2,0 METERS ABOVE FLOOR LEVEL. IT ALSO NEEDS MINIMUM 20CM FROM TOP OF HEATER TO THE CEILING.
Extended installation



Sling appliances will hook up and hang from the ceiling.
Download AP
Scan the QR code below for a simple download using your smart device. Alternatively, search Smart Life on your device application store to download.

APP Operation
- Download the Smart Life App.
- Enter the interface.
- Click the + icon in the upper right-hand corner or alternatively press Add Device.
- Go to Small Home Appliances and select Heater.
- Enter the corresponding password to the chosen Wi-Fi network account.
- Click the link indicator on the infrared device’s digital screen.
- If the indicator is not blinking reset the Wi-Fi.
- Set the device information and press Done to enter the control interface where you will now be able to control the heater.
Note
Due to continued updates, the images in this manual may vary slightly from the latest procedure.
Table for information requirements for electric local space heaters
| Model identifier(s): | I | PVIL1200BLK I PVIL1800BLK I PVIL2400BLK | PVIL3000BLK | ||||
| Item I Symbol Value | Unit | ||||||
| Heat output | |||||||
| Nominal heat output | Pnom | 1.2 | 1.8 | 2.4 | 3.0 | kW | |
| Minimum heat output (indicative) | Pmin | 0.6 | 0.9 | 1.1 | 1.4 | kW | |
| Maximum continuous heat output | Pmax | 1.1 | 1.8 | 2.3 | 2.8 | kW | |
| Auxiliary electricity consumption | |||||||
| At nominal heat output | elmax | 1.137 | 1.760 | 2.283 | 2.768 | kW | |
| At minimum heat output | elmin | 0.576 | 0.878 | 1.125 | 1.415 | kW | |
| In standby mode | elSB | 0.3 | 0.4 | 0.17 | 0.3 | w | |
| Item | Unit | ||||||
| Type of heat input, for electric local space heaters only select one | |||||||
| Manual heat charge control with integrated thermostat | no | ||||||
| Manual heat charge control with room and/or outdoor temperature feedback | no | ||||||
| Electronic heat charge control with room and/or outdoor temperature feedback | no | ||||||
| Fan assisted heat output | no | ||||||
| Type of heat output/room temperature control (select one) | |||||||
| Single stage heat output and no room temperature control | no | ||||||
| Two or more manual stages, no room temperature control | no | ||||||
| With mechanic thermostat room temperature control | no | ||||||
| With electronic room temperature control | no | ||||||
| Electronic room temperature control plus day timer | yes | ||||||
| Electronic room temperature control plus week timer | no | ||||||
| Other control options multiple selections possible | |||||||
| Room temperature control, with presence detection | no | ||||||
| Room temperature control, with open window detection | yes | ||||||
| With distance control option | yes | ||||||
| With adaptive start control | no | ||||||
| With working time limitation | no | ||||||
| With black bulb sensor | yes | ||||||
| Contact details | |||||||
| Remark For electric local space heaters, the measured seasonal space heating energy efficiency s cannot be worse than the declared value at the nominal heat output of the unit. | |||||||
WARNING
- Please ensure the heater is fixed correctly to the
- Heater is to be installed so that it is not located directly under a socket-
- Consult a qualified electrician or service technician if the power cord is damaged.
- Always store the heater in a safe place when not in use for long periods of Ensure it is in protective packaging to avoid damage whilst stored.
- Make sure the heater has cooled down before storing.
- Ensure the heater is kept at a safe distance from other furniture or appliances to avoid a hazard.
- Do not dispose of electrical appliances as unsorted municipal waste, use separate collection facilities.
- If electrical appliances are disposed of in landfills or dumps, hazardous substances can leak into the groundwater and get into the food chain, damaging your health and well being.
- When replacing ones, retailer is legal to ta e ac your old appliance for disposal free of charge.




















