
USER MANUAL
691-1A

Read this user manual carefully prior to installation
AUTOMATIC FIRE SUPPRESSION FOR GREASE FIRES ON INDOOR RESIDENTIAL STOVE TOPS (CLASS K)
The Original StoveTop FireStop® www.STFS.com
FIRE SAFETY
- Unattended cooking is the leading cause of fires in the kitchen. Many injuries occur when occupants attempt to fight the fire themselves.
- Never leave anything cooking on the stovetop unattended! If you have to leave the kitchen –even for a short time– turn off the stove
- Never leave home, or fall asleep while you are cooking.
- Never pick up a flaming pan. You may be burned, or if the pan is dropped, flames may quickly spread to other more flammable areas.
- Never use water to fight a grease fire! A violent explosion may result. Wet dishcloths or towels are also dangerous.
- Always follow National Fire Protection Association (NFPA) guidelines for proper cooking safety. Visit www.nfpa.org.
ANATOMY OF LOWEPRO
Installation instructions on back

![]()
- This product must be mounted according to the instructions in this manual for proper operation.
- Not intended for cooking with more than 3/8” oil depth before food is added.
- If safe, turn the burner OFF immediately after activation.
- Reignition is possible.
- When suppressing powder comes in contact with fire, it may briefly flare and/or cause grease to splash. This is a normal and temporary reaction.
- If using this product with a gas stove, review the statement on our website at www.stfs.com/gasstove
- This product may not suppress all stovetop fires.
![]()
- Keep away from children.
- Avoid exposure to suppressing powder if you wear contacts, or have a respiratory illness or skin allergies.
- Contents may be harmful if swallowed.
- Suppressing powder is non-toxic but could cause skin irritation. In case of contact with the powder, flush from the affected area with water.
- If irritation persists, contact a physician immediately.
- Discard product after activation.
- Discard product if dropped or damaged.
- Do not clean units.
NOTICE
- Failure to remove or replace by the “remove or replace before” date, as shown on the product label, could diminish the effectiveness of the product.
- This product activates automatically by direct, sustained contact with flame.
- At the time of activation, a loud “POP” will occur.
This is normal and meant to alert occupants/ Contains powerful magnets.
MANUFACTURER’S INFORMATION
Designed & Manufactured y WilliamsRDM in Texas
Contents: Potassium Bicarbonate
Designed solely for suppressing stove top grease fires in indoor residential kitchens using no more than 3/8″ of oil before food is added.
For storage and disposal information, or to learn more about Stovetop Firestop, please visit our website at www.STFS.com, or call 1-888-616-7976.
LIMITED WARRANTY
WilliamsRDM, Inc. (“WRDM”) warrants this StoveTop FireStop® product against defects in material or workmanship for the time periods and under the terms set forth below. Pursuant to this Limited Warranty, WRDM will, at its option, (i) repair the product using new or refurbished parts or (ii) replace the product with a new or refurbished product. For purposes of this Limited Warranty,“refurbished” means a product or part that has been returned to its original specifications. In the event of a defect, these are your
exclusive remedies.
WDM warrants to the original retail purchaser all WRDM products for a period of one (1) year against defective material and faulty workmanship. Any unit found to be defective during the warranty period will be repaired if possible, or replaced free of charge upon the buyer’s prepaid return of the defective unit—only after receipt of an official Return Material Authorization (RMA) number. Proof of retail purchase is required. This warranty gives the buyer specific legal rights which may vary by state (or country.)
THE FOREGOING WARRANTY IS MADE IN LIEU OF ALL OTHER WARRANTIES WITH RESPECT TO THIS PRODUCT, INCLUDING
ANY IMPLIED WARRANTY OF MERCHANTABILITY OR FITNESS FOR A PARTICULAR PURPOSE—WHICH ARE HEREBY DISCLAIMED. THERE ARE NO IMPLIED WARRANTIES THAT EXTEND BEYOND THE DESCRIPTION ON THE FACE HEREOF. NO PERSON IS AUTHORIZED TO GIVE ANY OTHER WARRANTY OR TO ASSUME FOR WRDM ANY OTHER LIABILITY IN CONNECTION WITH THE SALE OR INSTALLATION OF ITS PRODUCTS.
REPLACEMENT OF THE PRODUCT WILL BE THE SOLE REMEDY WITH RESPECT TO ANY LOSS OR DAMAGE TO PROPERTY. BUYER IS NOT RELYING ON SELLER’S JUDGMENT REGARDING BUYER’S PARTICULAR REQUIREMENTS AND BUYER HAS HAD AN OPPORTUNITY TO INSPECT THE PRODUCT TO BUYER’S SATISFACTION. UNAUTHORIZED SERVICE OF ANY KIND INVALIDATES ALL WARRANTY PROVISIONS.
This Limited Warranty covers only the hardware components packaged with this product. It does not cover technical assistance for hardware. Any parts or products replaced under this Limited Warranty will become the property of WDM.
LIMITATION ON DAMAGES: WRDM SHALL NOT BE LIABLE FOR ANY INCIDENTAL OR CONSEQUENTIAL DAMAGES, INCLUDING BUT NOT LIMITED TO ANY SUCH DAMAGES FOR ANY BREACH OF ANY EXPRESS OR IMPLIED WARRANTY ON THIS PRODUCT.
Instructions: To obtain warranty service, you must deliver the product, freight prepaid, in either its original packaging, or packaging affording an equal degree of protection, to WRDM’s specified manufacturing facility.
This Limited Warranty only covers product issues caused by defects in material or workmanship during ordinary consumer use; it does not cover product issues caused by any other reason, including but not limited to product issues due to commercial use, acts of God, misuse, limitations of technology, or modification of or to any part of the WRDM product. This Limited Warranty is invalid if either the factory-applied work order number or date code has been altered or removed from the product. This Limited Warranty is valid only in the United States.
For StoveTop FireStop customer service: go to www.STFS.com or call 1-888-616-7976.
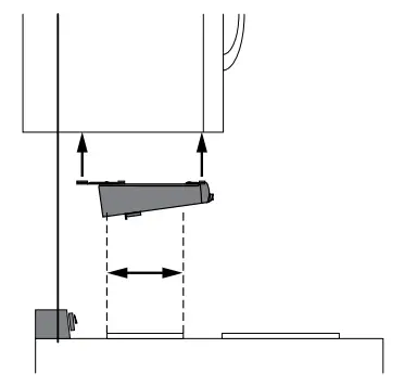
REQUIREMENT – HEIGHT/ALIGNMENT

Each unit must be able to mount independently to the underside of the microwave on each side (left and right) at a distance of 15-32” (38-81 cm) above the surface of the stove.
REQUIREMENT – MOUNTING

To accommodate many different microwave configurations, each LowPro is equipped with four (4) rotating magnet bars. At least three (3) of the four (4) magnets must make full, strong contact with a flat surface on the underside of the microwave.
NOTE: Magnets making contact with ridges, support ribs, valleys, non-magnetic parts, and rounded or angled sections should not be counted on.
INSTALLATION INSTRUCTIONS
STEP 1

Position the units on the stove magnets up, where the units front fuse is facing toward the front of the stove.
STEP 2

Swivel the magnet arms from their shipping position to 90º. The arms may be very tight from the factory.
STEP 3

Align the rear fuse over the center of the rear burner with the front fuse pointed forward.
STEP 4

Raise the unit to the bottom of the microwave or ventilation hood without attaching the magnet arms.
STEP 5

Take note of where the magnets could come in contact with fan vents, lights, or other obstructions.
STEP 6

Adjust the arms so the magnets on the end can make solid contact with the metal bottom.
STEP 7

Make sure at least three (3) of the four magnets are firmly secured to the bottom of the microwave.
STEP 8

Place the enclosed decal under or near the microwave where it can be seen.
COMPLETE

With so many variations of microwaves or flat-bottom ventilation hoods, the visibility of your LowPro units may vary.
© 2021 WilliamsRDM, Inc. All rights reserved. StoveTop FireStop, LowPro, the StoveTop FireStop logo, the StoveTop FireStop LowPro logo, and
design graphics are either registered trademarks or trademarks of WilliamsRDM, Inc. in the United States and/or other countries. Model No. 691-1A.
Patent info at www.STFS.com/patents.
691-1-45 Rev — 03/2021


















