30″ AND 36″ (76.2 AND 91.4 CM) RANGE HOOD
Installation Instructions and Use & Care Guide

IMPORTANT: READ AND SAVE THESE INSTRUCTIONS. FOR RESIDENTIAL USE ONLY.
LIB0131212B/W11468698A
RANGE HOOD SAFETY
Your safety and the safety of others are very important.
We have provided many important safety messages in this manual and on your appliance. Always read and obey all safety messages.
This is the safety alert symbol. This symbol alerts you to potential hazards that can kill or hurt you and others. All safety messages will follow the safety alert symbol and either the word “DANGER” or “WARNING.” These words mean:
DANGER You can be killed or seriously injured if you don’t immediately follow instructions.
WARNING You can be killed or seriously injured if you don’t follow instructions.
All safety messages will tell you what the potential hazard is, tell you how to reduce the chance of injury, and tell you what can happen if the instructions are not followed.
IMPORTANT SAFETY INSTRUCTIONS
WARNING: TO REDUCE THE RISK OF FIRE, ELECTRIC SHOCK, OR INJURY TO PERSONS, OBSERVE THE FOLLOWING:
- Use this unit only in the manner intended by the If you have questions, contact the manufacturer.
- Before servicing or cleaning the unit, switch power off at the service panel and lock the service disconnecting means to prevent power from being switched on accidentally. When the service disconnecting means cannot be locked, securely fasten a prominent warning device, such as a tag, to the service panel.
- Installation work and electrical wiring must be done by a qualified person(s) in accordance with all applicable codes and standards, including fire-rated construction.
- Do not operate any fan with a damaged cord or plug. Discard fan or return to an authorized service facility for examination and/or repair.
- Sufficient air is needed for proper combustion and exhausting of gases through the flue (chimney) of fuel-burning equipment to prevent back drafting. Follow the heating equipment manufacturer’s guidelines and safety standards such as those published by the National Fire Protection Association (NFPA), the American Society for Heating, Refrigeration and Air Conditioning Engineers (ASHRAE), and the local code authorities.
- When cutting or drilling into wall or ceiling, do not damage electrical wiring and other hidden utilities.
- Ducted fans must always be vented to the outdoors.
CAUTION: For General Ventilating Use Only. Do Not Use To Exhaust Hazardous Or Explosive Materials And Vapors.
CAUTION: To reduce risk of fire and to properly exhaust air, be sure to duct air outside -Do not vent exhaust air into spaces within walls or ceilings or into attics, crawl spaces, or garages.
WARNING: TO REDUCE THE RISK OF FIRE, USE ONLY METAL DUCTWORK.
WARNING: TO REDUCE THE RISK OF A RANGE TOP GREASE FIRE:
- Never leave surface units unattended at high settings. Boilovers cause smoking and greasy spillovers that may Heat oils slowly on low or medium settings.
- Always turn hood ON when cooking at high heat or when flambeing food (i.e. Crepes Suzette, Cherries Jubilee, Peppercorn Beef Flambe).
- Clean ventilating fans frequently. Grease should not be allowed to accumulate on fan or filter.
- Use proper pan size. Always use cookware appropriate for the size of the surface element.
WARNING: TO REDUCE THE RISK OF INJURY TO PERSONS IN THE EVENT OF A RANGE TOP GREASE FIRE, OBSERVE THE FOLLOWING:
- SMOTHER FLAMES with a close-fitting lid, cookie sheet, or metal tray, then turn off the burner. BE CAREFUL TO PREVENT BURNS. If the flames do not go out immediately, EVACUATE AND CALL THE FIRE DEPARTMENT.
- NEVER PICK UP A FLAMING PAN – You may be burned.
- DO NOT USE WATER, including wet dishcloths or towels -a violent steam explosion will result.
- Use an extinguisher ONLY if:
- You know you have a Class ABC extinguisher, and you already know how to operate it.
– The fire is small and contained in the area where it
– The fire department is being called.
– You can fight the fire with your back to an exit. “Based on ‘Kitchen Fire Safety Tips” published by NFPA. - WARNING: To Reduce The Risk 01 Fire Or Electric Shock, Do Not Use This Fan With Any Solid-State Speed Control Device.
- This appliance is not intended for use by people (including children) whose physical, sensory or mental capacities are different or impaired or who lack the necessary experience or knowledge/expertise to do so, unless such persons are supervised or are trained to operate the appliance by a person who accepts responsibility for their safety.
READ AND SAVE THESE INSTRUCTIONS
INSTALLATION REQUIREMENTS
Tools and Parts
Gather the required tools and parts before starting installation. Read and follow the instructions provided with any tools listed here.
Tools needed
- Level
- Drill with 1 1 /4″ (3.2 cm), 1/8″ (3 mm), and 1/16″ (1.6 mm) drill bits
- Pencil
- Wire stripper or utility knife
- Pliers
- Tape measure or ruler
- A caulking gun and weatherproof caulking compound
- Phillips screwdriver
- Flat-blade screwdriver
- Vent clamps
- Jigsaw or keyhole saw
- Metal snips
Parts needed
- 6″ (15.2 cm) round metal vent system
- Vent clamps/duct tape as required
For non-vented (recirculating) installations, you will need:
- Recirculation Kit. See the “Assistance or Service” section to order.
For vented installations, you will need:
- 1 wall or roof cap
Parts supplied
Remove parts from packages. Check that all parts are included.
- Hood assembly with LED lights already installed (1)
- Hood insert assembly with the blower/electronic box
- 4.5 x 13 mm truss-head wood screws (11)
- 4.2 x 8 mm screws (8)
- 4 x 15 mm screws (10)
- 3.5 x 9.5 T10 (2)
- Mounting brackets (4)
- TORX ®† adapter screws T10 and T20 ® adapter (1)
- 6.4 x 18 mm washers (8)
- 4.2 x 12 mm plastic washers (8)
- 6″ (15.2 cm) round damper (1)
Parts not supplied
Optional Accessories
For non-vented (Recirculating) installations:
- Please see the “Assistance or Service” Section for the recirculation kit part number information.
Location Requirements
IMPORTANT: Observe all governing codes and ordinances.
Have a qualified technician install the range hood. It is the installer’s responsibility to comply with installation clearances specified on the model/serial rating plate. The model/serial rating plate is located inside the liner behind the filter on the left wall of the range hood.
Range hood location should be away from strong draft areas, such as windows, doors, and strong heating vents.
Cabinet opening dimensions that are shown must be used. Given dimensions provide minimum clearance. Consult your cooktop/range manufacturer installation instructions before making any cutouts.
This range hood is recommended for use with cooktops with a maximum total rating of 65,000 BTUs or less.
A grounded electrical outlet is required. See the “Electrical Requirements” section.
The range hood is factory set for vented installations through the roof or wall. For non-vented (recirculating) installations see “Non-Vented (recirculating) Installation Through the Soffit/ Cabinet” in the “Prepare Location” section. Recirculation Kit is available from your dealer or an authorized parts distributor. See the “Assistance or Service” section to order.
All openings in the ceiling and wall where the range hood will be installed must be sealed.
For Mobile Home Installations
The installation of this range hood must conform to the Manufactured Home Construction Safety Standards, Title 24 CFR, Part 328 (formerly the Federal Standard for Mobile Home Construction and Safety, title 24, HUD, Part 280) or when such standard is not applicable, the standard for Manufactured Home Installation 1982 (Manufactured Home Sites, Communities and Setups) ANSI A225.1/NFPA 501A, or latest edition, or with local codes.
Product Dimensions

Cabinet Dimensions

A. 12″ (30.5 cm) minimum upper cabinet height
B. 30″ cabinet width: min 27.4 po maximum 28.5″ 36″ cabinet width: min 33.9 po max 34.5″
C. 24″ (61.0 cm) minimum from electric cooking surface, 27″ (68.6 cm) minimum from gas cooking surface,
36″ (91.4 cm) suggested maximum bottom of cabinet to cooking surface
D. 12″ (30.5 cm) cabinet depth
E. 15″ (38.1 cm) minimum clearance upper cabinet to countertop
F. 36″ (91.4 cm) base cabinet height

IMPORTANT: Mount this hood so that the bottom edge above the cooking surface is at 27″ (68.5 cm) minimum if a gas range is used, or at 24″ (61 cm) if an electric range is used. The suggested maximum distance is 36″ (91.4 cm). For household use, please read the installation instructions for specific applications. Check your cabinet dimensions prior to selecting your vent hood.
Venting Requirements (vented models only)
- The vent system must terminate to the outside, except for non-vented (recirculating) installations.
- Do not terminate the vent system in an attic or other enclosed area.
- Do not use a 4″ (10.2 cm) laundry-type wall cap.
- Use metal vent only. A rigid metal vent is recommended.
- A plastic or metal foil vent is not recommended.
- The length of the vent system and a number of elbows should be kept to a minimum to provide efficient performance.
For the most efficient and quiet operation:
- Use no more than three 90° elbows.
- Make sure there is a minimum of 24″ (61.0 cm) of straight vent between the elbows if more than one elbow is used.
- Do not install two elbows together.
- The vent system must have a damper.
- Use clamps to seal all joints in the vent system.
- Use caulking to seal the exterior wall or roof opening around the cap.
- The size of the vent should be uniform.
Cold weather installations
An additional backdraft damper should be installed to minimize backward cold airflow and a thermal break should be installed to minimize conduction of outside temperatures as part of the vent system. The damper should be on the cold air side of the thermal break.
The break should be as close as possible to where the vent system enters the heated portion of the house.
Makeup air
Local building codes may require the use of makeup air systems when using ventilation systems with greater than specified CFM of air movement. The specified CFM varies from locale to locale. Consult your HVAC professional for specific requirements in your area.
Venting Methods
This range hood is factory set for venting through the roof or through the wall.
The vent system needed for installation is not included. A 6″ (15.2 cm) round vent system is recommended.
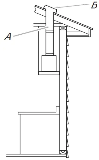
Roof Venting

A. 6″ (15.2 cm) vent through the roof
B. Roof cap
Wall Venting

A. 6″ (15.2 cm) vent through the wall
B. Wall cap
Calculate Vent System Length
The recommended vent system is a 6″ (15.2 cm) round vent with a maximum length of 35 ft (10.7 m). For the best performance, use no more than three 90° elbows. To calculate the length of the system, add the equivalent feet (meters) for each of the vent pieces used in the system.
| Vent Piece | 6″ (15.2 cm) | |
| 45° elbow | 2.5 ft (0.8 m) | ![]() |
| 90° elbow | 5.0 ft (1.5 m) | ![]() |
Example vent system: 6″ (15.2 cm)

| Maximum Length | = 35 ft (10.7 m) |
| 1 – 90° elbow 1 – wall cap 9 ft (2.8 m) straight | = 5 ft (1.5 m) = 0 ft (0 m) = 9 ft (2.8 m) |
| System length | = 14 ft (4.3 m) |
Non-Vented (recirculating) Installations Through the Soffit/Cabinet
If it is not possible to vent cooking fumes and vapors to the outside, the range hood can be used in the non-vented (recirculating) version, using a charcoal filter. Charcoal Filter Kit is available from the dealer or an authorized parts distributor. See the “Assistance or Service” section to order.

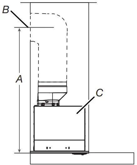
A. Ceiling
B. Vent cover
C. Soffit
D. 6″ (15.2 cm) vent
E. Rangehood
F. Cabinet
G. Wall
H. 12″ (30.5 cm) minimum cabinet height
I. 17″ (43.2 cm) minimum vent cover height
NOTE: 12″ (30.5 cm) high cabinets without a soffit may allow the 6″ (15.2 cm) vent and vent cover to be seen.
Electrical Requirements
|
![]() |
| Electrical Shock Hazard Plug into a grounded 3 prong outlet. |
IMPORTANT: The range hood must be electrically grounded in accordance with local codes and ordinances, or in the absence of local codes, with the National Electrical Code, ANSI/NFPA 70 (latest edition) or Canadian Electrical Code, CSA C22.1 No. 0-M91 (latest edition).
If codes permit and a separate ground wire is used, it is recommended that a qualified electrical installer determine that the ground path is adequate.
A copy of the above code standards can be obtained from:
National Fire Protection Association
1 Batterymarch Park
Quincy, MA 02169-7471
CSA International
8501 East Pleasant Valley Road
Cleveland, Ohio 44131-5575
■ A 120 V, 60 Hz, AC only, 15 or 20 A, fused electrical circuit is required. A time-delay fuse or circuit breaker is also
recommended. It is recommended that a separate circuit serving only this range hood be provided.
■ This range hood is equipped with a power supply cord having a 3 prong grounding plug.
■ To minimize possible shock hazard, the cord must be plugged into a mating, 3 prong, grounding-type outlet,
grounded in accordance with local codes and ordinances. If a mating outlet is not available, it is the personal
responsibility and obligation of the customer to have the properly grounded outlet installed by a qualified electrician.
■ The grounded 3 prong outlet is to be located inside the cabinet above the range hood at a maximum distance of
337 /16″ (85.0 cm) from where the power cord exits the hood. The grounded 3 prong outlet must be accessible after
installation of the range hood. See illustration.

GROUNDING INSTRUCTIONS
■ For a grounded, cord-connected range hood: This range hood must be grounded. In the event of an electrical short circuit, grounding reduces the risk of electric shock by providing an escape wire for the electric current. This range hood is equipped with a cord having a grounding wire with a grounding plug. The plug must be plugged into an outlet that is properly installed and grounded.
WARNING: Improper grounding can result in a risk of
electric shock.
Consult a qualified electrician if the grounding instructions are not completely understood, or if doubt exists as to whether the range hood is properly grounded.
Do not use an extension cord. If the power supply cord is too short, have a qualified electrician install an outlet near the range hood.
SAVE THESE INSTRUCTIONS
INSTALLATION INSTRUCTIONS
Prepare Location
■ It is recommended that the vent system be installed before the range hood is installed.
■ Before making cutouts, make sure there is proper clearance within the ceiling or wall for vent fittings.
■ Making the cutout to the bottom of the cabinet may be easier to do prior to mounting the cabinet to the wall.
- Disconnect power.
- Determine which venting method to use: roof, wall, or non-vented.
- Select a flat surface for assembling the range hood. Place covering over that surface.
WARNINGExcessive Weight Hazard
Use two or more people to move and install a range hood.
Failure to do so can result in back or another injury. - Using two or more people, lift the range hood onto the covered surface.
Range Hood Cabinet Cutout
- Use a saber saw or keyhole saw to cut out the cabinet bottom inside the cabinet frame.
NOTE: Frameless type cabinets require 3/4″ (1.9 cm) front lip in the cabinet bottom. A 3/4″ (1.9 cm) thick filler strip (not supplied) may be required for some types of cabinets (see Step 3 in the “Install Range Hood” section).
A. Bottom of cabinet cutout
B. Bottom must be cut flush to the inside walls of the cabinet
C. 107/8″ (27.6 cm) minimum from the inside of the cabinet front face
D. Minimum 3/8 (9.5 mm), maximum 3/4″ (1.9 cm) thick front face required for cabinet bottom
E. Front of cabinet - Complete cabinet preparation following the instructions for your type of venting. Determine venting cutout locations and cut out vent openings in the cabinets, walls, and/or soffit.
Venting Outside Through the Roof
- Measure and mark the lines as the cutout chart showed. Use a saber saw or keyhole saw to cut an opening through the top of the cabinet and the roof for the vent.
Cutout chart
| Cabinet Height | Hole Shape and Size |
| 12″ (30.5 cm) | A 8 17 ⁄64″ wide x 6¼” deep (21 cm x 15.9 cm) rectangular opening in the cabinet top is required for damper transition clearance. |

A. Cutout
B. 8 17 ⁄64″ (21 cm)
C. 6¼” (15.9 cm)
D. 6 11 ⁄16″ (17 cm) from cabinet’s front wall inner side
E. Centerline
| Cabinet Height | Hole Shape and Size |
| 15″ (38.1 cm) | A 6¼” (15.9 cm) diameter round opening is required. |

A. Cutout
B. Ø 6¼” (15.9 cm)*
C. 7 1 ⁄2″ (19 cm) centerline to cabinet front
D. Centerline
| Cabinet Height | Hole Shape and Size |
| 18″ (45.7 cm) or 24″ (61.0 cm) | A 5¾” (14.6 cm) diameter round the opening is required. |
For non-vented (recirculating) installations only, the range hood can be vented indoors through the top of the cabinet.
For non-vented (recirculating) installations, charcoal filters are necessary. See the “Range Hood Care” section for instructions on installing charcoal filters. The Recirculation Kit must be used. See the “Assistance or Service” section to order.
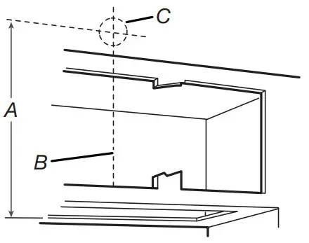
Venting Outside Through the Wall
- Install transition on top of hood (if removed for shipping) with two 3.5 x 9.5 mm sheet metal screws.
A. Vent transition
B. 3.5 x 9.5 mm screws
- Assemble the vent duct that you will use over the 6″ (15.2 cm) vent transition. Measure from the bottom of the range hood liner to the horizontal centerline of the vent opening (A).

A. Measurement A
B. Horizontal centerline of vent opening
C. Range hood liner - Remove the vent duct from the range hood liner. Transfer measurement A to the cabinet back wall. Measure from the underside of the cabinet.
- Mark the cutout as shown. Use a saber saw or keyhole saw to cut a round opening through the top of the cabinet and the exterior wall for the vent.

A. Measurement A
B. Centerline
C. 6¼” (15.9 cm) round cutout
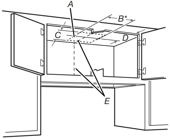
Non-Vented (recirculating) Installation through the Cabinet/Soffit
Through top of Cabinet:

A. Ceiling
B. Recirculating grid
C. Soffit
D. 6″ (15.2 cm) round vent system
E. Range hood
F. Cabinet
G. Wall
H. 12″ (30.5 cm) minimum cabinet height
I. 17″ (43.2 cm) minimum vent cover height
Through Soffit:

A. Ceiling
B. Recirculating grid
C. Soffit
D. 6″ (15.2 cm) round vent system
E. Range hood
F. Cabinet
G. Wall
- Measure and mark the centerline of the cabinet to the soffit above.
- Measure from the bottom of the cabinet to the centerline of where the vent will come through the soffit or cabinet top wall. Mark the location and use a saber saw or keyhole saw to cut a 5¾” (14.6 cm) hole for the vent cover.

A. Vent cover
B. Centerline
NOTE: For 12″ (30.5 cm) high cabinets a 6¼” deep x 8″ wide (14.6 cm x 20.3 cm) rectangular opening in the cabinet top is required for damper transition clearance. - Consider the cutout chart measures to make the openings on the cabinet.
NOTE: 12″ (30.5 cm) high cabinets without a soffit may allow the6″ (15.2 cm) vent and vent cover to be seen.
Complete Preparation
Installation brackets configuration
To assemble the installation brackets, you must consider the cabinet’s material thickness and your cabinet’s width (30″ [76.2 cm] or 36″ [91.44 cm]).
- Measure your cabinet material thickness, then locate the bracket’s installation holes, based on your cabinet thickness (see the chart below).
Orient the brackets depending on the width (30″ or 36″) of your cabinet as depicted in the images below, then secure them with three 4 x 15 mm screws on the selected thickness hole.
- Using the bracket as a template, mark four spots on each side of the cabinet to drill 1/8″ (3 mm) pilot holes.

NOTE: Align the bracket with the front and the backside of the cabinet and ensure that the bottom of the bracket is installed tight against the bottom of the cabinet. - Attach a bracket using four 4.5 x 13 mm screws to each side of the cabinet, and tighten.
Additional washers in the hardware package are supplied as spacers for cabinet walls thinner than 1/2″ (13 mm).
Bracket Orientation for 30″ (76.2 cm) Cabinet
A. 30″ (76.2 cm) cabinet
B. Scr was – 4.5 x 13 mm (8)
C. Washers (optional)
D. Mounting bracket (4) (position
for 30″ [76.2 cm] cabinet)
Bracket Orientation for 36″ (91.4 cm) Cabinet
A. 36″ (91.4 cm) cabinet
B. Scr was – 4.5 x 13 mm (8)
C. Washers (optional)
D. Mounting bracket (4) (position for 36″ [91.4 cm] cabinet) - Install the vent system according to the method needed.
- Use caulking to seal the exterior wall or roof opening.
Install Range Hood
|
| Excessive Weight Hazard Use two or more people to move and install a range hood. Failure to do so can result in back or another injury. |
- Using two or more people, lift the hood liner into the cabinet until it snaps into the 4 hooks located on the mounting brackets. The hood liner will remain suspended.

- Attach the 4.2 x 8 mm (8) screws into the slotted openings. Do not tighten screws.

A. Cabinet
B. Hood liner canopy assembly
C. Screws – 4.2 x 8 mm (8) - Center the canopy in the cabinet. Align the bottom of the canopy with the bottom of the cabinet. Install the 4.2 x 8 mm T20 ® screws into the mounting bracket and tighten all mounting screws.
- Place the lower canopy assembly in the front side of the cabinet and slide it through the bracket as shown in drawing.

- Open perimetric panel and remove the metal grease filters from the lower canopy assembly.

- Secure the lower canopy assembly to the hood using the 4 x 15 mm and the 4.5 x 13 mm screws as depicted in the diagram below to fasten the panel. Tighten to secure.

A. Screws – 4 x 15 mm (4)
B. Screws – 4.5 x 13 mm (3) - Plug lamps and control wire connectors from the lower canopy assembly into the connectors located inside the hood liner.

Connect the Vent System
Vented Installations
- Connect the vent system to the range hood vent opening.
Seal the connection with clamps.
Non-Vented (recirculating) Installations
- Connect the vent system to the range hood vent opening. Seal the connection with clamps.
- Install vent cover that is included with the recirculation accessory kit.
- Install charcoal filters. See the “Range Hood Care” section. To order replacement kits, see the “Assistance or Service” section.
Complete Installation
- Replace grease filters. See the “Range Hood Care” section.
WARNING
Electrical Shock Hazard
Plug into a grounded 3 prong outlet.
Do not remove the ground prong.
Do not use an adapter.
Do not use an extension cord.
Failure to follow these instructions can result in death, fire, or electrical shock. - Plug 3 prong power cord into a grounded 3 prong outlet located inside the cabinet above the range hood.
- Check the operation of the range hood fan and light. See the “Range Hood Use” section. If range hood does not operate, check to see whether a
circuit breaker has tripped or a household fuse has blown.
NOTE: To get the most efficient use from your new range hood, read the “Range Hood Use” section. - Reinstall cabinet doors if removed. Use the assembly instructions that came with the cabinet.
RANGE HOOD USE
The range hood is designed to remove smoke, cooking vapors, and odors from the cooktop area. For best results, start the hood before cooking and allow it to operate several minutes after the cooking is complete to clear all smoke and odors from the kitchen. The hood controls are located on the front of the range
hood.

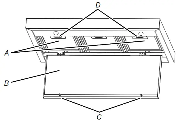
A. Blower and LED lamp controls
B. Grease filter
C. Grease filter handle
D. Perimetric cover
E. LED lights
F. Hood liner
Range Hood Controls
| Auto Fan | Low | Med | High | Boost 10 min | Light On/Off |
NOTES:
■ To activate the controls, press and release the desired button.
■ The control feature button will be lit when a control feature is turned on.
Sleep Mode
The range hood automatically enters Sleep Mode when not in use. After 10 minutes of no range hood activity, all of the control button lights will turn off. To deactivate Sleep Mode, press any button.
Auto Sense
■ Auto Sense allows the range hood fan to turn on automatically when it senses heat higher than its allowable temperature limit.
■ When Auto Sense is on, the fan speed will increase or decrease based on the temperature Auto Sense is measuring.
■ Auto Sense can be manually increased by pressing a higher fan speed. The fan will run at the selected speed for 10 minutes before returning to the speed selected for Auto Sense.
■ If Auto Sense is on, the Auto Fan button light will turn off and go into Sleep Mode when the vent hood is not in use. If the vent hood is turned on by the consumer or by Auto Sense, the Auto fan button light will turn on.
To set Auto Sense:
■ Press AUTO Fan.
To Select Auto Sense Cooktop Type:
NOTE: The range hood is factory-set for the gas cooktop mode.
■ Press and hold AUTO Fan for 5 seconds to switch between the gas cooktop and electric cooktop modes.
■ The Auto Fan button light will flash 5 times when the range hood is changed to the electric cooktop mode. Auto Sense is now set to work with electric cooktops and ranges.
■ The Auto Fan button light will flash three times when the range hood is changed to the gas cooktop mode. Auto Sense is now set to work with gas cooktops and ranges.
■ Changing the cooktop type will change the temperature limit for Auto Sense to turn on. When the range hood senses a high enough temperature, the fan will start automatically.
■ When the temperature drops below the set temperature limit, the fan will stop automatically. The Auto Fan button light will turn off after the range hood enters Sleep Mode, but Auto Sense is still active.
To Deactivate Auto Sense:
■ If the Auto Fan button is lit, press AUTO Fan once to deactivate Auto Sense. The Auto button light will turn off.
■ If Auto Sense is in Sleep Mode, press AUTO Fan once to deactivate Sleep Mode and turn on the Auto Fan button light.
■ Press AUTO Fan again to deactivate Auto Sense and turn off the Auto Fan button light.
■ Auto Sense will turn off automatically after two hours of no activation of the Auto Sense system. To reset Auto Sense, press AUTO Fan.
Manual Vent Functions
Fan Speeds
| Low | Press LOW to turn the fan on at LOW speed. |
| Med | Press MED to turn the fan on at Medium speed. |
| Hi | Press HI to turn the fan on at High speed. |
| Boost | Press BOOST to turn the fan on at the highest speed. Boost will automatically turn off after 10 minutes and the fan will switch to High speed. |
Timer
The range hood can be set to automatically turn off after 15 minutes.
- Press and hold the desired fan speed button for 2 seconds. The fan will run on the chosen speed for 15 minutes and the fan speed button light will flash continuously. After 15 minutes, the fan will turn off automatically.
- Press the desired fan speed button again while the fan timer is running to cancel the fan timer.
NOTE: Changing the fan speed or turning Auto Sense on will also cancel the 15-minute timer.
Light
The range hood has both task and ambient lighting.
To operate the lights:
- Touch LIGHT once to turn the LED task lights to high setting.
- Touch LIGHT again to turn LED task lights to low setting.
- Touch LIGHT a third time to turn the LED lights off.
RANGE HOOD CARE
Cleaning
IMPORTANT: Clean the hood and grease filters frequently according to the following instructions. Replace the grease filter before operating the hood.
Exterior Surfaces:
IMPORTANT: To avoid damage to the exterior surface, do not use steel wool or soap-filled scouring pads.
Always wipe dry to avoid watermarks.
Cleaning Method:
■ All-purpose cleaner.
■ Wipe with a damp soft cloth or non-abrasive sponge, then rinse with clean water and wipe dry.
Metal Grease Filter
- Open the panel. Grasp panel at the front corners and pull down to disengage the two catch pins from the spring catches. The panel is attached at the rear and will rotate down.
A. Metal filters
B. Stainless steel panel
C. Catch pins (2)
D. Spring catches (2) - Remove each filter by pulling the spring-release handle and then pulling down the filter.

A. Spring-release handle - Wash metal filter as needed in the dishwasher or hot detergent solution.
- Reinstall the filter by making sure the spring-release handles are toward the front. Insert metal grease filter into the upper track.
- Pull the spring release handle down.
- Push up on the metal filter and release the handle to latch into place.
- Repeat steps 1-5 for the other filter.
- Close the panel. Engage the two pins in the spring catches to secure.
Non-Vented (recirculating) Installation Filters:
The charcoal filter is not washable. It should last up to 6 months with normal use. Replace with Charcoal Filter Kit. See the “Accessories” section for information on ordering.
To replace the charcoal filter:
- Cover the grille that covers the blower motor with the charcoal filter so that the slots on the filter correspond to the pins on the sides of the motor grille.

A. Charcoal filter
B. Pins
C. Blower motor - Turn the charcoal filter clockwise to lock it.
- Repeat steps 1-2 on the other filter.
Replacing an LED Lamp
The LED lights are replaceable by a service technician only. See the “Assistance and Service” section for service contact information.
WIRING DIAGRAM

| MOTOR SPECIFICATIONS | |
| POWER SUPPLY | 120 VAC |
| FREQUENCY | 60 HZ |
| POWER ABSORPTION | 240 W |
| MOTOR RESISTANCE (fl) | |
| BLUE – BLACK | 18. |
| BLUE – GREY | 27. |
| BLUE – RED | 35. |
| BLUE – WHITE | 41. |
ASSISTANCE OR SERVICE
If you need service
Please refer to the warranty.
If you need replacement parts
If you need to order replacement parts, we recommend that you use only factory specified parts. Factory specified parts will fit right and work right because they are made with the same precision used to build every new appliance.
To locate factory-specified replacement parts in your area, call the following customer assistance telephone number or your nearest designated service center.
In the U.S.A.
Call the Whirlpool Customer eXperience Center toll-free: 1-800-253-1301 or visit our website at www.whirlpool.com.
Our consultants provide assistance with:
■ Scheduling of service. Whirlpool designated service technicians are trained to fulfill the product warranty and provide after-warranty service anywhere in the
The United States.
■ Features and specifications on our full line of appliances.
■ Referrals to local dealers.
■ Installation information.
■ Use and maintenance procedures.
■ Accessory and repair parts sales.
■ Specialized customer assistance (Spanish speaking, hearing impaired, limited vision, etc.).
For further assistance
If you need further assistance, you can write to Whirlpool Corporation with any questions or concerns at:
Whirlpool Brand Home Appliances
Customer Experience Center
553 Benson Road
Benton Harbor, MI 49022-2692
Please include a daytime phone number in your correspondence.
In Canada
Call the Whirlpool Canada LP Customer eXperience Center toll-free: 1-800-807-6777 or visit our website www.whirlpool.ca.
Our consultants provide assistance with:
■ Scheduling of service. Whirlpool designated service technicians are trained to fulfill the product warranty and provide after-warranty service anywhere in Canada.
■ Features and specifications on our full line of appliances.
■ Referrals to local Whirlpool dealers.
■ Use and maintenance procedures.
■ Accessory and repair parts sales.
■ Referrals to local dealers, repair parts distributors, and service companies.
For further assistance
If you need further assistance, you can write to Whirlpool Canada LP with any questions or concerns at:
Whirlpool Brand Home Appliances
Customer Experience Centre
Whirlpool Canada LP
200 – 6750 Century Ave.
Mississauga, Ontario L5N 0B7
Please include a daytime phone number in your correspondence.
Accessories
Recirculation Kit
(for non-vented installations only) Order Part Number W10490330
Replacement Charcoal Filters
(for non-vented installations only) Order Part Number W10272068







Orient the brackets depending on the width (30″ or 36″) of your cabinet as depicted in the images below, then secure them with three 4 x 15 mm screws on the selected thickness hole.








A. Metal filters




















