
OVCHRISEUBA Christian
Entertainment Unit
User Guide
COMPONENTS
Hardware

ASSEMBLY
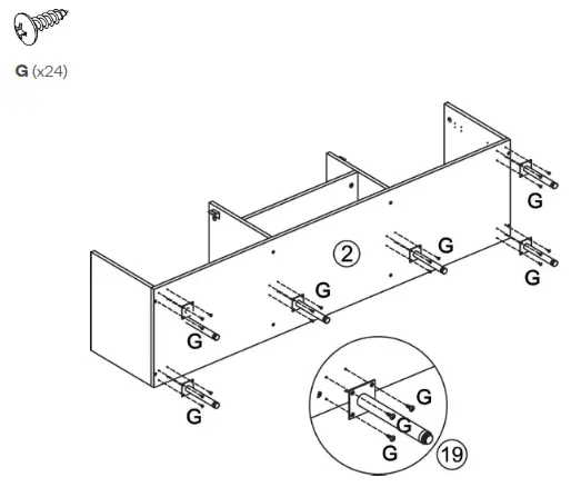
Step 1:
Note: A Phillips head screwdriver (not supplied) will be required to assemble this sideboard.
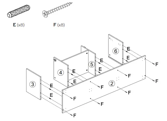
Step 2: Insert four dowels (E) into parts 4 and 5. Using a Phillips head screwdriver, secure four cam locks (D) into part 7.
Align parts 4 and 5 with part 7 then ensure the arrows on the cam locks (D) are pointing towards the corresponding cam screws (C). Using a Phillips head screwdriver, secure the cam locks (D) to the cam screws (C) to attach parts 4 and 5 to part 7.
Step 3:
Step 4:
Step 5:
Step 6:
Step 7:
Step 8: Use a Phillips head screwdriver to secure each hinge (J) with four screws (A).
If the doors (9, 10) are uneven, or if there is a gap between the doors (9, 10) and assembly, loosen the screws (A) slightly and adjust the hinges (J) until they are flush with the
assembly.
Step 9:
Step 10: Twist the adjusters on the bottom of the legs (11) to ensure the assembly is level and stable.

Need more information?
We hope that this user guide has given you
the assistance needed for a simple set-up.
For the most up-to-date guide for your product,
as well as any additional assistance you may require,
head online to help.kogan.com
kogan.com


















