etac Air 500 Ceiling Lift Instruction Manual
Important
This User Manual contains important safety instructions and information regarding the use of the sling and accessories. In this manual the client is the person being lifted. The caregiver is the person operating the lifter.
This symbol indicates important information related to safety. Follow these instructions carefully.
Read User Manual before use!
It is important to fully understand the content of the user manual before attempting to use the equipment.
Visit www.etac.com for download of documentation to ensure you have the latest version.
Overview
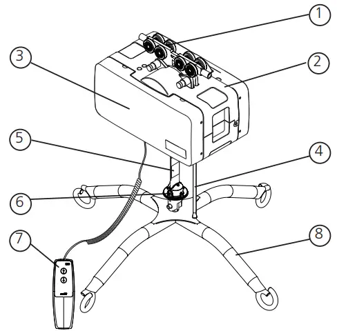
Molift Air 500

Hoist components:
- Trolley
- Hoist
- Side covers
- Emergency stop/ Emergency lowering
- Lifting belt
- Quick release pin
- Hand control
- Sling bar
About Molift Air
Molift AIR is a strong and smooth ceiling lift that enables patients and residences to be transferred in a comfortable and safe way.
Suitable for sitting and lateral transfers as well as standing and gait training situations together with the comprehensive accessory program from Molift.
Molift AIR is a very light motor which in combination with the quick release coupling system gives an easy handling when mounting and servicing.
General

CE declaration
The product, and its related accessories, described in this instruction for use (IFU), is in compliance with the regulation (EU) 2017/745 of 5. April 2017 – as a medical device, risk class I.
The product has been tested and approved by a third party according to standards IEC 60601-1, IEC 60601-1-2 and EN/ISO 10535:2006.
Any serious incident that occurs in relation to the device should be reported to the manufacturer and the competent authority of the Member State in which the user and/ or patient is established.
Conditions for Use
Lift and transfer of a client will always pose a certain risk and only trained personnel are allowed to use the equipment and accessories covered by this user manual. The rail system must be installed by certified personnel in accordance with applicable installation instructions. The lifter is not intended to be operated by the client being lifted.
Modifications and use of components made by other manufacturers. We recommend only using Molift components and spare parts.
Declaration of conformity is not valid and Etac is not responsible for warranty if any modifications are made to the product. Etac shall not be liable for faults or accidents that can occur when using components made by other manufacturers. It can be unsafe to use accessories, detachable parts and materials that is not listed in this user manual.
Only certified personnel are allowed to open hoist or accessories to perform service or repair. Risk of injury from rotating parts and electric shock.
Warranty notice
Two-year warranty against defects in workmanship and materials of our products.
One-year warranty for batteries.
Please refer to www.etac.com for terms and conditions.
Product identification
Product label
The Product labels barcode contain article number, serial number and production date:

Warning labels and Symbols
Symbols used on the product, explained in more detail:
Class II double insulated
CE marked
Refer to user manual
Indoor Use only
Max user weight
Do not dispose in general waste
Emergency stop/ Emergency lowering
Service Light
Battery Light
Hex tool symbol for Manual Emergency lowering
Certification Body mark
Humidity limitation
Atmospheric pressure limitation
Temperature limitation
Manufacturer
Date of manufacture
Catalogue number
Serial number
Medical Device
Technical data
Safe Working Load (SWL)
Molift AIR 500: 500 kg (1102 lbs)
Weight of unit:
Chassis incl. battery, Excl. sling bar:
14.1 kg (31 lbs)
4-point Sling bar: 5,3 kg (11.7 lbs)
Battery:
Art: 2920007 12 V SLA 2.9 Ah
Battery charger:
Charger for handcontrol, Mascot – type 3743
Art. no.: 2540100
100-240 V AC, 50-60 Hz max 0.5A
Output 0.9A
Lifting speed
60mm/second (2,36 inches/second)
with 75kg (165,35 lbs) load
Protection class
Hand control IP24
Lift motor IP24
Sound pressure
52 dBA
Sound power (LWA)
63 dB
Operating forces button
Buttons on handset: 3.4 N
Material:
Aluminum, Plastic, Steel
Expected Lifetime:
The hoist has an expected lifetime of 30 000 cycles SWL or 10 years.
Dimensions:
L x W x H (Length, Width, Height without trolley)
36 x 24,6 x 19,5 cm
(14,2 x 9,7 x 7,7 inches)
A (Hoisting Range)
300 cm (118 Inches)
B (Minimum distance from ceiling to Sling bar coupling point) 32,7 cm (12.7⁄8 Inches)
For extended information about technical data, how to preform service and repair, see technical manual.

Installation
The hoist is marked with Safe Working Load (SWL), this should not exceed rail systems max load capacity.
The rail system can only be installed by certified personnel in accordance with applicable installation instructions.
Do not start using hoist before completing control according to checklist after installation.
Trolley installation
Mounting trolley in rail system. Remove End stop and insert Trolley into rail. Mount end stop, and make sure it is securely fastened. See BM4401 for installation details.

Make sure end stops are mounted in all ends of the Rail system before using the hoist!
Lifter installation
Be carefull during elevated work situations. We recomend two or more installers, to prevent loosing balance and injury during installation!
Mounting of Lifter on trolley. No tools required. The lifter has two connection points.

Connect one point first. Push button all the way in, and place lifter in connection point on trolley. Release button and make sure it is clearly showing green before connecting the next point.

Make sure both connection point buttons completely return and clearly show green after installation.
Emergency lowering cord and tube can be adjusted to the correct length (height) by cutting tube and cord.
Use this checklist to verify that the hoist is properly installed and can operate correctly and safely before use.
- End stops on rail are installed after mounting of trolley as described in BM4401
- Make sure that the hoist is properly fastened to the rail and that the lift does not have any loose parts.
- Perform one lift with load (60-80 kg)
- Make sure battery is fully charged.
How to use Molift Air
General Safety Precautions
Only use accessories and slings that are adjusted to fit the client, type of disability, size, weight and type of transfer.
Working pause ratio/Duty Cycle.
Molift Air 500 should not be run constantly for more than 2 minutes (with maximum load), and rest for minimum 18 minutes. Duty Cycle 10%. (Intermittence according to standard ISO-EN 10535)
Do not position hoist in a way that makes it difficult to disconnect mains cable. To isolate the system, pull out the main cable from the elektrical wall socket.
If maximum load (SWL) differs between hoist sling bar and body support unit, then the lowest maximum load shall always be used
Molift lifters shall only be used to lift clients. Never use the lifter to lift or move objects of any kind.
Before use / Daily check
Inspection to be performed by caregiver daily or before use:
- Inspect lifter and rail system has no visible damage, defects or deformations
- Make sure sling bar connection and all detachable parts are properly connected and secured
- Test emergency stop button and emergency lowering
- Make sure battery indicator or service light is not illuminated
- Make sure lifting strap does not have visible damage or frays.
- Test run lifters operation functions and make sure lifter does not make any abnormal sounds
If there are any faults or defects, the lift needs to be taken out of operation and marked ”out of order”. No parts on the Molift Air should be serviced or maintained while in use with a patient.
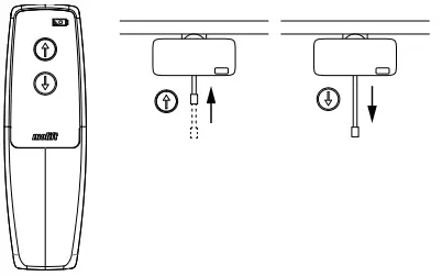
Hand control
The Hand control has 2 buttons for lifting and lowering, or 4 buttons if the hoist is equipped with propulsion. The Hand control has an indicator light that will illuminate when battery level is low and the lifter requires charging

Do not pull Hand control to move the hoist along the rail
The lift will not work if hand control is connected to a charger. Disconnect hand control from charger before operating the lift.
Mounting sling bar

- Align sling bar in connection point.
- Push button on locking pin and insert all the way through.
- Make sure locking pin is properly fastened
- Push and hold down the button on the locking pin, and pull to remove locking pin.
Emergency stop / emergency lowering
Emergency Stop
Activation and reset of emergency stop:
Pull to activate emergency stop. The button will come out, and hoist will stop.
Push with finger or use tube on cord to push button back in to reset emergency stop.

Electrical Emergency Lowering
Pull and hold to start lowering. Hold until client is lowered and can be released from sling bar.

Only for emergency use when hand control does not work!
Manual Emergency lowering
Allen key or bit for power drill can be found inside the lifter. Remove covers on both sides of the hoist to locate.

To open side covers use a screwdriver or power drill on all 8 screws (4 on each side). Turn the red “Brake Release” handle up. Locate the tools on the other side of the hoist and rotate counterclockwise to lower lifting belt. Using a power drill is recommended.
Service is NOT required if:
- the Air manual emergency down is used for a known reason, and
- the belt is undamaged, and
- the unit is operating normally after the manual emergency lowering procedure.
The new brake override will contribute to this by making emergency manual lowering less stressful to lift components.
If the unit have had a malfunction with unknown reason, and manual emergency lowering system has been used, Service is required.
Electronics
Transport and Storage
For long time storage it is recommended that the emergency stop button is activated (pulled out). The lifter can be stored and transported under temperatures between -25 – 70 °C.
Operating
The lifter is designed for use at standard room temperatures (+5 to +40°C).
Air Pressure: 70 – 106 kPa
Relative Humidity: 15 – 90 %
Following storage or transport at other temperatures leave the lifter in a room with a suitable temperature until it reaches a safe operating temperature.
Medical electrical equipment requires special precautions regarding electromagnetic compatibility (EMC). Portable or mobile radio communication equipment may affect the medical electrical equipment, and should be kept minimum 25 cm (10 inches) from the lifters electronics.
Battery and service indicator on lifter
Wrench symbol / Service indicator
Battery symbol / Battery indicator
The electrical system has a power-save function which will turn off the electrical system five minutes after last operation. All indicators will turn off.The system is activated when pushing one of the operating buttons on the hand control.
Battery indicator on hoist
When the multi level battery indicator is yellow the lifter will have sufficient power available for at least one full lifting cycle with max load. When battery is flashing yellow it is only possible to lower the sling bar.
| Battery indicator | Battery level | |
| Green | 80% or more | |
| Green | 80 – 60% | |
| Green | 60 – 40% | |
| Green | 40 – 20% | |
| Yellow | 20% – 0% | |
| Yellow flashing | 0% | |
Service indicator / Periodic inspection
The lifters electronics record the weight lifted and number of lifts. After a certain period of operation a signal is given to indicate that service is required.
| Service indicator | Mode |
| No light | No service needed |
| Yellow | Periodic inspection required |
| Green flashing | Order service |
| Red | Perform service |
Service scope
Service involves replacing the lifting belt and inspection/ replacement of worn parts. This must be carried out by authorized personnel. Service is needed when the service light is red (calculated 5.000 lifts in weight class 2). Contact Etac your local dealer, or see etac.com for a recommendation of an approved service partner.
Charging
Molift Air 500 can be charged through the hand control with a battery charger, or through the rail with In Rail Charging.
Indicator on charger and power supply indicator
| Charger indicator | Mode |
| Green flash | Not connected to hoist |
| Yellow | Charging |
| Yellow flash | Top of charge |
| Green | Fully charged |
| Power supply indicator | Mode |
| Blue | Connected to power outlet |
Hand control charging
The battery charger is plugged into a power outlet. Wall-mounted docking for hand control is available. Make shure not to damage the cable. The charger can be connected to the power outlet at all times. Use only Molift chargers. The Hand control has an indicator light that will illuminate when battery level is low and the lifter requires charging.
Charger for Molift Air hand control: Art. no.: 2540100

Transfer
Plan the lifting operation in advance to ensure that it is as safe and smooth as possible. Remember to work ergonomically. Assess the risks and take notes. The assistant is responsible for the safety of the user.
Molift Air can be used with both 2-point and 4-point sling bar for different types of transfers; sitting, recumbent or ambulating.
Using slings
It is important that the sling has been tested with the individual user and for the intended lifting situation.
Read User Manual for the sling prior to use.
Do not to use damaged or badly worn slings.
Slings made by other manufacturers
We recommend only using Molift slings. Etac shall not be liable for faults or accidents that can occur when using slings made by other manufacturers.
Lifting and lowering
When moving the client, stand to the side of the client you are lifting. Make sure that arms and legs do not obstruct the seat, bed, etc. Keep eye contact with the client to help them feel safe.

The 4-point sling bar must always be positioned across the client, to prevent the client from unintentionally sliding out of the sling.

The sling bar hook design prevents sling to be inadvertently detached when mounted correct.

- Check that the sling is correctly fitted around the client and that the strap loops are correctly fitted to the sling bar hooks.
- Stretch the sling straps without lifting the client. Ensure that all four loops of the sling are securely fastened to avoid the user slipping or falling.
- Lift client, and perform transfer.
Angle sensor
The hoist has a directional safety feature that prevents lifting if angle on lifting strap is to steep.

If the hoist doesn’t respond to Hand control “up” button, it might be because lifting strap angle is to steep, or lifting belt is twisted and sensor is activated.
Accessories
Charger cords and plugs.
Plug adapter EU, art.no 2510365
Plug adapter UK, art.no 2510366
Plug adapter US, art.no 2510367
Plug adapter AUS, art.no 2510368
Cord EU, art.no 1140105
Cord UK, art.no 1140106
Cord US, art.no 1140104
Cord AUS, art.no 1140107
Wall bracket for charger, art. no. 2610123
Sling bars
Molift Air can be used with a 4 or 8 point sling bar.

Slings
Molift supplies a wide selection of slings for different types of transfers. The Molift RgoSling sling series is developed to be combined with a 4-point sling bar but the sling also works with a 2-point sling bar. See the combination list in the slings user manual for the correct sling and sling bar combination.
The Molift RgoSling sling series is available in sizes XXS – XXL, in polyester and polyester mesh. Complete list of slings and sling bars can be found on etac.com.
Rgosling Mediumback Padded (XS-XXL)
Rgosling Highback Padded (XS-XXL)
Rgosling Mediumback Net (XXS-XXL)
Rgosling Highback Net (XXS-XXL)
Rgosling Toilet Lowback (XXS-XXL)
Rgosling Toilet Highback (XXS-XXL)
Rgosling Ampu Mediumback (XXS-XXL)
Rgosling Ampu Highback (XXS-XXL)
Rgosling Ambulating Vest
Rgosling Comfort Highback (S-L)
RgoSling Fabric Stretcher
Accessories:
Rgosling Extension Loops
Art. no.: 1721600
Rgosling Ambulating Vest Groin strap (XXS-XL
Transition coupling
Some rail systems have transition couplings ① installed. These are used for transfering the user from one rail system to another e.g. between two different rooms.

Components

- Transition coupling unit
- Transition coupling unit with pulley
- Pulley with knob
- Gate (two pcs per unit)
States

To disconnect
Before disconnecting the transition coupling, ensure trolley is min.
0.5 m away from transition coupling unit.

Pull pulley down until stop.
You hear a sound, which confirms disconnection.

The transition coupling is now disconnected.
Transfer – disconnected transition coupling
Do not perform any transfer of user before you have checked the following:
Both gates ① are visible (transition coupling unit seen from below).

Pin ② must not be visible when coupling is disconnected.

Push traverse rail in the desired direction.

To connect
Before connecting the transition coupling units, ensure trolley is min. 0.5 m away from transition coupling.

Push the traverse rail towards the stationary rail, so the transition coupling units connect, and you hear a sound.

Transfer – connected transition coupling
Do not perform any transfer of user before you have checked the transition coupling units are completly locked together. Pushing the rails apart by hand must be impossible.
The user can now be transferred from one rail to another.
Cleaning / Disinfection
Clean on a regular basis. Clean surfaces with a damp cloth using an appropriate pH-neutral detergent. Do not use solvents or strong liquids, this may damage surfaces on the lifter. For disinfection when needed; use isopropyl alcohol. Avoid abrasive cleaning products. Check emergency stop and emergency lowering after cleaning. The lift should not be exposed to running water.
Make sure not to damage or remove labels when cleaning.
The hoist and hand control have IPX4 protection class which indicates: >12.5mm protection against access to hazardous parts, and that water splashed against the enclosure from any direction shall have no harmful effects.
Caregiver and client is exposed to the following materials: Polypropilene and polyester (slings*), PC/ABS (hand control and hoist cover), powder coated aluminium, powder coated zink (sling bars). * = Applied part
In rare cases client or caregiver exposed to polypropilene and polyester may suffer from allergic reactions such as skin irritation, mild itching and skin tenderness.
Reconditioning
Follow cleaning and installation procedure, complete periodic inspection and use checklist after installation to recondition the lifter.
Recycling
Refer to “Recycling instructions” for how to properly dispose of product. This can be found on www.etac.com.
Spare parts
A list of spare parts is available on request.
Periodic inspection scope
Periodic inspection is a visual examination (particularly of the lifter’s load bearing structure and lifting mechanism with attachments, brakes, controls, safety devices and person-support devices) according to Periodic Inspection Report for Molift Air 500.
See www.etac.com.
If there is any problems with the lifter that could jeopardize someones safety, the lifter shall immediately be taken out of service and marked “out of order”. Do not use the lifter untill it is repaired. Contact you local Molift/Etac dealer/distributer to report any problems.
Periodic Inspection shall be performed at least once a year or more frequently if required by local requirements. The inspection must be performed by service personnel authorized by Etac. Contact Etac at [email protected] for training and authorization or recommendation of an approved service partner.
When performing a periodic inspection, the inspector shall fill out the inspection report for Molift Air. The reports should be retained by the person(s) responsible for servicing the lifter. If the inspection reveals defects and damages, the lifter shall be taken out of operation and marked “out of order” until it is repaired.
Troubleshooting
| Symptom | Possible Cause/Action |
| The lifter does not respond to Hand control action | Emergency Stop is activated. Deactivate by pushing button back in. |
| The lifters electronics is overheated. Wait for it to cool down. | |
| Hand control is not plugged in properly. Hand control or plug or cord can be broken an should be replaced. | |
| The lifter does not respond to Hand control up button | Lifting strap angle sensor is activated. Adjust lifting strap or move hoist to reduce lifting strap angle. |
| When using Electrical Emergency lowering the lifting band goes upwards | Lifting band has gone completely out, and has been winded the wrong way. Use manual emergency lower- ing. Send lifter to service. |
![]()
![]()
Etac A/S
Parallelvej 3
DK-8751 Gedved
www.etac.com
















