

Instruction on mounting and use
SKYDOME-PLUS-30 Ceiling Extractor

https://www.youtube.com/watch?v=r46tZBbUDMo&feature=youtu.be
The product is designed for the extraction of cooking fumes and steam and it is for domestic use only.
Strictly observe the instructions in this manual. No liability shall be accepted for any inconvenience, damage or fire caused to the product as a result of not following the instructions given in this manual. The device may have different aesthetic features with respect to the illustrations in this handbook, however the operating, maintenance and installation instructions remain the same.
- It is important to keep all the manuals accompanying the product so that they can be consulted at all times. If sold, transferred or moved, make sure it remains with the product.
- Read the instructions carefully: they contain important information on installation, operation and safety.
- Check the integrity of the product prior to its installation. Otherwise, contact the dealer and do not continue with the installation.
■ NOTES
: the parts marked with this symbol can be purchased separately from specialised dealers.
: the parts marked with this symbol are optional accessories supplied only with some models and can be purchased from the websites www.elica.com and www.shop.elica.com.
■ SAFETY AND REGULATIONS
GENERAL SAFETY
- Do not make electrical or mechanical changes on the product or on the exhaust pipes.
- Before doing any cleaning or maintenance work, disconnect the product from the mains power supply by removing the plug or turning off the mains switch.
- For all installation and maintenance operations, always wear work gloves.
- The product can be used by children over the age of 8 and by people with reduced physical, sensory or mental capabilities or without experience or the necessary knowledge, as long as they are properly supervised or have been instructed on how to safely use the device and understand the inherent dangers.
- Children must be supervised to make sure that they do not play with the product.
- Cleaning and maintenance must never be performed by children unless they are properly supervised.
- The room must have sufficient ventilation when the product is used at the same time as other appliances burning gas or other fuels.
- The product must be cleaned frequently both inside and out (AT LEAST ONCE A MONTH); always follow the instructions given in the maintenance manual.
- Failure to comply with the rules indicated for cleaning the product and replacing/cleaning the filters may result in the risk of fire.
- It is strictly forbidden to cook food on the flame under the product.
- WARNING:
- When the hob is on, the accessible parts of the product may become hot.
- Do not connect the product to the electrical power supply until the installation is complete.
- The regulations laid down by local authorities must be strictly followed with regard to the technical and safety measures to adopt for fume extraction.
- The extracted air must not be conveyed through the same ducts used to extract the fumes generated by gas combustion or other types of combustion products.
- Do not use or leave the product without appropriately installed lamps, as this may result in the risk of electric shock.
- The product must NEVER be used without the grille correctly fitted.
- The product must NEVER be used as a support surface unless expressly indicated.
- Range hoods and other cooking fume extractors may adversely affect the safe operation of appliances burning gas or other fuels (including those in other rooms) due to back flow of combustion gases. These gases can potentially result in carbon monoxide poisoning. After installation of a range hood or other cooking fume extractor, the operation of flued gas appliances should be tested by a competent person to ensure that back flow of combustion gases does not occur.
- To replace the lamp, only use the lamp indicated in the maintenance/lighting system section of this manual.
- Using a naked flame may damage the filters and cause a fire hazard, and must therefore be avoided under all circumstances.
- Extra care must be taken when frying to prevent the oil from overheating and catching fire.
- In case of doubt, contact the authorised service centre or similar qualified personnel.
INSTALLATION SAFETY
- Use the fixing screws supplied with the product only if suitable for the surface; otherwise purchase the correct type of screws.
- Check for accessories (e.g. bags containing screws, warranty certificates, etc.) inside the product (placed there for transport reasons). If there are any, remove them and keep them safe.
- WARNING: Failure to install screws and fasteners in accordance with these instructions may result in electrical hazards.
- The exhaust pipe is not supplied and must be purchased.
- The diameter of the exhaust pipe must be equivalent to the diameter of the connecting ring.
- For installation of the product on the hob, respect the height indicated in the drawings
- The minimum distance between the surface of the container supports on the cooker and the lowest part of the range hood must not be less than 70 cm (not less than 100 cm only for Australia and New Zealand) for electric cookers and 100 cm for gas or mixed cookers.
- If the installation instructions of the gas cooker specify a greater distance, take it into account.
Checking the ceiling for first installation:
- The ceiling must be flat, horizontal and sufficiently solid and strong.
- The hood is designed to be installed in a false ceiling. The false ceiling must be solid and have an adequate load capacity for a product weighing max. 35 kg. Do not install the hood directly in the false ceiling panels, but use a suitable frame or support.
ELECTRICAL CONNECTION SAFETY
- The mains voltage must correspond to the voltage indicated on the label found inside the product.
- If it features a plug, connect the product to a socket that complies with current standards, located in an area accessible even after installation.
- If it does not feature a plug (direct connection to the mains) or the plug is not located in an accessible area, even after installation, apply a standard double pole switch that ensures complete disconnection from the mains in category III overvoltage conditions, in accordance with the installation rules.
- The product features a special power cable; if the cable is damaged, contact the Service Centre for a replacement.
- Please note! Before reconnecting the circuit to the mains power supply, make sure that it is working correctly, always check that the power cable is correctly installed. WINDOWS KIT: The product can also be used in conjunction with a Window sensor KIT (not supplied by the manufacturer). If the Window sensor KIT is installed (only if used in DUCT-OUT mode), air extraction will halt every time the window in the room, on which the KIT is applied, is closed. The KIT must be electrically connected to the device by qualified and specialised technical personnel. The KIT must be certified separately in accordance with the safety standards for the component and its use with the device. Installation must be carried out in accordance with current regulations for domestic systems. PLEASE NOTE: the wiring of the KIT to be connected to the product must be part of a certified safety extralow voltage (SELV) circuit. The manufacturer of this device disclaims all liability for any inconvenience, damage or fires caused by defects and/or problems associated with the malfunction and/or incorrect installation of the KIT. Please note! Do not use with a programmer, timer, separate remote control or any other device that activates automatically.
■ RECOMMENDATIONS FOR USE
Recommendations for correct use in order to reduce the impact on the environment: When cooking begins, the device should be turned on at minimum speed, and left on for a few minutes even after cooking is complete. Increase the speed only if there is a large quantity of fumes and steam, using the Booster function only in extreme cases.
To keep the odour reduction system running efficiently, replace the carbon filter/s when necessary. To ensure the high performance of the grease filter, clean it when necessary. To improve efficiency and minimise noise, use the maximum duct diameter indicated in this manual.
■ END-OF-LIFE DISPOSAL
This device is marked in compliance with the European Directive 2012/19/EC – UK SI 2013 No.3113, Waste Electrical and Electronic Equipment (WEEE). Make sure that this product is disposed of correctly. The user helps prevent potential negative consequences for the environment and for health.
The symbol on the product or accompanying documentation indicates that this product should not be treated as household waste but should be handed over at a suitable collection point for the recycling of electrical and electronic equipment. Dispose of it in accordance with local regulations for waste disposal. For further information about the treatment, recovery and recycling of this product, please contact your local authority, the collection service for household waste or the shop from where the product was purchased.
■ REGULATIONS
Equipment designed, tested and manufactured in compliance with safety regulations: EN/IEC 60335-1; EN/ IEC 60335-2- 31, EN/IEC 62233. Performance: EN/IEC 61591; ISO 5167-1; ISO 5167-3; ISO 5168; EN/IEC 60704-1; EN/IEC 60704-2-13;EN/IEC 60704-3; ISO 3741; EN 50564; IEC 62301. EMC: EN 55014-1; CISPR 14-1; EN 55014-2; CISPR 14-2; EN/IEC 61000-3-2; EN/IEC 61000-3-3.
■ USE
The hood is made to be used in the suction version with external evacuation.
ATTENTION!: The pipes are not supplied and must be purchased separately.
Vapours are evacuated outside through an exhaust pipe attached to the connecting flange.
CAUTION! If the product features one or more carbon filters, they must be removed.
The use of pipes and outlet holes in the wall with a smaller diameter will reduce the extraction performance and drastically increase the noise level.
All responsibility in this regard is therefore denied.
- Use a ducting pipe with the shortest length necessary.
- Use a ducting pipe with the least number of bends possible (maximum bend angle: 90°).
- Avoid drastic changes in the ducting pipe diameter.
■ ELICA CONNECT
The hood features a Wi-Fi function for remote connection via the Elica Connect App. Minimum system requirements:
- 2.4GHz Wi-Fi b/g/n wireless router
- Android or iOs Smartphone. Via the stores, check that the app is compatible with the operating system your Smartphone is running.
Note: The ELICA manufacturer declares that this model of household appliance with WiFi module radio equipment complies with Directive 2014/53/EU. The radio equipment operates within the 2.4GHz ISM frequency band, the maximum radio frequency power transmitted does not exceed 20 dBm (e.i.r.p.).
Warnings:
- Data protection: The data that the connected device detects is collected to allow for all the services of the connected appliance to be used. Further information on how the collected data is processed and on the privacy policy is available at www.elica.com.
- Availability in different countries: The Elica Connect service is available in specific countries. For further information, see the dedicated section
at www.elica.com or check for availability from your Smartphone store by searching for the Elica Connect App. - Future changes: Elica reserves the right to make any changes deemed useful to improve the Elica Connect service. As a result, the descriptions contained in this manual are not binding and should be treated as purely indicative.
OPERATION
CONTROL PANEL

■ THINGS TO KNOW BEFORE STARTING
This product requires some preliminary operations before being used:
● NECESSARY OPERATION:
Radio Control pairing.
This product is designed to work with the Elica Radio Control only. In order to be able to use this product, the Radio Control must be paired.
Depending on the product purchased, you will find one of the two Radio Controls shown in the figure:
Radio Control 1:

Radio Control 2:

The pairing instructions are given in the manual supplied with the Radio Control.
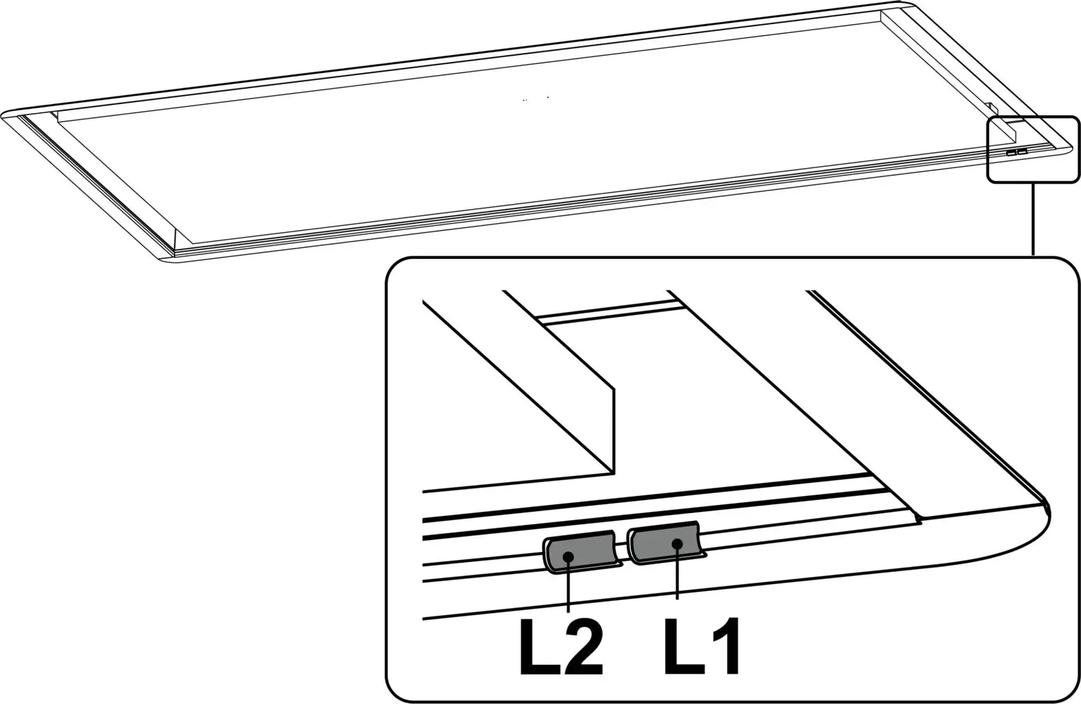
When the Radio Control has been paired, both LEDs L1 and L2 on the hood will flash White.
Attention!: the main functions are indicated in the Radio Control manual; the manual also contains other indications of use and other functions with an explanation of how to activate them using the Radio Control. In cases where no reference is made to a specific Radio Control, the indications are valid for both.
Note: The two Radio Controls are interchangeable, so it is always possible to purchase the one not included with the product from the store at www.elica.com.
● OPTIONAL OPERATION:
Hob selection.
The product is designed to adapt its performance in the best way possible according to the hob on which it works.
By Default, the product is set to work with GAS hobs.
To change this setting, after pairing the Radio Control, see the chapter “Hob settings”.
● AUTOMATIC OPERATION:
VOC sensor calibration
If the optional hob selection operation is NOT performed, the VOC sensor calibration starts automatically 2min. after the product has been connected to the mains.
Calibration lasts 5 min. LED L1 flashes Green and switches off at the end of the calibration procedure. Please note! During calibration, the motor is switched on at speed 1. For more details on the VOC sensor, refer to the chapters dedicated to this function below.
USING THE CONTROLS
● Suction speed
This product is equipped with 5 suction speeds including 2 timed booster speeds:
Booster 1 (speed 4) timed 15 min.
Booster 2 (speed 5) timed 5 min.
After the minutes indicated above, the suction speed will go back to speed 2 automatically.
● Delay off
Using the Radio Control, it is possible to program the delayed switch-off according to the suction speed (power) active at that time; the speeds at which this function can be enabled are the following:
Speed 1 (low extraction): 20 min.
Speed 2 (medium extraction): 15 min.
Speed 3 (high extraction): 10 min.
Note (only for products with Wi-Fi function): The Delay off function can be programmed in a more advanced way, when connected to the Elica Cloud, via the Elica Connect App. However, in this case, it will not be possible to manage the Delay off function from the Radio Control, until the Wi-Fi is reset or switched off.
● Activating/Deactivating the filter saturation indicator light
To be performed with the product switched off. The carbon filter saturation indicator light is usually deactivated, while the grease filter saturation indicator light is usually activated.
With Radio Control 1:
Odour Filter: Simultaneously press keys A+B+D for 2 sec. each press switches sequentially from active to inactive. (Active = LED L1 steady Red and LED L2 flashing Red. Inactive = LED L1 steady Red and LED L2 Off) Grease Filter: Simultaneously press keys A+B+C for 2 sec. each press switches sequentially from active to inactive. (Active = LED L1 steady Orange and LED L2 flashing Orange. Inactive = LED L1 steady Orange and LED L2 Off)
Wait 10 sec. to save the chosen setting.
With Radio Control 2:
This procedure is described in the Radio Control manual.
Wait 10 sec. to save the chosen setting.
● Filter saturation indicator lights
The LEDs on the hood indicate the need to perform maintenance on the filters.
Odour filter: L1 + L2 flashing Red.
Grease filter: L1 + L2 flashing Orange.
Note: The filter saturation indication is visible for 10 sec. when the hood is switched on. After performing maintenance on the filters, it is necessary to perform the filter saturation reset.
● Filter saturation reset
This operation must be performed within the first 10sec. after switching on the product.
The procedure is described in the Radio Control manual.
Note: If there are two active warnings, for both grease and odour filters, the operation must be performed twice.
● Automatic suction speed function (VOC function):
This product is equipped with a sensor (VOC sensor) that modulates the suction speed automatically according to the amount of smoke detected.
This function must be enabled manually via the Radio Control or via the Elica Connect App.
When the function is active, LED L1 will light up White.
Once activated, if the sensor detects no smoke for a few minutes, the motor will be switched off.
Note: The function will still remain active and if within the next 2 hours the sensor detects some steam, the motor will be restarted automatically. After 2 continuous hours without detecting any smoke, the function is disabled. It is always possible to disable this function manually, at any time, via the Radio Control or via the Elica Connect App.
● VOC sensor calibration:
Calibration is necessary to allow the product sensor to work correctly; calibration is performed in two ways:
Automatic: each time the hood is reconnected to the mains (e.g. the first time it is installed or after a power failure).
Manual: Manual calibration requires that the product motor is OFF and that normal environmental conditions persist in the room where it is installed. This operation must be performed when automatic operation is unsatisfactory.
With Radio Control 1:
Simultaneously press A+D for 2 sec.
With Radio Control 2:
This procedure is described in the Radio Control manual.
During calibration, LED L1 flashes Green.
To cancel the current calibration, repeat the procedure used to start the calibration.
● Hob settings (for VOC sensor)
To use the VOC function in the best way possible, it is necessary to select the correct type of hob from those available: GAS – Induction or Electric.
By Default, the hob is set to GAS.
This setting requires that the product motor is OFF and that the VOC sensor is deactivated.
With Radio Control 1:
Simultaneously press keys B+D for 2 sec. an acoustic signal will indicate that you have entered the hob setting menu. From here, use the keys B and
C to scroll back and forth to select the desired hob. Each time the key is pressed, a type of hob will be selected; LED L1 will light up in a different colour according to the selected hob: Green = Gas; Yellow = Electric; Cyan = Induction.
With Radio Control 2:
Simultaneously press keys A+D for 2 sec. From here, use the keys B and C to scroll back and forth to select the desired hob. Each time the key is pressed, a type of hob will be selected; LED L1 will light up in a different colour according to the selected hob: Green = Gas; Yellow = Electric; Cyan = Induction.
Note: after resetting the hob type, to a type other than the Default one or the previous one, an automatic calibration of the VOC sensor will start. See the chapter on this function.
■ CONTROLLING THE PRODUCT VIA WI-FI
The are two product control modes via Wi-Fi; to do this, it is necessary to download the Elica Connect App and follow the instructions given.
- Elica Cloud mode
This feature allows the product to be controlled from a mobile device, even when away from home. - Direct Control mode
This feature allows the product to be controlled from a mobile device, as if it were the Radio Control.
● Wi-Fi configuration:
Follow the instructions provided in the Elica Connect App for the Wi-Fi configuration. During the configuration procedure, LED L2 will light up indicating the connectivity status (see the Wi-Fi status table below). To interrupt the Wi-Fi configuration procedure, press key A on the Radio Control for about 2 sec. when LED L2 on the hood is lit up and is flashing fast.
● Wi-Fi configuration reset:
This operation is used to reset the product to the factory configuration.
With Radio Control 1: press keys A+B for 2 sec.
With Radio Control 2: press keys D+E for 2 sec.
Note: The password and all other settings made from the Elica Connect App will be reset and will need to be set again.
● Wi-Fi On/Off:
After the configuration, the Wi-Fi can be switched on / off. With Radio Control 1:
Press key A for 2 sec.
With Radio Control 2:
This procedure is described in the Radio Control manual.
Note: Switching off the Wi-Fi with this procedure does not result in the loss of the previously saved parameters.
WI-FI STATUS TABLE
| LED L2 | Wi-Fi Status |
| Light off | WiFi not configured or off |
| Steady white light | WiFi connected |
| Fast flashing orange light | Attempt to connect to the WiFi router |
| Slow flashing orange light | Attempt to connect to the Elica Cloud (in Cloud mode) |
| White light on with brief flashing | Remote command being recei-ved: motor on or light on, etc. |
| Steady orange light | Direct mode with App temporarily disconnected. (in Direct mode) |
■ MAINTENANCE WARNINGS
- Cleaning: For cleaning, simply use a cloth moistened with neutral liquid detergents. Do not use cleaning tools or instruments.
- Avoid the use of abrasive products. DO NOT USE ALCOHOL!
For product maintenance, see the images at the end of the installation marked by this symbol.
Anti-Grease Filter: The metallic anti-grease filter must be cleaned once a month with non-aggressive detergents, manually or in a dishwasher on a short wash at low temperatures. To remove the anti-grease filter, pull the spring release handle.- The Anti-Grease Filter traps the grease particles produced during cooking. When cleaned in the dishwasher, the metal grease filter may discolour, but its filtering characteristics remain unchanged.
- Perimeter suction panel: The perimeter suction panel should always be left closed and should only be opened in case of maintenance (e.g. cleaning or replacing the filters).
Illumination
- Lighting system : The lighting system cannot be replaced by the user, contact Customer Service in case of malfunction.
- The lighting system is based on LED technology. LEDs provide optimal illumination, last up to 10 times longer than conventional lamps and save 90% of electricity.


www.elica.com
www.shop.elica.com























The versatility of features that range from lighting, to suction and cooking, helps create products that were born to amaze.
High-quality materials, careful attention to detail, strong passion for design each in their core essence play a leading role in our products capable of transmitting emotions.
Elica, aria nuova
FRAME AND DISCOVER
https://www.youtube.com/watch?v=r46tZBbUDMo&feature=youtu.be
www.elica.com
Lib018248 Ed. 12/22














