WMDK001WN Multi Device Keyboard
User Manual
SPECIFICATIONS

- Built-in tablet/smartphone stand
- Brightness controls
- Multi screen display
- Audio controls
- On/off switch
- Battery indicator light
- Wireless device selector
- Calculator
- USB-A receiver
Note: Available size for tablet smart phone stand, Depth: below 10mm, Width: below 363mm
2.4G WIRELESS CONNECTION GUIDE
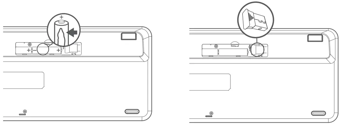
- Open the battery compartment cover.

- Place the ?AAA batteries(included) into the battery compartment as per correct polarity, then take out the receiver and close the cover.

- Plug the receiver into the USE. port

- Turn on the power switch. of a PC.

Note: The factory default setting of the connection mode of keyboard is 2.4G mode. If the connection is successful, the 2.4G mode indicator will automaticaly turn off.
KEYBOARD BLUETOOTH CONNECTION GUIDE
Note: Make sure that the keyboard power is ON before Bluetooth pairing.

- Select the Bluetooth mode to be connected. long press the Bluetooth mode switch key, and the corresponding indicator on the top will flash quickly, and then enter the waiting for Bluetooth pairing.
- Turn on the Bluetooth of your computer or other devices, search and select “BT3.0 ” or “BT5.0 ” and start Bluetooth pairing until the connection is completed.
Note:
- Bluetooth 5.0 do not support on Windows 7 and below, you can change to Bluetooth 3.0 to use.
MODE SWITCHING METHOD OF THE KEYBOARD

- The keyboard has three channels. 2.4G. Bluetooth 1 and Bluetooth 2, which can connect three devices at the same time.
- Mode switching. Short press the mode switch button. the corresponding mode indicator on the top wil be on, after being connected successfully it will be off. The switch to the corresponding equipment is completed. If the mode indicator is flashing slowly, it means that the mode has not been connected successfully.
iOS/MAC/WIN LAYOUT SWITCH
Press and hold for 3 seconds to switch the system layout.

Note: The default setting is Windows layout.
To “wake up” the keyboard from sleep mode, press any key.
F1-F121 MULTIMEDIA FUNCTION SWITCH
- The factory default setting of F1-F12/ multimedia function keys is multimedia function.

- Press this key combination and switch to F1-F12 function. Press it again to switch back to multimedia function.

PACKAGING CONTENTS
- Wireless keyboard
- USB-A 2.0 receiver
- 2xAAA batteries
- Instruction manual
SYSTEM REQUIREMENT
- USB port
- Bluetooth 3.0/Bluetooth 5.0
- Windows® 7 or later, Android 3.2 and above; Mac OS 10.5 or later.
Note: Multimedia functions are partially invalid in different OS versions.
TECHNICAL SPECIFICATIONS
- Connectivity: 2.4GHz/Bluetooth 3.0/Bluetooth 5.0
- Working distance: 2.4GHz about 20m/Bluetooth about 10m
- Power supply: 2* AAA battery
- Interface: USB wireless receiver
- Keyboard size: 394x145x23mm
- Rating: 3V
2.5mA
TROUBLESHOOTING
- Make sure that the USB wireless receiver of the product is correctly plugged into the USB port of the computer.
- Make sure the computer meets the minimum system requirement.
- If the distance between the product and the receiver exceeds an effective range, please reduce the distance for better performance.
• Windows is a trademark of the Microsoft Corporation in the United States and other countries.
• Mac and MacOS are trademarks of Apple Inc., registered in the U.S. and other countries.
• The Bluetooth® word mark and logos are registered trademarks owned by Bluetooth SIG, Inc. and any use of such marks by Officeworks Ltd is under license.
• Android is a trademark of Google LLC.
• IOS is a trademark or registered trademark of Cisco in the U.S. and other countries and is used under license.
NOTE: This equipment has been tested and found to comply with the limits for a Class B digital device, pursuant to part 15 of the FCC Rules. These limits are designed to provide reasonable protection against harmful interference in a residential installation. This equipment generates uses and can radiate radio frequency energy and, if not installed and used in accordance with the instruction s,may cause harmful interference to radio communications. However, there is no guarantee that interference will not occur in a particular installation. If this equipment does cause harmful interference to radio or television reception, which can be determined by turning the equipment off and on, the user is encouraged to try to correct the interference by one or more of the following measures:
- Reorient or relocate the receiving antenna.
- Increase the separation between the equipment and receiver.
- Connect the equipment into an outlet on a circuit different from that to which the receiver is connected.
- Consult the dealer or an experienced radio/TV technician for help
Changes or modifications not expressly approved by the party responsible for compliance could void the user’s authority to operate the equipment.
This device complies with Part 15 of the FCC Rules. Operation is subject to the following two conditions:
- this device may not cause harmful interference, and
- this device must accept any interference received, including interference that may cause undesired operation
Risk of fire or explosion if the battery is replaced by an incorrect type
waltonbd.com
Product of ![]()
























